WIPER SWITCH INSPECTION

PROCEDURE


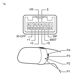
  1. INSPECT WINDSHIELD WIPER SWITCH ASSEMBLY (for LHD)


    1. B006YE9C01
      *a

      Component without harness connected

      (Windshield Wiper Switch Assembly)

      Measure the resistance according to the value(s) in the table below.

      Standard Resistance
      Front Wiper Switch
      Tester Connection Condition Specified Condition
      14 (MIST) - 5 (E) MIST position Below 1 Ω
      Except MIST position 10 kΩ or higher
      10 (W-OFF) - 5 (E) OFF position Below 1 Ω
      Except OFF position 10 kΩ or higher
      13 (+S) - 5 (E) AUTO position*1 Below 1 Ω
      INT position*2
      Except AUTO position*1 10 kΩ or higher
      Except INT position*2
      11 (+1) - 5 (E) LO position Below 1 Ω
      Except LO position 10 kΩ or higher
      12 (+2) - 5 (E) HI position Below 1 Ω
      Except HI position 10 kΩ or higher
      Front Washer Switch
      Tester Connection Condition Specified Condition
      15 (WF) - 5 (E) ON position Below 1 Ω
      OFF position 10 kΩ or higher
      Auto Sensitivity Adjustment Switch*1
      Tester Connection Condition Specified Condition
      4 (VR) - 5 (E) P1 position 1102 to 1218 Ω
      P2 position 570 to 630 Ω
      P3 position 256.5 to 283.5 Ω
      P4 position Below 1 Ω
      Intermittent Time Adjustment Switch*2
      Tester Connection Condition Specified Condition
      4 (VR) - 5 (E) P1 position 1102 to 1218 Ω
      P2 position 570 to 630 Ω
      P3 position 256.5 to 283.5 Ω
      P4 position Below 1 Ω

      • *1: w/ Auto Wiper System

      • *2: w/o Auto Wiper System

      If the result is not as specified, replace the windshield wiper switch assembly.

  2. INSPECT WINDSHIELD WIPER SWITCH ASSEMBLY (for RHD)


    1. B006ZI2C01
      *a

      Component without harness connected

      (Windshield Wiper Switch Assembly)

      Measure the resistance according to the value(s) in the table below.

      Standard Resistance
      Front Wiper Switch
      Tester Connection Condition Specified Condition
      11 (MIST) - 4 (E) MIST position Below 1 Ω
      Except MIST position 10 kΩ or higher
      15 (W-OFF) - 4 (E) OFF position Below 1 Ω
      Except OFF position 10 kΩ or higher
      12 (+S) - 4 (E) AUTO position*1 Below 1 Ω
      INT position*2
      Except AUTO position*1 10 kΩ or higher
      Except INT position*2
      14 (+1) - 4 (E) LO position Below 1 Ω
      Except LO position 10 kΩ or higher
      13 (+2) - 4 (E) HI position Below 1 Ω
      Except HI position 10 kΩ or higher
      Front Washer Switch
      Tester Connection Condition Specified Condition
      10 (WF) - 4 (E) ON position Below 1 Ω
      OFF position 10 kΩ or higher
      Auto Sensitivity Adjustment Switch*1
      Tester Connection Condition Specified Condition
      5 (VR) - 4 (E) P1 position 1102 to 1218 Ω
      P2 position 570 to 630 Ω
      P3 position 256.5 to 283.5 Ω
      P4 position Below 1 Ω
      Intermittent Time Adjustment Switch*2
      Tester Connection Condition Specified Condition
      5 (VR) - 4 (E) P1 position 1102 to 1218 Ω
      P2 position 570 to 630 Ω
      P3 position 256.5 to 283.5 Ω
      P4 position Below 1 Ω

      • *1: w/ Auto Wiper System

      • *2: w/o Auto Wiper System

      If the result is not as specified, replace the windshield wiper switch assembly.