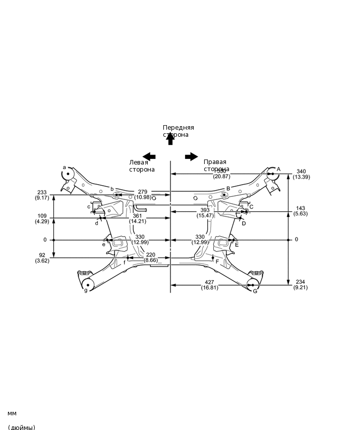
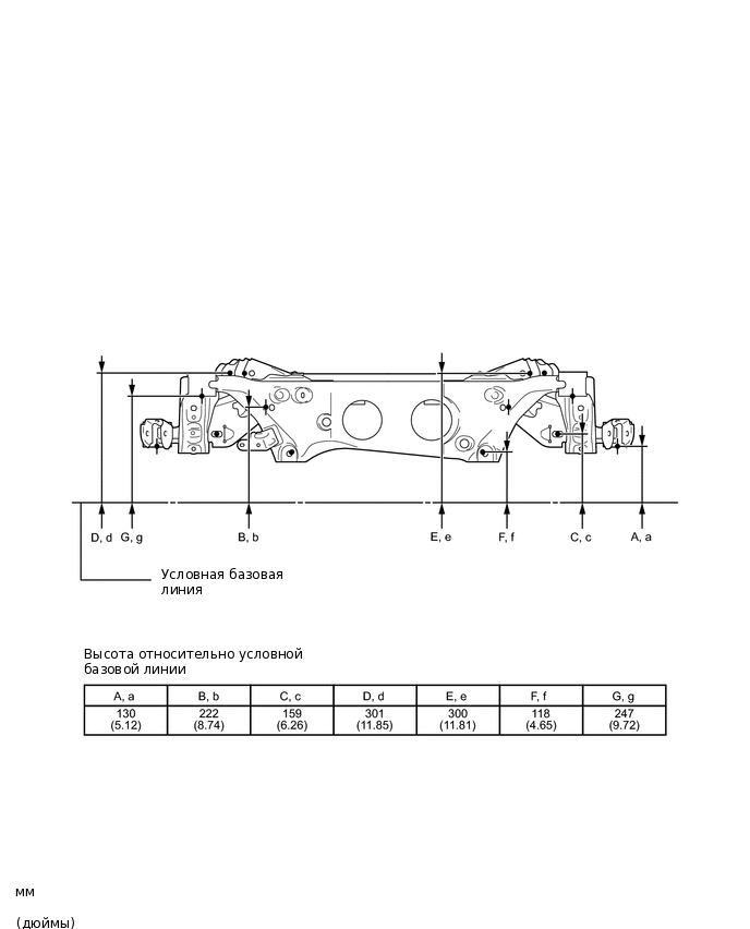
ПОДРАМНИК ЗАДНЕЙ ПОДВЕСКИ РАЗМЕРЫ В ДВУМЕРНОЙ СИСТЕМЕ КООРДИНАТ

Tip:
  • Размеры указываются в местах, где стрелки, исходящие из нулевой точки, пересекают линии, которые выходят из каждой точки и продолжаются за пределы рисунка.

  • Если указан только один размер, значит левая и правая стороны симметричны.

  • В обозначениях прописные буквы соответствуют правой стороне автомобиля, а строчные – левой стороне (если смотреть сзади).

Table 1. Наименования контрольных точек

Схематическое обозначение

Наименование

Диаметр отверстия

мм (дюйм,)

A, a

Отверстие для крепления подрамника задней подвески

φ60 (2,36)

B, b

Стандартное отверстие для подрамника задней подвески

φ10 (0,39)

C, c

Отверстие для крепления нижнего рычага задней подвески

14,5 X 25 (0,57 X 0,98)

D, d

Установочное отверстие верхнего рычага задней подвески

φ13,5 (0,53)

E, e

Установочное отверстие верхнего рычага задней подвески

φ13,5 (0,53)

F, f

Отверстие для крепления нижнего рычага задней подвески

φ12,5 (0,49)

G, g

Отверстие для крепления подрамника задней подвески

φ60 (2,36)

K139448E01
K139449E01