AUTOMATIC HEADLIGHT BEAM LEVEL CONTROL SYSTEM Headlight Beam Level Control Actuator Circuit

DTC Code DTC Name
Headlight Beam Level Control Actuator Circuit

DESCRIPTION

The headlight leveling ECU actuates the headlight leveling motors according to the vehicle conditions.

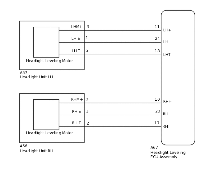
WIRING DIAGRAM

E227419E09

CAUTION / NOTICE / HINT

Tip:

After replacing the headlight leveling ECU, initialization of the ECU is necessary.

Click here

PROCEDURE

  1. PERFORM ACTIVE TEST USING GTS (HEADLIGHT LEVELING MOTOR)

    1. Using the GTS, perform the Active Test.

      Click here

      Body Electrical > HL AutoLeveling > Active Test

      Tester Display

      Measurement Item

      Control Range

      Diagnostic Note

      Drive The Leveling Motor

      Leveling motor

      Up, Down or Stop

      -

      Body Electrical > HL AutoLeveling > Active Test

      Tester Display

      Drive The Leveling Motor

    Result

    Proceed to

    Headlight leveling motors operate normally

    Headlight leveling motors do not operate normally

    Headlight leveling motors operate normally

    PROCEED TO NEXT SUSPECTED AREA SHOWN IN PROBLEM SYMPTOMS TABLE

    Headlight leveling motors do not operate normally
  2. CHECK HARNESS AND CONNECTOR (HEADLIGHT UNIT - HEADLIGHT LEVELING ECU ASSEMBLY)

    1. Disconnect the A67 headlight leveling ECU connector.

    2. Disconnect the A57*1 or A56*2 headlight leveling motor connector.

      • *1: for LH

      • *2: for RH

    3. Measure the resistance according to the value(s) in the table below.

      Standard Resistance

      for LH

      Tester Connection

      Condition

      Specified Condition

      A67-11 (LH+) - A57-3 (LHM+)

      Always

      Below 1 Ω

      A67-18 (LHT) - A57-2 (LH T)

      Always

      Below 1 Ω

      A67-24 (LH-) - A57-1 (LH E)

      Always

      Below 1 Ω

      A67-11 (LH+) - Body ground

      Always

      10 kΩ or higher

      A67-18 (LHT) - Body ground

      Always

      10 kΩ or higher

      A67-24 (LH-) - Body ground

      Always

      10 kΩ or higher

      for RH

      Tester Connection

      Condition

      Specified Condition

      A67-10 (RH+) - A56-3 (RHM+)

      Always

      Below 1 Ω

      A67-17 (RHT) - A56-2 (RH T)

      Always

      Below 1 Ω

      A67-23 (RH-) - A56-1 (RH E)

      Always

      Below 1 Ω

      A67-10 (RH+) - Body ground

      Always

      10 kΩ or higher

      A67-17 (RHT) - Body ground

      Always

      10 kΩ or higher

      A67-23 (RH-) - Body ground

      Always

      10 kΩ or higher

    Result

    Proceed to

    OK

    NG

    NG

    REPAIR OR REPLACE HARNESS OR CONNECTOR

    OK
  3. CHECK HEADLIGHT LEVELING ECU ASSEMBLY

    1. Temporarily replace the headlight leveling ECU with a new or normally functioning one.

      Click here

    2. Perform the Active Test of the leveling motors.

      Click here

      Body Electrical > HL AutoLeveling > Active Test

      Tester Display

      Measurement Item

      Control Range

      Diagnostic Note

      Drive The Leveling Motor

      Leveling motor

      Up, Down or Stop

      -

      Body Electrical > HL AutoLeveling > Active Test

      Tester Display

      Drive The Leveling Motor

    Result

    Proceed to

    Headlight leveling motors operate normally

    Headlight leveling motors do not operate normally

    Headlight leveling motors operate normally

    END (HEADLIGHT LEVELING ECU WAS DEFECTIVE)

    Headlight leveling motors do not operate normally

    REPLACE HEADLIGHT UNIT