POWER MIRROR CONTROL SYSTEM Mirror Heater does not Operate with Rear Defogger Switch

DESCRIPTION

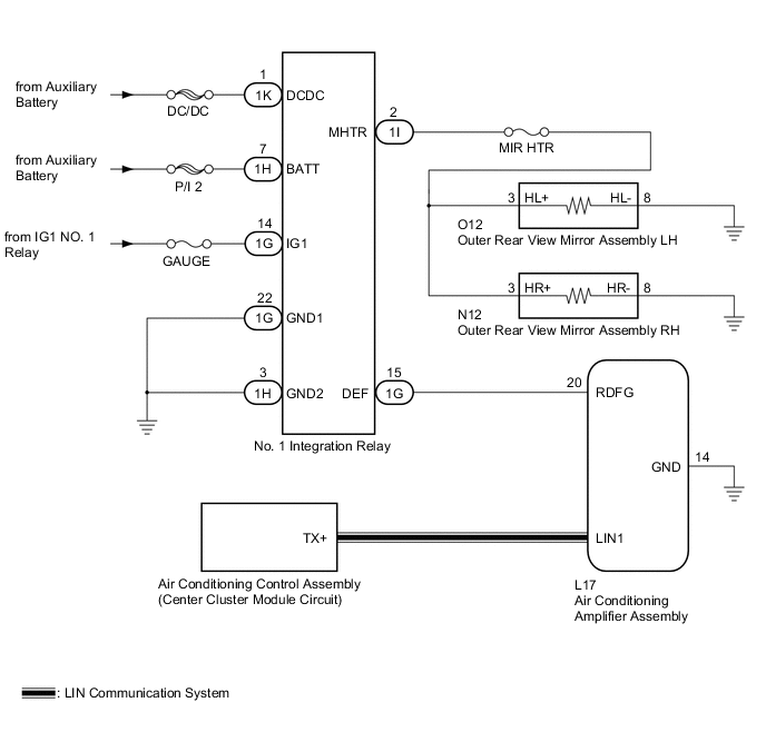
When the mirror heater switch (rear window defogger switch) on the air conditioning control assembly (center cluster module circuit) is pressed, the operation signal is transmitted to the air conditioning amplifier assembly through a LIN communication line. When the air conditioning amplifier assembly receives the signal, it turns on the No. 1 integration relay to operate the mirror heater.

WIRING DIAGRAM

B005YPPE02

CAUTION / NOTICE / HINT

Note


  • Inspect the fuses for circuits related to this system before performing the following inspection procedure.

  • If the auxiliary battery voltage becomes low, mirror heater operation is canceled to prioritize supplying power to the power steering system.

PROCEDURE


  1. CHECK WINDOW DEFOGGER SYSTEM


    1. Check the rear window defogger operation.

      OK
      The rear window defogger operates normally.

    NG
    OK
  2. PERFORM ACTIVE TEST USING GTS


    1. Connect the GTS to the DLC3.

    2. Turn the power switch on (IG).

    3. Turn the GTS on.

    4. Enter the following menus: Body Electrical /Air Conditioner / Active Test.

    5. Perform an Active Test according to the display on the GTS.

      Air Conditioner (Air Conditioning Amplifier Assembly)
      Tester Display Test Part Control Range Diagnostic Note
      Defogger Relay (Rear) Mirror heater OFF/ON Operate with power switch on (IG)
      Result
      Result Proceed to
      Mirror heater operation on both mirrors is normal A
      Mirror heater operation on both mirrors is not normal B
      Mirror heater operation on RH mirror is not normal C
      Mirror heater operation on LH mirror is not normal D

    A
    C
    D
    B
  3. CHECK HARNESS AND CONNECTOR (NO. 1 INTEGRATION RELAY - OUTER REAR VIEW MIRROR ASSEMBLY LH)


    1. Remove the No. 1 integration relay Click here.

    2. Disconnect the O12 outer rear view mirror assembly LH connector.

    3. Disconnect the N12 outer rear view mirror assembly RH connector.

    4. Measure the resistance according to the value(s) in the table below

      Standard Resistance
      Tester Connection Condition Specified Condition
      1I-2 (MHTR) - O12-3 (HL+) Always Below 1 Ω
      1I-2 (MHTR) - Body ground Always 10 kΩ or higher

    OK
    NG
  4. CHECK HARNESS AND CONNECTOR (NO. 1 INTEGRATION RELAY - OUTER REAR VIEW MIRROR RH - BODY GROUND)


    1. Remove the No. 1 integration relay Click here.

    2. Disconnect the O12 outer rear view mirror assembly LH connector.

    3. Disconnect the N12 outer rear view mirror assembly RH connector.

    4. Measure the resistance according to the value(s) in the table below

      Standard Resistance
      Tester Connection Condition Specified Condition
      1I-2 (MHTR) - N12-3 (HR+) Always Below 1 Ω
      1I-2 (MHTR) - Body ground Always 10 kΩ or higher
      N12-8 (HR-) - Body ground Always Below 1 Ω

    OK
    NG
  5. CHECK HARNESS AND CONNECTOR (NO. 1 INTEGRATION RELAY - OUTER REAR VIEW MIRROR LH - BODY GROUND)


    1. Remove the No. 1 integration relay Click here.

    2. Disconnect the O12 outer rear view mirror assembly LH connector.

    3. Disconnect the N12 outer rear view mirror assembly RH connector.

    4. Measure the resistance according to the value(s) in the table below

      Standard Resistance
      Tester Connection Condition Specified Condition
      1I-2 (MHTR) - O12-3 (HL+) Always Below 1 Ω
      1I-2 (MHTR) - Body ground Always 10 kΩ or higher
      O12-8 (HL-) - Body ground Always Below 1 Ω

    OK
    NG