БЛОК АВТОМАТИЧЕСКОЙ ТРАНСМИССИИ ПОВТОРНАЯ СБОРКА
ПРЕДОСТЕРЕЖЕНИЕ / ПРИМЕЧАНИЕ / УКАЗАНИЕ
Проверьте положение и направление установки всех подшипников.
Метка |
Диаметр переднего кольца Внутренний / Наружный, мм (дюйм) |
Диаметр упорного подшипника Внутренний / Наружный, мм (дюйм) |
Диаметр заднего кольца Внутренний / Наружный, мм (дюйм) |
|---|---|---|---|
А |
- |
57,7 (2,27) / 75,2 (2,96) |
- |
B |
- |
29,1 (1,15) / 48 (1,89) |
30,7 (1,21) / 48,3 (1,90) |
C |
- |
62,6 (2,46) / 82,4 (3,24) |
65,9 (2,59) / 80,3 (3,16) |
D |
59,4 (2,34) / 77 (3,03) |
53,1 (2,09) / 79 (3,11) |
- |
E |
- |
56,1 (2,21) / 80,9 (3,19) |
- |
F |
- |
61,2 (2,41) / 79 (3,11) |
- |
G |
- |
28 (1,10) / 47,1 (1,85) |
26,1 (1,03) / 44 (1,73) |
H |
52,2 (2,06) / 70,4 (2,77) |
48,9 (1,93) / 72,0 (2,83) |
- |
ПОРЯДОК ВЫПОЛНЕНИЯ
УСТАНОВИТЕ ПОДШИПНИК ПРОМЕЖУТОЧНОЙ ПРИВОДНОЙ ШЕСТЕРНИ
Tip:Выполняйте эту процедуру только в случае необходимости замены подшипника промежуточной приводной шестерни или картера трансмиссии в блоке с главной передачей в сборе.
-
С помощью SST и пресса установите новый подшипник промежуточной приводной шестерни (наружное кольцо) и пружинное стопорное кольцо в картер трансмиссии.
09950-60020
09951-01030
09950-70010
09951-07100
-
УСТАНОВИТЕ НАРУЖНОЕ КОЛЬЦО ЗАДНЕГО КОНИЧЕСКОГО РОЛИКОВОГО ПОДШИПНИКА КОРПУСА ПЕРЕДНЕГО ДИФФЕРЕНЦИАЛА
-
С помощью SST и молотка установите новое наружное кольцо заднего конического роликового подшипника корпуса переднего дифференциала в картер трансмиссии в блоке с главной передачей.
09950-60020
09951-00790
09950-70010
09951-07150
Note:Наружное кольцо заднего конического роликового подшипника корпуса переднего дифференциала должно устанавливаться таким образом, чтобы между ним и картером трансмиссии не было зазора.
-
УСТАНОВИТЕ НАРУЖНОЕ КОЛЬЦО ПЕРЕДНЕГО КОНИЧЕСКОГО РОЛИКОВОГО ПОДШИПНИКА КОРПУСА ПЕРЕДНЕГО ДИФФЕРЕНЦИАЛА
Установите шайбу на кожух трансмиссии.
-
С помощью SST и молотка установите новое наружное кольцо переднего конического роликового подшипника корпуса переднего дифференциала в кожух трансмиссии в блоке с главной передачей.
09950-60010
09951-00480
09950-70010
09951-07150
Note:Наружное кольцо переднего конического роликового подшипника корпуса переднего дифференциала должно устанавливаться таким образом, чтобы между ним, шайбой и кожухом трансмиссии не было зазора.
УСТАНОВИТЕ ВНУТРЕННЕЕ КОЛЬЦО ЗАДНЕГО КОНИЧЕСКОГО РОЛИКОВОГО ПОДШИПНИКА КОРПУСА ПЕРЕДНЕГО ДИФФЕРЕНЦИАЛА
-
С помощью SST и пресса установите новый задний конический роликовый подшипник (внутреннее кольцо) корпуса переднего дифференциала в корпус переднего дифференциала.
09726-36010
09950-70010
09951-07100
Note:Не допускайте повреждения обоймы переднего конического роликового подшипника корпуса заднего дифференциала (внутреннего кольца) во время установки переднего конического роликового подшипника корпуса заднего дифференциала (внутреннего кольца).
Внутреннее кольцо заднего конического роликового подшипника корпуса переднего дифференциала должно устанавливаться таким образом, чтобы между ним и корпусом переднего дифференциала не было зазора.
-
УСТАНОВИТЕ ВНУТРЕННЕЕ КОЛЬЦО ПЕРЕДНЕГО КОНИЧЕСКОГО РОЛИКОВОГО ПОДШИПНИКА КОРПУСА ПЕРЕДНЕГО ДИФФЕРЕНЦИАЛА
-
С помощью SST и пресса установите новый передний конический роликовый подшипник (внутреннее кольцо) корпуса переднего дифференциала в корпус переднего дифференциала.
09523-36010
09950-60010
09951-00540
09950-70010
09951-07100
Note:Не допускайте повреждения обоймы переднего конического роликового подшипника корпуса переднего дифференциала (внутреннего кольца) во время установки переднего конического роликового подшипника корпуса переднего дифференциала (внутреннего кольца).
Внутреннее кольцо переднего конического роликового подшипника корпуса переднего дифференциала должно устанавливаться таким образом, чтобы между ним и корпусом переднего дифференциала не было зазора.
-
ОТРЕГУЛИРУЙТЕ ПРЕДНАТЯГ ПОДШИПНИКА ПОЛУОСИ ДИФФЕРЕНЦИАЛА
Удалите оставшийся герметик с поверхностей контакта кожуха и картера трансмиссии в блоке с главной передачей.
-
Установите корпус переднего дифференциала в сборе на картер трансмиссии.
-
Установите кожух трансмиссии в блоке с главной передачей на картер трансмиссии в блоке с главной передачей и закрепите его 20 болтами.
Болт (A)
30,6 Н*м
312 кгс*см
23 фунт-сила-футов
Болт (B)
22,7 Н*м
231 кгс*см
17 фунт-сила-футов
-
Используя SST, поверните корпус переднего дифференциала в сборе 2-3 раза вправо-влево, чтобы усадить подшипники.
09564-33010
Используя SST и динамометрический ключ, измерьте крутящий момент подшипника полуоси дифференциала при вращении SST с частотой 10 об/мин.
09564-33010
Крутящий момент
0,8 - 1,4 Н*м (9 - 14 кгс*см, 8 - 12 фунт-сила-дюймов)
Если крутящий момент не попадает в заданный диапазон, обратитесь к приведенной ниже таблице и выберите шайбу наружного кольца переднего конического роликового подшипника корпуса переднего дифференциала, которая позволит обеспечить требуемый крутящий момент.
Table 1. Толщина регулировочной шайбы Каталожный номер
Толщина, мм (дюйма)
90564-79054
2,000 (0,0787)
90564-79055
2,025 (0,0797)
90564-79056
2,050 (0,0807)
90564-79057
2,075 (0,0817)
90564-79058
2,100 (0,0827)
90564-79059
2,125 (0,0837)
90564-79060
2,150 (0,0846)
90564-79061
2,175 (0,0856)
90564-79062
2,200 (0,0866)
90564-79063
2,225 (0,0876)
90564-79064
2,250 (0,0886)
90564-79065
2,275 (0,0896)
90564-79066
2,300 (0,0906)
90564-79067
2,325 (0,0915)
90564-79068
2,350 (0,0925)
90564-79069
2,375 (0,0935)
90564-79070
2,400 (0,0945)
90564-79071
2,425 (0,0955)
90564-79072
2,450 (0,0965)
90564-79073
2,475 (0,0974)
90564-79074
2,500 (0,0984)
90564-79075
2,525 (0,0994)
90564-79076
2,550 (0,100)
90564-79077
2,575 (0,101)
90564-79078
2,600 (0,102)
90564-79079
2,625 (0,103)
90564-79080
2,650 (0,104)
90564-79081
2,675 (0,105)
90564-79082
2,700 (0,106)
90564-79083
2,725 (0,107)
90564-79084
2,750 (0,108)
90564-79085
2,775 (0,109)
90564-79086
2,800 (0,110)
90564-79087
2,825 (0,111)
90564-79088
2,850 (0,112)
90564-79089
2,875 (0,113)
Выверните 20 болтов и снимите кожух трансмиссии в блоке с главной передачей с картера трансмиссии в блоке с главной передачей.
Снимите корпус переднего дифференциала с картера трансмиссии в блоке с главной передачей.
УСТАНОВИТЕ НАРУЖНОЕ КОЛЬЦО ЗАДНЕГО КОНИЧЕСКОГО РОЛИКОВОГО ПОДШИПНИКА ПРОМЕЖУТОЧНОЙ ВЕДОМОЙ ШЕСТЕРНИ
-
С помощью SST и молотка установите новое наружное кольцо заднего конического роликового подшипника промежуточной ведомой шестерни в картер трансмиссии.
09950-60010
09951-00650
09950-70010
09951-07100
Note:Наружное кольцо заднего конического роликового подшипника промежуточной ведомой шестерни должно устанавливаться таким образом, чтобы между ним и картером трансмиссии не было зазора. При наличии даже небольшого зазора крутящий момент промежуточной ведомой шестерни не сможет быть измерен правильно.
-
УСТАНОВИТЕ НАРУЖНОЕ КОЛЬЦО ПЕРЕДНЕГО КОНИЧЕСКОГО РОЛИКОВОГО ПОДШИПНИКА ПРОМЕЖУТОЧНОЙ ВЕДОМОЙ ШЕСТЕРНИ
-
Установите шайбу на кожух трансмиссии.
С помощью SST установите новое наружное кольцо переднего конического роликового подшипника промежуточной ведомой шестерни в кожух трансмиссии.
09950-60020
09951-00810
09950-70010
09951-07100
Note:Наружное кольцо переднего конического роликового подшипника промежуточной ведомой шестерни должно устанавливаться таким образом, чтобы между ним, шайбой и кожухом трансмиссии не было зазора. При наличии даже небольшого зазора крутящий момент промежуточной ведомой шестерни не сможет быть измерен правильно.
-
УСТАНОВИТЕ ВНУТРЕННЕЕ КОЛЬЦО ЗАДНЕГО КОНИЧЕСКОГО РОЛИКОВОГО ПОДШИПНИКА ПРОМЕЖУТОЧНОЙ ВЕДОМОЙ ШЕСТЕРНИ
-
Используя SST и пресс, установите новый задний конический роликовый подшипник промежуточной ведомой шестерни (внутреннее кольцо) на промежуточную ведомую шестерню в сборе.
09950-60010
09951-00420
Note:Внутреннее кольцо заднего конического роликового подшипника промежуточной ведомой шестерни должно устанавливаться таким образом, чтобы между ним и промежуточной ведомой шестерней не было зазора. При наличии даже небольшого зазора крутящий момент промежуточной ведомой шестерни не сможет быть измерен правильно.
-
УСТАНОВИТЕ ВНУТРЕННЕЕ КОЛЬЦО ПЕРЕДНЕГО КОНИЧЕСКОГО РОЛИКОВОГО ПОДШИПНИКА ПРОМЕЖУТОЧНОЙ ВЕДОМОЙ ШЕСТЕРНИ
-
Используя SST и пресс, установите новый передний конический роликовый подшипник промежуточной ведомой шестерни (внутреннее кольцо) на промежуточную ведомую шестерню в сборе.
09950-60010
09951-00530
Note:Внутреннее кольцо переднего конического роликового подшипника промежуточной ведомой шестерни должно устанавливаться таким образом, чтобы между ним и промежуточной ведомой шестерней не было зазора. При наличии даже небольшого зазора крутящий момент промежуточной ведомой шестерни не сможет быть измерен правильно.
-
ОТРЕГУЛИРУЙТЕ ПРЕДНАТЯГ ПРОМЕЖУТОЧНОЙ ВЕДОМОЙ ШЕСТЕРНИ
Удалите оставшийся герметик с поверхностей контакта кожуха и картера трансмиссии в блоке с главной передачей.
-
Установите промежуточную ведомую шестерню в сборе в картер трансмиссии.
-
Установите корпус переднего дифференциала в сборе на картер трансмиссии.
-
Установите кожух трансмиссии в блоке с главной передачей на картер трансмиссии в блоке с главной передачей и закрепите его 20 болтами.
Болт (A)
30,6 Н*м
312 кгс*см
23 фунт-сила-футов
Болт (B)
22,7 Н*м
231 кгс*см
17 фунт-сила-футов
-
Используя SST и динамометрический ключ, измерьте крутящий момент промежуточной ведомой шестерни при вращении SST с частотой 10 об/мин.
09564-33010
Крутящий момент
Преднатяг подшипника полуоси дифференциала + 2,7-5,1 Н*м (28-52 кгс*см, 24-45 фунт-сила-дюйма)
Если крутящий момент не попадает в заданный диапазон, обратитесь к приведенной ниже таблице и выберите шайбу наружного кольца переднего конического роликового подшипника промежуточной ведомой шестерни, которая позволит обеспечить требуемый крутящий момент.
Table 2. Толщина регулировочной шайбы Каталожный номер
Толщина, мм (дюйма)
90564-71014
2,000 (0,0787)
90564-71015
2,025 (0,0797)
90564-71016
2,050 (0,0807)
90564-71017
2,075 (0,0817)
90564-71018
2,100 (0,0827)
90564-71019
2,125 (0,0837)
90564-71020
2,150 (0,0846)
90564-71021
2,175 (0,0856)
90564-71022
2,200 (0,0866)
90564-71023
2,225 (0,0876)
90564-71024
2,250 (0,0886)
90564-71025
2,275 (0,0896)
90564-71026
2,300 (0,0906)
90564-71027
2,325 (0,0915)
90564-71028
2,350 (0,0925)
90564-71029
2,375 (0,0935)
90564-71030
2,400 (0,0945)
90564-71031
2,425 (0,0955)
90564-71032
2,450 (0,0965)
90564-71033
2,475 (0,0974)
90564-71034
2,500 (0,0984)
90564-71035
2,525 (0,0994)
90564-71036
2,550 (0,100)
90564-71037
2,575 (0,101)
90564-71038
2,600 (0,102)
90564-71039
2,625 (0,103)
90564-71040
2,650 (0,104)
90564-71041
2,675 (0,105)
90564-71042
2,700 (0,106)
90564-71043
2,725 (0,107)
90564-71044
2,750 (0,108)
90564-71045
2,775 (0,109)
90564-71046
2,800 (0,110)
90564-71047
2,825 (0,111)
90564-71048
2,850 (0,112)
90564-71049
2,875 (0,113)
90564-71050
2,900 (0,114)
90564-71051
2,925 (0,115)
90564-71052
2,950 (0,116)
90564-71053
2,975 (0,117)
90564-71054
3,000 (0,118)
Выверните 20 болтов и снимите кожух трансмиссии в блоке с главной передачей с картера трансмиссии в блоке с главной передачей.
Снимите корпус переднего дифференциала с картера трансмиссии в блоке с главной передачей.
Снимите промежуточную ведомую шестерню в сборе с картера трансмиссии.
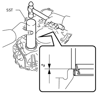
УСТАНОВИТЕ САЛЬНИК ВАЛА РЫЧАГА КЛАПАНА С РУЧНЫМ УПРАВЛЕНИЕМ
-
*a
Глубина
Покройте кромку нового сальника вала рычага клапана с ручным управлением тонким слоем универсальной консистентной смазки.
С помощью SST и молотка установите сальник вала рычага клапана с ручным управлением в картер трансмиссии.
09950-60010
09951-00230
09950-70010
09951-07100
Номинальная глубина
-0,5 - 0,5 мм (-0,0197 - 0,0197 дюйма)
Note:Убедитесь, что сальник вала рычага клапана с ручным управлением установлен в правильном направлении.
-
УСТАНОВИТЕ ВАЛ РЫЧАГА КЛАПАНА С РУЧНЫМ УПРАВЛЕНИЕМ
-
Установите вал рычага клапана с ручным управлением на картер трансмиссии.
Note:При установке вала рычага клапана с ручным управлением на картер трансмиссии будьте осторожны, чтобы не повредить сальник вала рычага клапана с ручным управлением.
-
С помощью круглогубцев установите стопорную пружину вала рычага клапана с ручным управлением на вал рычага клапана с ручным управлением.
-
УСТАНОВИТЕ ЗАПОРНЫЙ СТЕРЖЕНЬ СТОЯНОЧНОГО ТОРМОЗА В СБОРЕ
-
Совместите выступы запорного стержня стояночного тормоза в сборе с прорезями на валу рычага клапана с ручным управлением и установите запорный стержень стояночного тормоза.
-
УСТАНОВИТЕ ПРУЖИНУ РУЧНОГО ФИКСАТОРА В СБОРЕ
-
Установите пружину и крышку пружины ручного фиксатора на картер трансмиссии, закрепив их болтом.
22,7 Н*м
231 кгс*см
17 фунт-сила-футов
Note:Сначала следует устанавливать пружину ручного фиксатора, а затем крышку пружины ручного фиксатора.
-
УСТАНОВИТЕ ПОРШЕНЬ ТОРМОЗНОГО ЦИЛИНДРА № 3
-
Покройте кромки поршня тормозного цилиндра № 3 трансмиссионной жидкостью.
-
Временно установите поршень тормозного цилиндра № 3 в картер трансмиссии.
-
Установите стопорную пластину запорного штифта на картер трансмиссии и временно закрепите 2 болтами.
Note:После установки удостоверьтесь, что выступы на поршне тормозного цилиндра № 3 совмещены с канавками в стопорной пластине запорного штифта.
-
*1
Стяжная пружина поршня тормозного цилиндра
*2
Поршень тормозного цилиндра № 3
*3
Стопорная пластина запорного штифта
Вдавите поршень тормозного цилиндра № 3 в картер трансмиссии.
Note:Убедитесь, что кромки поршня тормозного цилиндра № 3 не изогнуты и не зажаты в картере трансмиссии.
Tip:Надавите на установочную поверхность стяжной пружины поршня тормозного цилиндра, чтобы установить поршень тормозного цилиндра № 3 в картер трансмиссии в блоке с главной передачей.
Установите возвратную пружину поршня тормозного цилиндра в картер трансмиссии.
Note:Установите возвратную пружину поршня тормозного цилиндра, как показано на рисунке.
-
Выверните 2 болта и снимите стопорную пластину запорного штифта с картера трансмиссии в блоке с главной передачей в сборе.
-
*1
Пружинное стопорное кольцо
*a
Защитная клейкая лента
Установите SST на стяжную пружину поршня тормозного цилиндра и сожмите ее прессом.
09387-00070
Note:Остановите пресс, как только стяжная пружина поршня тормозного цилиндра сравняется с канавкой пружинного стопорного кольца. Это позволит избежать деформации стяжной пружины поршня тормозного цилиндра.
Используя отвертку с обернутым изолентой концом, установите пружинное стопорное кольцо на картер трансмиссии в сборе, как показано на рисунке.
Note:Убедитесь, что пружинное стопорное кольцо правильно установлено в канавке картера трансмиссии в блоке с главной передачей в сборе.
Обязательно сориентируйте пружинное стопорное кольцо таким образом, чтобы края не выступали в один из вырезов на стяжной пружине поршня тормозного цилиндра, как показано на рисунке.
-
УСТАНОВИТЕ ПРОМЕЖУТОЧНУЮ ПРИВОДНУЮ ШЕСТЕРНЮ.
Note:Выполняйте эту процедуру только в случае замены подшипника промежуточной приводной шестерни или картера трансмиссии в блоке с главной передачей в сборе.
-
С помощью SST и пресса установите новое внутреннее кольцо подшипника промежуточной приводной шестерни (с передней стороны) на промежуточную приводную шестерню.
09387-00020
Note:Подшипник промежуточной приводной шестерни (внутреннее кольцо с передней стороны) должно устанавливаться таким образом, чтобы между ним и промежуточной приводной шестерней не было зазора.
Установите 2 новых подшипника (шарики и сепаратор) промежуточной приводной шестерни в подшипник промежуточной приводной шестерни (наружное кольцо).
-
С помощью SST и пресса установите промежуточную приводную шестерню с подшипником промежуточной приводной шестерни (внутреннее кольцо с передней стороны) и новым подшипником промежуточной приводной шестерни (внутреннее кольцо с задней стороны) в картер трансмиссии в сборе.
09223-15030
09527-17011
09950-70010
09951-07100
09950-60020
09951-00810
-
УСТАНОВИТЕ ПЕРЕДНЮЮ ПЛАНЕТАРНУЮ ПЕРЕДАЧУ В СБОРЕ
-
С помощью SST и пресса установите шестерню передней планетарной передачи в сборе в картер трансмиссии в блоке с главной передачей.
09223-15030
09527-17011
09951-01100
-
УСТАНОВИТЕ ПОРШЕНЬ ТОРМОЗНОГО ЦИЛИНДРА № 2
-
*1
Кольцевое уплотнение
Покройте 2 новых кольцевых уплотнения трансмиссионной жидкостью и установите их на поршень тормозного цилиндра № 2.
Note:Убедитесь, что 2 кольцевых уплотнения не перекручены.
-
Установите поршень тормозного цилиндра № 2 в картер трансмиссии.
Note:Соблюдайте осторожность, чтобы не повредить 2 кольцевых уплотнения.
-
УСТАНОВИТЕ СТЯЖНУЮ ПРУЖИНУ ТОРМОЗА 1-Й ПЕРЕДАЧИ И ПЕРЕДАЧИ ЗАДНЕГО ХОДА В СБОРЕ
Установите стяжную пружину тормоза 1-й передачи и передачи заднего хода в сборе на картер трансмиссии в блоке с главной передачей в сборе.
Поместите SST на стяжную пружину тормоза 1-й передачи и передачи заднего хода и сожмите эту пружину с помощью пресса.
*1
Пружинное стопорное кольцо
-
-
*a
Защитная клейкая лента
-
-
09387-00060
Note:Остановите пресс, как только стяжная пружина тормоза 1-й передачи и передачи заднего хода окажется вровень с канавкой пружинного стопорного кольца. Это позволит избежать деформации стяжной пружины тормоза 1-й передачи и передачи заднего хода.
Используя отвертку с обернутым изолентой концом, установите пружинное стопорное кольцо на картер трансмиссии в сборе, как показано на рисунке.
Note:Убедитесь, что пружинное стопорное кольцо правильно установлено в канавке картера трансмиссии в блоке с главной передачей в сборе.
Обязательно сориентируйте пружинное стопорное кольцо таким образом, чтобы края не выступали в один из вырезов на картере трансмиссии, как показано на рисунке.
Пружинное стопорное кольцо должно устанавливаться таким образом, чтобы его края находились в пределах области, показанной на рисунке.
УСТАНОВИТЕ ТОРМОЗНОЙ ДИСК № 2
-
*1
Фланец тормоза № 2
*2
Тормозная пластина № 2
*3
Тормозной диск № 2
Установите 5 тормозных диска № 2, 5 тормозных пластины № 2 и фланец тормоза № 2 в картер трансмиссии в блоке с главной передачей в сборе.
Note:Убедитесь в том, что тормозные диски № 2, тормозные пластины № 2 и фланец тормоза № 2 установлены в правильном порядке.
-
*1
Пружинное стопорное кольцо
*a
Защитная клейкая лента
Используя отвертку с обернутым изолентой концом, установите пружинное стопорное кольцо на картер трансмиссии в сборе.
Note:Убедитесь, что пружинное стопорное кольцо правильно установлено в канавке картера трансмиссии в блоке с главной передачей в сборе.
Обязательно сориентируйте пружинное стопорное кольцо таким образом, чтобы края не выступали в один из вырезов на картере трансмиссии, как показано на рисунке.
Пружинное стопорное кольцо должно устанавливаться таким образом, чтобы его края находились в пределах области, показанной на рисунке.
-
ПРОВЕРЬТЕ ЗАЗОР ПОРШНЯ ТОРМОЗНОГО ЦИЛИНДРА № 2
Нажмите здесьClick hereClick here
УСТАНОВИТЕ ФЛАНЕЦ КОРОННОЙ ШЕСТЕРНИ ПЛАНЕТАРНОЙ ПЕРЕДАЧИ
-
*1
Пружинное стопорное кольцо
*2
Фланец коронной шестерни планетарной передачи
*3
Коронная шестерня планетарной передачи
Установите фланец коронной шестерни планетарной передачи на коронную шестерню планетарной передачи.
Используя отвертку с обернутым изолентой концом, установите пружинное стопорное кольцо на коронную шестерню планетарной передачи.
Note:Убедитесь, что пружинное стопорное кольцо правильно установлено в канавке коронной шестерни планетарной передачи.
-
УСТАНОВИТЕ МУФТУ СВОБОДНОГО ХОДА В СБОРЕ
-
*1
Муфта свободного хода в сборе
*2
Фиксатор наружного кольца
*3
Коронная шестерня планетарной передачи

Задняя сторона
Установите фиксатор наружного кольца на муфту свободного хода в сборе.
Установите муфту свободного хода в сборе на коронную шестерню планетарной передачи.
Note:Убедитесь, что муфта свободного хода в сборе установлена правильно, как показано на рисунке.
-
*1
Упорный игольчатый роликовый подшипник
*2
Муфта свободного хода в сборе
*3
Фиксатор наружного кольца
*4
Картер трансмиссии в блоке с главной передачей в сборе
Покройте упорный игольчатый роликовый подшипник трансмиссионной жидкостью и установите его на переднюю планетарную передачу в сборе.
Table 3. Диаметр упорного игольчатого роликового подшипника -
Внутренний [мм (дюймы)]
Наружный [мм (дюймы)]
Упорный игольчатый роликовый подшипник
56,1 (2,21)
80,9 (3,19)
Note:Обязательно устанавливайте упорный игольчатый роликовый подшипник таким образом, чтобы сторона кольца цвета побежалости была видна.
Установите муфту свободного хода в сборе вместе с коронной шестерней планетарной передачи в картер трансмиссии.
Note:Убедитесь, что между фиксатором наружного кольца и захватом на муфте свободного хода в сборе нет зазора. При наличии даже небольшого зазора пружина фиксатора будет деформирована.
Убедитесь в том, что между муфтой свободного хода в сборе и картером трансмиссии в блоке с главной передачей в сборе нет зазора.
-
*a
Защитная клейкая лента
Используя отвертку с обернутым изолентой концом, установите пружинное стопорное кольцо на картер трансмиссии в сборе.
Note:Убедитесь, что пружинное стопорное кольцо правильно установлено в канавке картера трансмиссии в блоке с главной передачей в сборе.
Обязательно сориентируйте пружинное стопорное кольцо таким образом, чтобы края не выступали в один из вырезов на картере трансмиссии, как показано на рисунке.
-
УСТАНОВИТЕ ЗАПОРНЫЙ ШТИФТ СТОЯНОЧНОГО ТОРМОЗА
-
*1
Вал запорного штифта стояночного тормоза
*2
Запорный штифт стояночного тормоза
*3
Пружина
*4
Палец запорного штифта стояночного тормоза
Установите запорный штифт стояночного тормоза в картер трансмиссии вместе с валом запорного штифта стояночного тормоза.
Установите палец запорного штифта стояночного тормоза в картер трансмиссии.
Установите пружину на запорный штифт стояночного тормоза.
Note:Убедитесь, что один из концов пружины зафиксирован в отверстии картера трансмиссии, а другой располагается на запорном штифте стояночного тормоза, как показано на рисунке.
-
УСТАНОВИТЕ ВТУЛКУ БЛОКИРОВКИ СТОЯНОЧНОГО ТОРМОЗА
-
Установите втулку блокировки стояночного тормоза в картер трансмиссии.
-
УСТАНОВИТЕ СТОПОРНУЮ ПЛАСТИНУ ЗАПОРНОГО ШТИФТА
-
Установите стопорную пластину запорного штифта на картер трансмиссии и закрепите 2 болтами.
22,7 Н*м
231 кгс*см
17 фунт-сила-футов
-
УСТАНОВИТЕ ЗАЖИМ ВАЛА ЗАПОРНОГО ШТИФТА
-
Установите зажим вала запорного штифта на картер трансмиссии и закрепите его болтом.
22,7 Н*м
231 кгс*см
17 фунт-сила-футов
-
УСТАНОВИТЕ ПРОМЕЖУТОЧНУЮ ВЕДОМУЮ ШЕСТЕРНЮ
-
Установите промежуточную ведомую шестерню в сборе в картер трансмиссии.
-
УСТАНОВИТЕ ГАЙКУ ПРОМЕЖУТОЧНОЙ ПРИВОДНОЙ ШЕСТЕРНИ
-
Поверните вал рычага клапана с ручным управлением на 2 деления против часовой стрелки, чтобы установить его в положение P, как показано на рисунке.
-
Используя SST, заверните новую контргайку промежуточной приводной шестерни на передней планетарной передаче в сборе.
09387-00130
120 Н*м
1224 кгс*см
89 фунт-сила-футов
-
Поверните вал рычага клапана с ручным управлением на 2 деления по часовой стрелке, чтобы установить его в положение N, как показано на рисунке.
Снимите промежуточную ведомую шестерню в сборе с картера трансмиссии.
-
Используя SST и динамометрический ключ, измерьте крутящий момент подшипника при скорости вращения SST 60 об/мин.
09387-00130
Крутящий момент
0,1 - 0,2 Н*м (1 - 2 кгс*см, 0,9 - 1,7 фунт-сила-дюйма)
Если измеренное значение не попадает в заданный диапазон, постепенно затяните гайку промежуточной приводной шестерни до достижения требуемого крутящего момента.
Максимальный крутящий момент
180 Н*м (1835 кгс*см, 133 фунт-сила-фута)
-
С помощью SST и молотка накерните переднюю планетарную передачу в сборе.
09930-00010
Установите промежуточную ведомую шестерню в сборе в картер трансмиссии.
-
УСТАНОВИТЕ КОРПУС ПЕРЕДНЕГО ДИФФЕРЕНЦИАЛА
-
Установите корпус переднего дифференциала в сборе на картер трансмиссии.
-
УСТАНОВИТЕ ПОРШЕНЬ ТОРМОЗНОГО ЦИЛИНДРА № 1
-
*1
Кольцевое уплотнение
Покройте 2 новых кольцевых уплотнения трансмиссионной жидкостью и установите их на поршень тормозного цилиндра № 1.
Note:Убедитесь, что 2 кольцевых уплотнения не перекручены.
-
Установите поршень тормозного цилиндра № 1 в передний масляный насос в сборе.
Note:Соблюдайте осторожность, чтобы не повредить 2 кольцевых уплотнения.
-
УСТАНОВИТЕ СТЯЖНУЮ ПРУЖИНУ ПОРШНЯ ТОРМОЗНОГО ЦИЛИНДРА 2-Й ПЕРЕДАЧИ В СБОРЕ
-
Установите 3 стяжных пружины поршня тормозного цилиндра 2-й передачи в передний масляный насос в сборе.
Note:Убедитесь, что 3 стяжных пружины поршня тормозного цилиндра 2-й передачи установлены через выступы на переднем масляном насосе в сборе.
-
УСТАНОВИТЕ ТОРМОЗНОЙ ДИСК № 1
-
*1
Фланец тормоза № 1
*2
Тормозная пластина № 1
*3
Тормозной диск № 1
Установите 4 тормозных диска № 1, 4 тормозных пластины № 1 и фланец тормоза № 1 на передний масляный насос в сборе.
Note:Убедитесь в том, что тормозные диски № 1, тормозные пластины № 1 и фланец тормоза № 1 установлены в правильном порядке.
Убедитесь, что фланец тормоза № 1 установлен с соблюдением правильной ориентации.
-
*a
Защитная клейкая лента
Установите SST на фланец тормоза № 1 и сожмите фланец тормоза № 1 с помощью пресса.
09387-00070
09495-65040
Note:Остановите пресс, как только стяжная пружина поршня тормозного цилиндра 2-й передачи сравняется с канавкой пружинного стопорного кольца. Это позволит избежать деформации стяжной пружины поршня тормозного цилиндра 2-й передачи.
С помощью отвертки с обернутым изолентой концом установите пружинное стопорное кольцо на передний масляный насос в сборе, как показано на рисунке.
Note:Убедитесь, что пружинное стопорное кольцо правильно установлено в канавке переднего масляного насоса.
Обязательно совместите выступающую часть пружинного стопорного кольца с вырезом (№ 1) переднего масляного насоса в сборе, как показано на рисунке, чтобы установить пружинное стопорное кольцо.
-
Установите упор пружинного стопорного кольца тормоза на передний масляный насос в сборе.
Note:Обязательно соблюдайте ориентацию установки упора пружинного стопорного кольца тормоза.
-
*a
Защитная клейкая лента
С помощью отвертки с обернутым изолентой концом установите пружинное стопорное кольцо на передний масляный насос в сборе, как показано на рисунке.
Note:Убедитесь, что пружинное стопорное кольцо правильно установлено в канавке переднего масляного насоса.
Обязательно совместите выступающую часть пружинного стопорного кольца с вырезом (№ 2) переднего масляного насоса в сборе, как показано на рисунке, чтобы установить пружинное стопорное кольцо.
-
*1
Пружинное стопорное кольцо
*2
Упор пружинного стопорного кольца тормоза
*a
Правильная установка
Убедитесь, что упор пружинного стопорного кольца тормоза можно повернуть рукой.
Note:Если упор пружинного стопорного кольца тормоза не поворачивается вручную, он может быть установлен в неправильном направлении, либо пружинное стопорное кольцо может быть не полностью установлено в канавку на переднем масляном насосе. Снимите и заново установите пружинное стопорные кольцо и упор пружинного стопорного кольца тормоза.
-
ПРОВЕРЬТЕ ЗАЗОР ПОРШНЯ ТОРМОЗНОГО ЦИЛИНДРА № 1
Нажмите здесьClick hereClick here
УСТАНОВИТЕ СОЛНЕЧНУЮ ШЕСТЕРНЮ ПОНИЖАЮЩЕЙ ПЛАНЕТАРНОЙ ПЕРЕДАЧИ
-
*1
Упорный игольчатый роликовый подшипник
*2
Солнечная шестерня понижающей планетарной передачи
Покройте упорный игольчатый роликовый подшипник трансмиссионной жидкостью и установите его в передний масляный насос в сборе.
Table 4. Диаметр упорного игольчатого роликового подшипника -
Внутренний [мм (дюймы)]
Наружный [мм (дюймы)]
Упорный игольчатый роликовый подшипник
57,7 (2,27)
75,2 (2,96)
Note:Проверяйте ориентацию упорного игольчатого роликового подшипника при установке.
Установите солнечную шестерню понижающей планетарной передачи в передний масляный насос в сборе.
-
УСТАНОВИТЕ ПЕРВИЧНЫЙ ВАЛ В СБОРЕ
-
*1
Кольцо упорного подшипника
*2
Упорный игольчатый роликовый подшипник
*3
Первичный вал
*4
Маслоуплотнительное кольцо первичного вала
Покройте 3 новых маслоуплотнительных кольца первичного вала трансмиссионной жидкостью и установите их на первичный вал.
Note:Не увеличивайте зазор маслоуплотнительных колец первичного вала чрезмерно.
Нанесите жидкость для автоматических трансмиссий на упорный игольчатый роликовый подшипник и кольцо упорного подшипника и установите их на первичный вал.
Table 5. Диаметры упорного игольчатого роликового подшипника и кольца упорного подшипника -
Внутренний [мм (дюймы)]
Наружный [мм (дюймы)]
Упорный игольчатый роликовый подшипник
29,1 (1,15)
48 (1,89)
Кольцо упорного подшипника
30,7 (1,21)
48,3 (1,90)
Note:Проверяйте ориентацию упорного игольчатого роликового подшипника при установке.
-
Установите первичный вал в сборе на передний масляный насос в сборе.
-
УСТАНОВИТЕ СОЛНЕЧНУЮ ШЕСТЕРНЮ ПЛАНЕТАРНОЙ ПЕРЕДАЧИ В СБОРЕ
-
*1
Солнечная шестерня планетарной передачи в сборе
*2
Шестерня понижающей планетарной передачи в сборе
*3
Пружинное стопорное кольцо
С помощью съемника стопорных колец установите пружинное стопорное кольцо на понижающую планетарную передачу в сборе.
Раздвинув пружинное стопорное кольцо с помощью съемника стопорных колец, установите солнечную шестерню планетарной передачи в сборе на понижающую планетарную передачу в сборе.
-
УСТАНОВИТЕ КОРОННУЮ ШЕСТЕРНЮ ПОНИЖАЮЩЕЙ ПЛАНЕТАРНОЙ ПЕРЕДАЧИ
Tip:Эту операцию следует выполнять только в том случае, если требуется замена коронной шестерни понижающей планетарной передачи или ступицы тормоза № 3.
-
Установите пружинное стопорное кольцо на понижающую планетарную передачу.
-
*a
Защитная клейкая лента
При запрессовке пружинного стопорного кольца с помощью отвертки с обернутым изолентой концом установите коронную шестерню передней планетарной передачи на ступицу тормоза № 3.
Note:Убедитесь, что пружинное стопорное кольцо правильно установлено в канавке ступицы тормоза № 3.
-
УСТАНОВИТЕ СТУПИЦУ ТОРМОЗА № 3
-
*1
Кольцо упорного подшипника
*2
Упорный игольчатый роликовый подшипник
Покройте упорный игольчатый роликовый подшипник и кольцо упорного подшипника трансмиссионной жидкостью и установите их на понижающую планетарную передачу в сборе.
Table 6. Диаметры упорного игольчатого роликового подшипника и кольца упорного подшипника -
Внутренний [мм (дюймы)]
Наружный [мм (дюймы)]
Упорный игольчатый роликовый подшипник
62,6 (2,46)
82,4 (3,24)
Кольцо упорного подшипника
65,9 (2,59)
80,3 (3,16)
Note:Обязательно устанавливайте упорный игольчатый роликовый подшипник таким образом, чтобы сторона кольца цвета побежалости была видна.
-
Установите ступицу тормоза № 3 на понижающую планетарную передачу в сборе.
-
УСТАНОВИТЕ ПОНИЖАЮЩУЮ ПЛАНЕТАРНУЮ ПЕРЕДАЧУ В СБОРЕ
-
Установите понижающую планетарную передачу в сборе на передний масляный насос в сборе.
-
УСТАНОВИТЕ ТОРМОЗНОЙ ДИСК № 3
-
*1
Фланец тормоза № 3
*2
Тормозная пластина № 3
*3
Тормозной диск № 3
Установите 2 фланца тормоза № 3, 3 тормозных диска № 3 и 2 тормозных пластины № 3 на передний масляный насос в сборе.
Note:Убедитесь в том, что тормозные диски № 3, тормозные пластины № 3 и фланец тормоза № 3 установлены в правильном порядке.
-
С помощью отвертки с обернутым изолентой концом установите пружинное стопорное кольцо на передний масляный насос в сборе.
Note:Убедитесь, что пружинное стопорное кольцо правильно установлено в канавке переднего масляного насоса.
Убедитесь, что концы пружинного стопорного кольца располагаются, как показано на рисунке (A).
-
ПРОВЕРЬТЕ ЗАЗОР ПОРШНЯ ТОРМОЗНОГО ЦИЛИНДРА № 3
Нажмите здесьClick hereClick here
УСТАНОВИТЕ ПЕРЕДНИЙ МАСЛЯНЫЙ НАСОС В СБОРЕ
-
*1
Упорный игольчатый роликовый подшипник
*2
Кольцевое уплотнение
Покройте новое кольцевое уплотнение трансмиссионной жидкостью и установите его на картер трансмиссии.
Нанесите на упорный игольчатый роликовый подшипник трансмиссионную жидкость.
Установите упорный игольчатый роликовый подшипник на гайку промежуточной приводной шестерни.
Table 7. Диаметр упорного игольчатого роликового подшипника -
Внутренний [мм (дюймы)]
Наружный [мм (дюймы)]
Упорный игольчатый роликовый подшипник
53,1 (2,09)
79 (3,11)
Note:Проверяйте ориентацию упорного игольчатого роликового подшипника при установке.
Покройте кольцо упорного подшипника универсальной консистентной смазкой.
-
*1
Кольцо упорного подшипника
Установите кольцо упорного подшипника на понижающую планетарную передачу.
Table 8. Диаметр кольца упорного подшипника -
Внутренний [мм (дюймы)]
Наружный [мм (дюймы)]
Кольцо упорного подшипника
59,4 (2,34)
77 (3,03)
-
Покройте новое кольцевое уплотнение корпуса переднего масляного насоса трансмиссионной жидкостью и установите его на передний масляный насос.
Note:Убедитесь, что кольцевое уплотнение корпуса переднего масляного насоса установлено правильно - так, что его идентификационная линия находится снаружи, и убедитесь, что оно не перекручено, не выступает и не повреждено.
-
*1
Прокладка
Установите передний масляный насос в сборе на картер трансмиссии и закрепите 7 болтами.
22,7 Н*м
231 кгс*см
17 фунт-сила-футов
Покройте новую прокладку трансмиссионной жидкостью и установите ее на передний масляный насос в сборе.
-
УСТАНОВИТЕ МАСЛЯНУЮ ТРУБКУ ЦЕНТРАЛЬНОЙ ШЕСТЕРНИ
-
Установите масляную трубку центральной шестерни в кожух трансмиссии.
Note:Вставьте масляную трубку центральной шестерни в кожух трансмиссии до упора.
Установите зажим на масляную трубку центральной шестерни и закрепите его болтом.
22,7 Н*м
231 кгс*см
17 фунт-сила-футов
Note:Между масляной трубкой центральной шестерни и зажимом должен быть зазор.
-
УСТАНОВИТЕ КОЖУХ ТРАНСМИССИИ
-
Очистите и обезжирьте 3 болта и установочные отверстия в картере трансмиссии.
Удалите оставшийся герметик с поверхностей контакта кожуха и картера трансмиссии в блоке с главной передачей.
Note:Убедитесь, что на контактных поверхностях нет трансмиссионной жидкости.
-
*a
FIPG
Нанесите FIPG на картер трансмиссии в блоке с главной передачей в сборе.
FIPG
Фирменный герметик Toyota 1281, Three Bond 1281 или аналогичный
Note:Наносите FIPG на уплотняемую поверхность непрерывным валиком (шириной 1,2 мм (0,0472 дюйма)) вдоль поверхности уплотнения картера трансмиссии в блоке с главной передачей.
После нанесения жидкого анаэробного герметика установите кожух трансмиссии на картер трансмиссии в блоке с главной передачей в течение 3 минут и затяните болты в течение 20 минут.
-
Установите кожух трансмиссии в блоке с главной передачей на картер трансмиссии в блоке с главной передачей и закрепите его 17 болтами.
30,6 Н*м
312 кгс*см
23 фунт-сила-футов
-
*a
Герметик
Нанесите герметик на 2-3 витка резьбы и концы 3 болтов.
Герметик-фиксатор
Фирменный герметик 1324 от компании Toyota, Three Bond 1324 или аналогичный
Note:Обязательно вверните 3 болта сразу после нанесения герметика во избежание приклеивания к ним посторонних частиц.
-
Заверните 3 болта.
22,7 Н*м
231 кгс*см
17 фунт-сила-футов
-
УСТАНОВИТЕ ВЕДОМЫЙ ДИСК СЦЕПЛЕНИЯ № 1
-
*1
Фланец муфты № 1
*2
Диск сцепления № 1
*3
Диск муфты № 1
Установите фланец муфты № 1, 4 диска муфты № 1 и 4 пластины муфты № 1 на многодисковую муфту прямой передачи в сборе.
Note:Убедитесь, что фланцы муфты № 1, ведомые диски сцепления № 1 и пластины сцепления № 1 установлены в правильном порядке.
-
С помощью отвертки с обернутым изолентой концом установите 2 пружинных стопорных кольца на многодисковую муфту прямого хода в сборе.
Note:Убедитесь, что пружинные стопорные кольца правильно установлены в канавке многодисковой муфты прямой передачи в сборе.
Соблюдайте осторожность, чтобы не повредить многодисковую муфту прямой передачи.
-
ПРОВЕРЬТЕ ЗАЗОР ВЕДОМОГО ДИСКА СЦЕПЛЕНИЯ № 1
Нажмите здесьClick hereClick here
УСТАНОВИТЕ СОЛНЕЧНУЮ ШЕСТЕРНЮ ЗАДНЕЙ ПЛАНЕТАРНОЙ ПЕРЕДАЧИ В СБОРЕ
-
*1
Упорный игольчатый роликовый подшипник
*2
Кольцо упорного подшипника
Нанесите жидкость для автоматических трансмиссий на упорный игольчатый роликовый подшипник и кольцо упорного подшипника и установите их в многодисковую муфту прямой передачи в сборе.
Table 9. Диаметры упорного игольчатого роликового подшипника и кольца упорного подшипника -
Внутренний [мм (дюймы)]
Наружный [мм (дюймы)]
Упорный игольчатый роликовый подшипник
28 (1,10)
47,1 (1,85)
Кольцо упорного подшипника
26,1 (1,03)
44 (1,73)
Note:Обязательно устанавливайте упорный игольчатый роликовый подшипник таким образом, чтобы сторона кольца цвета побежалости была видна.
-
*1
Солнечная шестерня задней планетарной передачи в сборе
Установите солнечную шестерню задней планетарной передачи в сборе в многодисковую муфту прямой передачи в сборе.
-
С помощью латунного стержня и молотка установите пружинное стопорное кольцо в многодисковую муфту прямой передачи в сборе.
Tip:Чтобы предотвратить отскакивание пружинного стопорного кольца, используйте кусок ткани.
-
УСТАНОВИТЕ ВЕДОМЫЙ ДИСК СЦЕПЛЕНИЯ № 2
-
*1
Диск сцепления № 2
*2
Диск муфты № 2
*3
Фланец муфты № 2
Установите фланец № 2, 3 диска № 2 и 3 пластины № 2 на многодисковую муфту прямой передачи в сборе.
Note:Убедитесь, что фланцы муфты № 2, ведомые диски сцепления № 2 и пластины сцепления № 2 установлены в правильном порядке.
-
УСТАНОВИТЕ ПРУЖИННОЕ СТОПОРНОЕ КОЛЬЦО МНОГОДИСКОВОЙ МУФТЫ ПРЯМОЙ ПЕРЕДАЧИ
-
Установите поршень муфты прямой передачи № 2 на многодисковую муфту прямой передачи в сборе.
Note:Убедитесь, что захваты на многодисковой муфте прямой передачи в сборе зацеплены за канавки на поршне муфты прямой передачи № 2.
-
*a
Защитная клейкая лента
С помощью отвертки с обернутым изолентой концом установите пружинное стопорное кольцо многодисковой муфты прямого хода на многодисковую муфту прямого хода в сборе.
Note:Расположите разрез пружинного стопорного кольца многодисковой муфты прямой передачи, как показано на рисунке.
Убедитесь, что пружинное стопорное кольцо многодисковой муфты прямой передачи правильно установлено в канавке многодисковой муфты прямой передачи в сборе.
-
ПРОВЕРЬТЕ ЗАЗОР ВЕДОМОГО ДИСКА СЦЕПЛЕНИЯ № 2
Нажмите здесьClick hereClick here
УСТАНОВИТЕ МНОГОДИСКОВУЮ МУФТУ ПРЯМОЙ ПЕРЕДАЧИ В СБОРЕ
-
*1
Сальник промежуточного вала
*2
Кольцевое уплотнение
Покройте новое кольцевое уплотнение трансмиссионной жидкостью и установите его на многодисковую муфту прямой передачи в сборе.
Note:Убедитесь, что кольцевое уплотнение не перекручено.
Покройте новый сальник промежуточного вала трансмиссионной жидкостью и установите его на многодисковую муфту прямой передачи в сборе.
-
*1
Многодисковая муфта прямой передачи в сборе
*2
Упорный игольчатый роликовый подшипник
Покройте упорный игольчатый роликовый подшипник трансмиссионной жидкостью и установите его на картер трансмиссии.
Table 10. Диаметр упорного игольчатого роликового подшипника -
Внутренний [мм (дюймы)]
Наружный [мм (дюймы)]
Упорный игольчатый роликовый подшипник
61,2 (2,41)
79 (3,11)
Установите многодисковую муфту прямой передачи в сборе на картер трансмиссии.
-
ПРОВЕРЬТЕ ОСЕВОЙ ЛЮФТ ПРОМЕЖУТОЧНОГО ВАЛА
Нажмите здесьClick hereClick here
УСТАНОВИТЕ ЗАДНЮЮ КРЫШКУ ТРАНСМИССИИ В СБОРЕ
-
*a
Глубина
С помощью SST и молотка установите новый игольчатый роликовый подшипник в заднюю крышку трансмиссии в сборе.
09950-60010
09951-00220
09950-70010
09951-07100
Номинальная глубина
21,5 - 21,9 мм (0,846 - 0,862 дюйма)
Очистите и обезжирьте 2 винта "TORX" и установочные отверстия в задней крышке трансмиссии.
-
*a
Герметик
Нанесите герметик на 2 винта "TORX".
Герметик
Фирменный герметик 1324 от компании Toyota, Three Bond 1324 или аналогичный
Note:Обязательно вверните 2 винта "TORX" сразу после нанесения герметика во избежание приклеивания к ним посторонних частиц.
-
Установите пластину задней крышки трансмиссии на заднюю крышку трансмиссии и закрепите ее 2 винтами "TORX", используя торцевой ключ "TORX" T30.
7,5 Н*м
76 кгс*см
66 фунт-сила-дюймов
-
*1
Маслоуплотнительное кольцо
Смажьте 2 новых маслоуплотнительных кольца трансмиссионной жидкостью и установите их в заднюю крышку трансмиссии в сборе.
Note:Убедитесь, что 2 маслоуплотнительных кольца правильно установлены в задней крышке картера трансмиссии в блоке с главной передачей.
-
*1
Упорный игольчатый роликовый подшипник
*2
Кольцо упорного подшипника
Нанесите универсальную консистентную смазку на упорный игольчатый роликовый подшипник и кольцо упорного подшипника и установите их на заднюю крышку трансмиссии.
Table 11. Диаметры упорного игольчатого роликового подшипника и кольца упорного подшипника -
Внутренний [мм (дюймы)]
Наружный [мм (дюймы)]
Упорный игольчатый роликовый подшипник
48,9 (1,93)
72,0 (2,83)
Кольцо упорного подшипника
52,2 (2,06)
70,4 (2,77)
Note:Убедитесь, что упорный игольчатый роликовый подшипник и кольцо упорного подшипника установлены с соблюдением правильной ориентации.
-
Покройте 3 новых кольцевых уплотнения трансмиссионной жидкостью и установите их в картер трансмиссии.
-
Очистите и обезжирьте 2 болта и установочные отверстия в картере трансмиссии.
Удалите оставшийся герметик с контактных поверхностей задней крышки трансмиссии и картера трансмиссии.
Note:Убедитесь, что на контактных поверхностях нет трансмиссионной жидкости.
-
*a
FIPG
Нанесите FIPG на картер трансмиссии в блоке с главной передачей в сборе.
FIPG
Фирменный герметик Toyota 1281, Three Bond 1281 или аналогичный
Note:Наносите FIPG на уплотняемую поверхность непрерывным валиком (шириной 1,2 мм (0,0472 дюйма)) вдоль поверхности уплотнения картера трансмиссии в блоке с главной передачей.
-
Установите заднюю крышку трансмиссии на картер трансмиссии и закрепите ее 12 болтами.
22,7 Н*м
231 кгс*см
17 фунт-сила-футов
-
*a
Герметик
Нанесите герметик на 2-3 витка резьбы и концы 2 болтов.
Фиксатор
Фирменный герметик 1324 от компании Toyota, Three Bond 1324 или аналогичный
Note:Обязательно вверните 2 болта сразу после нанесения герметика во избежание приклеивания к ним посторонних частиц.
-
Заверните 2 болта.
16,9 Н*м
172 кгс*см
12 фунт-сила-футов
-
УСТАНОВИТЕ ПРОБКУ ЗАДНЕЙ КРЫШКИ ТРАНСМИССИИ
-
Покройте 3 новых кольцевых уплотнения трансмиссионной жидкостью и установите их на 3 пробки задней крышки трансмиссии.
Note:Убедитесь, что 3 кольцевых уплотнения не перекручены.
Установите 3 пробки задней крышки трансмиссии на заднюю крышку трансмиссии.
7,4 Н*м
75 кгс*см
65 фунт-сила-дюймов
-
УСТАНОВИТЕ ПРОБКУ ЗАЛИВНОГО ОТВЕРСТИЯ
-
Установите новую прокладку на пробку наливного отверстия.
Установите пробку наливного отверстия на заднюю крышку трансмиссии.
49 Н*м
500 кгс*см
36 фунт-сила-футов
-
ПРОВЕРЬТЕ ОСЕВОЙ ЛЮФТ ПЕРВИЧНОГО ВАЛА В СБОРЕ
Нажмите здесьClick hereClick here
УСТАНОВИТЕ ПРОКЛАДКУ КАРТЕРА ТРАНСМИССИИ
Нажмите здесьClick here
УСТАНОВИТЕ ОБРАТНЫЙ КЛАПАН № 1
Нажмите здесьClick here
УСТАНОВИТЕ КОРПУС КЛАПАНОВ ТРАНСМИССИИ В СБОРЕ
Нажмите здесьClick here
УСТАНОВИТЕ СЕТЧАТЫЙ МАСЛЯНЫЙ ФИЛЬТР КОРПУСА КЛАПАНОВ В СБОРЕ
Нажмите здесьClick here
УСТАНОВИТЕ МАГНИТ МАСЛЯНОГО ФИЛЬТРА ТРАНСМИССИИ
Нажмите здесьClick here
УСТАНОВИТЕ ПРОКЛАДКУ МАСЛЯНОГО ПОДДОНА АВТОМАТИЧЕСКОЙ ТРАНСМИССИИ
Нажмите здесьClick here
УСТАНОВИТЕ МАСЛЯНЫЙ ПОДДОН АВТОМАТИЧЕСКОЙ ТРАНСМИССИИ В СБОРЕ
Нажмите здесьClick here
УСТАНОВИТЕ ПАТРУБОК МАСЛОНАЛИВНОЙ ГОРЛОВИНЫ ТРАНСМИССИИ № 1
-
С помощью шестигранного торцевого ключа на 6 мм установите патрубок маслоналивной горловины трансмиссии № 1 на масляный поддон автоматической трансмиссии.
1,7 Н*м
17 кгс*см
15 фунт-сила-дюймов
-
УСТАНОВИТЕ ПРОБКУ ПЕРЕЛИВНОГО ОТВЕРСТИЯ
-
Используя шестигранный торцевой ключ (на 6 мм), установите пробку переливного отверстия и новую прокладку на масляный поддон автоматической трансмиссии.
40 Н*м
408 кгс*см
30 фунт-сила-футов
-
УСТАНОВИТЕ САЛЬНИК ЛЕВОГО ПЕРЕДНЕГО ПРИВОДНОГО ВАЛА
Смажьте кромку нового сальника левого переднего приводного вала универсальной консистентной смазкой.
-
*a
Глубина
С помощью SST и молотка установите сальник левого переднего приводного вала на картер трансмиссии.
09316-10010
09950-70010
09951-07100
Номинальная глубина
-0,5 - 0,5 мм (-0,0197 - 0,0197 дюйма)
Note:Убедитесь, что сальник левого переднего приводного вала установлен с соблюдением правильной ориентации.
Не допускайте повреждения кромки сальника левого переднего приводного вала.
УСТАНОВИТЕ САЛЬНИК ПРАВОГО ПЕРЕДНЕГО ПРИВОДНОГО ВАЛА
Смажьте кромку нового сальника правого переднего приводного вала универсальной консистентной смазкой.
-
*a
Глубина
С помощью SST и молотка установите сальник правого переднего приводного вала на кожух трансмиссии.
09316-60011
09316-00011
Номинальная глубина
-0,5 - 0,5 мм (-0,0197 - 0,0197 дюйма)
Note:Убедитесь, что сальник правого переднего приводного вала установлен с соблюдением правильной ориентации.
Не допускайте повреждения кромки сальника правого переднего приводного вала.
УСТАНОВИТЕ ПРОБКУ № 2 КАРТЕРА ТРАНСМИССИИ В БЛОКЕ С ГЛАВНОЙ ПЕРЕДАЧЕЙ
Очистите и обезжирьте 3 пробки картера трансмиссии № 2 и установочные отверстия в кожухе трансмиссии.
Установите 3 новые прокладки на 3 пробки картера трансмиссии № 2.
-
*a
Герметик
Нанесите герметик на 2 - 3 витка резьбы на концах 3 пробок картера трансмиссии № 2.
Герметик
Фирменный герметик 1324 от компании Toyota, Three Bond 1324 или аналогичный
Note:Обязательно вверните 3 пробки картера трансмиссии № 2 сразу после нанесения герметика во избежание приклеивания к ним посторонних частиц.
-
С помощью шестигранного торцевого ключа на 6 мм установите 3 пробки картера трансмиссии № 2 на кожух трансмиссии.
17 Н*м
173 кгс*см
13 фунт-сила-футов
УСТАНОВИТЕ ПРОБКУ № 1 КАРТЕРА ТРАНСМИССИИ В БЛОКЕ С ГЛАВНОЙ ПЕРЕДАЧЕЙ
-
Нанесите трансмиссионную жидкость на 3 новых кольцевых уплотнения и установите их на 3 пробки № 1 картера трансмиссии.
Note:Убедитесь, что 3 кольцевых уплотнения не перекручены.
Установите 3 пробки № 1 картера трансмиссии на картер трансмиссии.
7,4 Н*м
75 кгс*см
65 фунт-сила-дюймов
-
УСТАНОВИТЕ КОЛЕНЧАТЫЙ ПАТРУБОК МАСЛЯНОГО РАДИАТОРА
-
*a
0 - 15°
*b
Длина плеча динамометрического ключа
Покройте новое кольцевое уплотнение жидкостью для автоматических трансмиссий и установите его на коленчатый патрубок масляного радиатора.
С помощью SST установите коленчатый патрубок масляного радиатора на картер трансмиссии.
09922-10010
Номинальный момент затяжки
27 Н*м
275 кгс*см
20 фунт-сила-футов
Tip:Рассчитайте показание динамометрического ключа при изменении длины рычага динамометрического ключа.
Нажмите здесьClick hereClick hereClick here
При использовании SST (длина рычага 137 мм, 5,39 дюйма)) + динамометрический ключ (длина рычага 180 мм (7,09 дюйма)):
15,3 Н*м (156 кгс*см, 11 фунт-сила-футов)
-
УСТАНОВИТЕ ШТУЦЕР МАСЛЯНОГО РАДИАТОРА В СБОРЕ
-
*1
Пустотелый соединительный болт-штуцер
*2
Прокладка
*3
Штуцер масляного радиатора в сборе
Временно закрепите штуцер масляного радиатора в сборе на картере трансмиссии в сборе болтом.
Вверните штуцер масляного радиатора в сборе и установите 2 новые прокладки на картер трансмиссии в сборе и закрепите пустотелым соединительным болт-штуцером, как показано на рисунке.
27,5 Н*м
280 кгс*см
20 фунт-сила-футов
Затяните болт.
12 Н*м
122 кгс*см
9 фунт-сила-футов
-
УСТАНОВИТЕ ДАТЧИК ПОЛОЖЕНИЯ ПАРКИНГА / НЕЙТРАЛИ В СБОРЕ
-
*a
Выступ
Выровняйте выступы датчика положения паркинга/нейтрали, как показано на рисунке.
-
Закрепите датчик положения паркинга/нейтрали 2 болтами на картере трансмиссии.
5,4 Н*м
55 кгс*см
48 фунт-сила-дюймов
Note:Прежде чем устанавливать датчик положения паркинга/нейтрали в сборе, удалите всю грязь и ржавчину с вала рычага клапана с ручным управлением в сборе. Следите за тем, чтобы датчик положения паркинга/нейтрали устанавливался строго вдоль вала рычага клапана с ручным управлением, и будьте осторожны, чтобы не деформировать плоскую пружину, поддерживающую вал рычага клапана с ручным управлением. Если плоская пружина деформирована, датчик положения паркинга/нейтрали не может быть установлен правильно.
После установки датчика положения паркинга/нейтрали убедитесь в том, что 2 выступа на датчике положения паркинга/нейтрали выровнены.
-
УСТАНОВИТЕ РЫЧАГ ПРИВОДНОГО ВАЛА ТРАНСМИССИИ
-
Установите рычаг приводного вала трансмиссии на вал рычага клапана с ручным управлением и закрепите его шайбой и гайкой.
12,7 Н*м
130 кгс*см
9 фунт-сила-футов
-
УСТАНОВИТЕ ШЛАНГ ПРОБКИ САПУНА
-
*1
Пробка сапуна № 1
*2
Шланг пробки сапуна
*3
Пробка сапуна № 2
*4
Кольцевое уплотнение
Нанесите жидкость для автоматических трансмиссий на новое кольцевое уплотнение и установите его на пробку сапуна № 2.
Note:Убедитесь, что кольцевое уплотнение не перекручено.
Установите пробку сапуна № 2 на шланг пробки сапуна.
Установите пробку сапуна № 1 на шланг пробки сапуна.
-
Установите шланг сапуна трансмиссии на картер трансмиссии.
Note:Убедитесь, что упор на пробке сапуна № 2 соприкасается со стороной выступа на картере трансмиссии в сборе.
-