СЕНСОРНАЯ СИСТЕМА ПОМОЩИ ПРИ ПАРКОВКЕ LEXUS (для моделей без интеллектуальной системы ультразвуковой локации) ОПИСАНИЕ СИСТЕМЫ

  1. ОБЩИЕ СВЕДЕНИЯ

    1. Данная система использует ультразвуковые датчики для обнаружения препятствий сбоку и сзади автомобиля. Система информирует водителя о дистанции между датчиками и препятствиями, указывая положения препятствий на мультиинформационном дисплее (в щитке приборов) или многофункциональном дисплее (на многофункциональном дисплее) и включая зуммер.

  2. НАЗНАЧЕНИЕ УЗЛОВ И ДЕТАЛЕЙ

    Устройство

    Функция

    • Передний угловой ультразвуковой датчик (левый передний датчик)

    • Передний угловой ультразвуковой датчик (правый передний датчик)

    • Передний центральный ультразвуковой датчик (левый передний центральный датчик)

    • Передний центральный ультразвуковой датчик (правый передний центральный датчик)

    • Задний угловой ультразвуковой датчик (левый задний датчик)

    • Задний угловой ультразвуковой датчик (правый задний датчик)

    • Задний центральный ультразвуковой датчик (левый задний центральный датчик)

    • Задний центральный ультразвуковой датчик (правый задний центральный датчик)

    Определяет расстояние между автомобилем и препятствием

    Зуммер предупреждения о недопустимой дистанции № 1

    Подает звуковой сигнал, информируя водителя о дистанции до препятствия

    Мультиинформационный дисплей (на щитке приборов)

    • Отображает положение препятствия и приблизительное расстояние между автомобилем и препятствием

    • Отображает сообщение о неисправности ультразвукового датчика, предупреждая водителя

    Индикатор датчика системы ультразвуковой локации на щитке приборов

    Загорается, информируя водителя о включении питания сенсорной системы помощи при парковке LEXUS (питание включено (IG), и сенсорная система помощи при парковке LEXUS включена)

    Щиток приборов в сборе

    Передает сигнал включения/выключения в ЭБУ предупреждения о недопустимой дистанции

    Переключатель на рулевом колесе в сборе

    - Переключатель мультиинформационного дисплея

    Разрешает, запрещает или отключает работу сенсорной системы помощи при парковке LEXUS, передавая переключающий сигнал на щиток приборов в сборе

    ЭБУ предупреждения о недопустимой дистанции в сборе

    • Оценивает приблизительное расстояние между автомобилем и препятствием, исходя из сигналов ультразвуковых датчиков, и передает эти данные в мультиинформационный дисплей и радиоприемник

    • Оценивает приблизительное расстояние между автомобилем и препятствием, исходя из сигналов ультразвуковых датчиков, и передает эти данные в мультиинформационный дисплей, радиоприемник и ЭБУ системы помощи при парковке*1

    • Оценивает приблизительное расстояние между автомобилем и препятствием, исходя из сигналов ультразвуковых датчиков, и передает эти данные в мультиинформационный дисплей, радиоприемник и заднюю телекамеру*2

    • Оценивает примерное расстояние между автомобилем и препятствием по сигналам от ультразвуковых датчиков и включает зуммер.

    • Получает сигнал настройки временного отключения звука и информацию экрана настройки системы ультразвуковой локации от радиоприемника по шине CAN

    Главный ЭБУ кузова (бортовой ЭБУ сети мультиплексной связи)

    Передает в ЭБУ предупреждения о недопустимой дистанции сведения о пункте назначения

    ECM

    Передает в ЭБУ предупреждения о недопустимой дистанции в сборе сигнал положения рычага переключения передач

    Радиоприемник в сборе

    • Получает по шине CAN информацию от ультразвукового датчика и передает ее в многофункциональный дисплей по кабелю для передачи цифровых данных

    • Передает настройки пользователя с многофункционального дисплея в ЭБУ предупреждения о недопустимой дистанции.

    • Передает сигнал временного отключения звука и информацию экрана установок системы ультразвуковой локации в ЭБУ предупреждения о недопустимой дистанции по шине CAN.

    Многофункциональный дисплей в сборе

    • Получает видеосигналы от радиоприемника в сборе и выводит изображение на панель дисплея

    • Получает видеосигналы от ЭБУ системы помощи при парковке и отображает изображение на панели дисплея*1

    • Получает видеосигналы от задней телекамеры в сборе и выводит изображение на панель дисплея*2

    ЭБУ системы помощи при парковке*1

    Получает по шине CAN информацию от ультразвукового датчика и передает ее в многофункциональный дисплей по кабелю для передачи видеосигнала

    Задняя телекамера в сборе*2

    Получает по шине CAN информацию от ультразвукового датчика и передает ее в многофункциональный дисплей по кабелю для передачи видеосигнала

    • *1: для моделей с системой панорамного обзора

    • *2: Для моделей с системой помощи при парковке

  3. ОПИСАНИЕ РАБОТЫ

    1. Условия работы каждого ультразвукового датчика различаются в зависимости от положения его установки, как показано в следующей таблице.

      Установочное положение

      Условия работы

      Передний угловой

      • Зажигание включено (IG).

      • Сенсорная система помощи при парковке LEXUS включена.

      • рычаг переключения передач в любом положении, кроме P.

      • Скорость автомобиля менее приблизительно 10 км/час (6 мили в час).

      Передний центральный

      • Зажигание включено (IG).

      • Сенсорная система помощи при парковке LEXUS включена.

      • Рычаг переключения передач находится в любом положении помимо P и R.

      • Скорость автомобиля менее приблизительно 10 км/час (6 мили в час).

      Задний угловой

      • Зажигание включено (IG).

      • Сенсорная система помощи при парковке LEXUS включена.

      • Рычаг переключения передач в положении R.

      • Скорость автомобиля менее приблизительно 10 км/час (6 мили в час).

      Задний центральный

      Во время работы системы ультразвуковые датчики под управлением ЭБУ предупреждения о недопустимой дистанции излучают ультразвуковые колебания. Когда эти колебания сталкиваются с препятствием, находящимся в одной или нескольких зонах распознаваемых дистанций датчиков, они отражаются и возвращаются к датчикам, которые направляют соответствующие сигналы в ЭБУ предупреждения о недопустимой дистанции.

      На основании этой информации ЭБУ предупреждения о недопустимой дистанции в сборе передает сигналы в радиоприемник в сборе, щиток приборов в сборе и зуммер предупреждения о недопустимой дистанции № 1. В результате на дисплеях показывается приблизительное расстояние между автомобилем и препятствием, и зуммер издает звуковой сигнал.

      Tip:

      См. раздел "Измерение распознаваемой дистанции и проверка дисплея".

      Нажмите здесьClick here

  4. СИГНАЛЫ ПЕРЕДАЧИ ДАННЫХ УСТРОЙСТВ

    Tip:
    • Под назначением понимается процесс присвоения ЭБУ предупреждения о недопустимой дистанции индивидуальных идентификаторов для датчиков.

    • Датчики на автомобиле объединены в 2 группы. Существуют передние и задние датчики. Все датчики включены в "гирляндную цепь".

    1. Режим инициализации:

      Каждому датчику присваивается идентификатор, после чего выполняется диагностика датчика.

      E384445C01

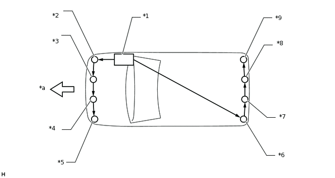
      *1

      ЭБУ предупреждения о недопустимой дистанции в сборе

      *2

      ПЕРЕДНИЙ УГЛОВОЙ УЛЬТРАЗВУКОВОЙ ДАТЧИК (ПРАВЫЙ ПЕРЕДНИЙ ДАТЧИК)

      *3

      ПЕРЕДНИЙ ЦЕНТРАЛЬНЫЙ УЛЬТРАЗВУКОВОЙ ДАТЧИК (ПРАВЫЙ ПЕРЕДНИЙ ЦЕНТРАЛЬНЫЙ ДАТЧИК)

      *4

      ПЕРЕДНИЙ ЦЕНТРАЛЬНЫЙ УЛЬТРАЗВУКОВОЙ ДАТЧИК (ЛЕВЫЙ ПЕРЕДНИЙ ЦЕНТРАЛЬНЫЙ ДАТЧИК)

      *5

      ПЕРЕДНИЙ УГЛОВОЙ УЛЬТРАЗВУКОВОЙ ДАТЧИК (ЛЕВЫЙ ПЕРЕДНИЙ ДАТЧИК)

      *6

      ЗАДНИЙ УГЛОВОЙ УЛЬТРАЗВУКОВОЙ ДАТЧИК (ЛЕВЫЙ ЗАДНИЙ ДАТЧИК)

      *7

      ЗАДНИЙ ЦЕНТРАЛЬНЫЙ УЛЬТРАЗВУКОВОЙ ДАТЧИК (ЛЕВЫЙ ЗАДНИЙ ЦЕНТРАЛЬНЫЙ ДАТЧИК)

      *8

      ЗАДНИЙ ЦЕНТРАЛЬНЫЙ УЛЬТРАЗВУКОВОЙ ДАТЧИК (ПРАВЫЙ ЗАДНИЙ ЦЕНТРАЛЬНЫЙ ДАТЧИК)

      *9

      ЗАДНИЙ УГЛОВОЙ УЛЬТРАЗВУКОВОЙ ДАТЧИК (ПРАВЫЙ ЗАДНИЙ ДАТЧИК)

      -

      -

      *a

      Передняя сторона

      -

      -

      1. Во время первоначальной проверки (зажигание включено (IG), как и сенсорная система помощи при парковке LEXUS) ЭБУ предупреждения о недопустимой дистанции подает напряжение на первые датчики в каждом ряду (левый передний датчик и правый задний датчик).

      2. После подачи питания левый передний датчик и правый задний датчик переходят в режим ожидания идентификаторов от ЭБУ. По истечении определенного периода времени ЭБУ передает датчикам сигналы назначения идентификаторов.

      3. Левый передний датчик и правый задний датчик принимают сигналы назначения идентификаторов от ЭБУ и выполняют самодиагностику. По окончании самодиагностики датчиков ЭБУ передает датчикам сигналы подтверждения назначения идентификаторов.

      4. После подтверждения назначения идентификаторов ЭБУ через первые датчики подает питание на вторые датчики каждого ряда (левый центральный передний и правый центральный задний датчики). Так же как и первые датчики, вторые датчики переходят в режим ожидания. По истечении определенного периода времени ЭБУ отправляет вторым датчикам сигналы назначения идентификаторов.

      5. Рассмотренная последовательность действий повторяется до тех пор, пока идентификатор не будет назначен последнему датчику (правому переднему датчику или левому заднему датчику). По окончании назначения идентификаторов ультразвуковым датчикам инициализация завершается.

    2. Режим распознавания:

      После завершения работы в режиме инициализации система переключается в режим распознавания. В этом режиме ЭБУ предупреждения о недопустимой дистанции передает ультразвуковым датчикам сигналы запроса данных и сигналы активации датчиков и получает от датчиков сигналы результата распознавания.

      1. В соответствии с графиком передачи данных на шине ЭБУ регулярно передает всем ультразвуковым датчикам сигналы идентификации, сигналы запроса данных и сигналы активации датчиков.

      2. По истечении определенного периода времени (после завершения датчиком операции распознавания) ЭБУ передает датчику сигнал идентификации, чтобы получить сигнал результата распознавания.

      3. Ультразвуковой датчик направляет в ЭБУ сигнал результата распознавания или сигнал данных распознавания.

      4. Описанные выше действия периодически выполняются для каждого из ультразвуковых датчиков.