СИСТЕМА ECD (для моделей с DPF) Шум турбонагнетателя

ОПИСАНИЕ

Tech Tips

Выделяют 2 типа шума турбонагнетателя. К первому относят свистящий шум, ко второму – шум, имеющий характер подвывания. При поиске неисправности, прежде всего, должен быть определен тип шума.

Описание
Тип помех Описание шума Основной участок неисправности
Свистящий шум Громкость и тон этого шума пропорциональны частоте вращения турбонагнетателя или частоте вращения коленчатого вала двигателя. Соответственно, шум становится более ощутимым по мере увеличения частоты вращения коленчатого вала двигателя.
  • Турбонагнетатель (напр., разбалансировка вала)

  • Шестерня уравновешивающего вала

  • Передача трансмиссии

  • Подсос воздуха в системе впуска воздуха

  • Поломка в воздухозаборной системе

Шум, имеющий характер подвывания Этот шум имеет более низкий тон по сравнению со свистящим шумом. Обычно он возникает в диапазоне частот вращения коленчатого вала двигателя 1500-2500 об/мин и имеет довольно стабильный тон, не зависящий от частоты вращения коленчатого вала и скорости автомобиля.

Турбонагнетатель

Tech Tips


  • Пример: вибрация турбонагнетателя сообщается выпускной трубе, что вызывает резонанс и создает шум.

  • Пример: вибрация турбонагнетателя передается через выпускную трубу и сообщается кузову автомобиля (днищу), который вибрирует, создавая шум.


  1. Неисправности узлов дизельного двигателя и их признаки

    Система турбонагнетателя
    Основная неисправность Разбалансировка вала турбины турбонагнетателя
    Признаки

    Высокочастотный свистящий шум

    Tech Tips

    Тон и громкость изменяются пропорционально частоте вращения турбонагнетателя.

    Система впуска
    Основная неисправность Утечка
    Признаки Шум утечки
    Шестерня уравновешивающего вала
    Признаки

    Шум шестерен

    Tech Tips

    Тон и громкость изменяются пропорционально частоте вращения коленчатого вала двигателя.

    Передаточный механизм трансмиссии
    Признаки

    Шум шестерен

    Tech Tips

    Тон и громкость изменяются пропорционально передаче в трансмиссии.

ПОСЛЕДОВАТЕЛЬНОСТЬ ПРОВЕРКИ

Note


  • Перед выполнением следующей процедуры проверки проверьте предохранители цепей, относящихся к данной системе.

  • После замены новый ЕСМ необходимо зарегистрировать (см. стр. Click here) и инициализировать (см. стр. Click here).

  • После замены нагнетающего топливного насоса в сборе необходимо выполнить инициализацию ЕСМ (см. стр. Click here).

  • После замены форсунки необходимо выполнить регистрацию ЕСМ (см. стр. Click here).

ПОРЯДОК ВЫПОЛНЕНИЯ


  1. ОПРЕДЕЛИТЕ УСЛОВИЯ, В КОТОРЫХ ВОЗНИКАЕТ ШУМ


    1. Узнайте у клиента условия, при которых возникал шум.

      Tech Tips

      Чтобы точнее определить условия, в которых возникал шум, воспользуйтесь характеристиками, перечисленными в таблице ниже.

      Параметр / Устройство Примечание
      Частота вращения коленчатого вала двигателя Диапазон частот вращения коленчатого вала двигателя
      Скорость движения автомобиля Диапазон скоростей автомобиля
      Передача трансмиссии Какая передача включена?
      Измерение положения педали акселератора Во время разгона или замедления?
      Температура
      • Температура окружающего воздуха

      • Температура двигателя (непрогрет, прогрет и т.п.)

      Дорожные условия
      • Движение в городских условиях или по автомагистрали

      • Подъем или спуск

      Уровень шума
      • Шум появлялся внезапно или нарастал постепенно?

      • Шум постепенно становился громче?

      Прочие признаки
      • Недостаточная мощность

      • Высокий расход топлива и т.д.

      Выявление шума Что побудило клиента определить шум как ненормальный?

    ДАЛЕЕ
  2. ПРОВЕРЬТЕ, ВОЗНИКАЕТ ЛИ ОПИСАННЫЙ КЛИЕНТОМ ШУМ (ПРОЦЕДУРА 2)


    1. Проверьте, возникает ли шум, описанный клиентом.

      Tech Tips

      Если шум слышен, убедитесь, что он соответствует шуму, описанному клиентом.

      Результат
      Результат Следующий шаг
      Возникновение явно ненормального шума, соответствующего описанию, данному клиентом, подтверждено А
      Возникновение явно ненормального шума, соответствующего описанию, данному клиентом, не подтверждено B

    B
    А
  3. ПРОВЕРЬТЕ СИСТЕМУ ВПУСКА


    1. Проверьте, есть ли утечка воздуха между воздушным фильтром и турбонагнетателем, а также между турбонагнетателем и впускным коллектором.

      Tech Tips


      • Проверьте, есть ли отсоединенные или неправильно подсоединенные шланги, а также зазоры между шлангами и деталями.

      • Проверьте, есть ли посторонние материалы между воздушным фильтром и турбонагнетателем.


    NG
    OK
  4. ОПРЕДЕЛИТЕ ИСТОЧНИК ШУМА (ТУРБОНАГНЕТАТЕЛЬ ИЛИ НЕТ)


    1. Подключите GTS к DLC3.

    2. Запустите и прогрейте двигатель.

    3. Включите GTS.

    4. Войдите в следующие меню: Powertrain / Engine and ECT / Active Test / Activate the VN Turbo Open.

    5. Выполните испытание Active Test при условиях*, которые имели место во время возникновения шума, описанного клиентом, сравните этот шум с шумом, слышимым, когда испытание Active Test не выполняется, и проверьте, снизился ли уровень шума.

      Tech Tips

      *: примерами таких условий являются холостой ход, разгон двигателя и движение с полностью открытой дроссельной заслонкой.

      Результат
      Результат Следующий шаг
      Шум ослабляется (или исчезает) А
      Шум остается таким же, как в процедуре 2 (шум не изменяется) B

      Tech Tips


      • При выполнении испытания Active Test "Activate the VN Turbo Open" (открывание регулируемого сопла турбонагнетателя) регулируемое сопло турбонагнетателя полностью открывается независимо от состояния двигателя, и частота вращения турбонагнетателя не увеличивается.

      • Если источником шума является турбонагнетатель, при выполнении испытания Active Test "Activate the VN Turbo Open" шум будет ослабляться, поскольку в это время частота вращения турбонагнетателя не увеличивается.


    B
    А
  5. ПРОВЕРЬТЕ ТИП ШУМА


    1. Проверьте, слышен ли шум, когда частота вращения коленчатого вала двигателя превышает 3000 об/мин, и становится ли он постепенно громче по мере увеличения частоты вращения коленчатого вала.

      Tech Tips

      Если это так, шум, по-видимому, является свистящим. Если это не так, шум, по-видимому, имеет характер подвывания.

      Результат
      Результат Следующий шаг
      Да (шум, по-видимому, является свистящим) А
      Нет (шум, по-видимому, имеет характер подвывания) B

    B
    А
  6. ОТРЕГУЛИРУЙТЕ ПОЛОЖЕНИЕ ВЫПУСКНОЙ ТРУБЫ И ПРОВЕРЬТЕ, ПОЯВЛЯЕТСЯ ЛИ ШУМ


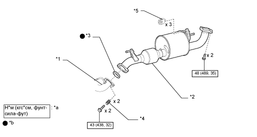
    1. Отсоедините приемную трубу в сборе в зоне шарового шарнира, а также от всех опор выпускной трубы, отрегулируйте ее положение, а затем снова подсоедините к каждой опоре и в зоне шарового шарнира (см. стр. Click here).

      B007P6UE01
      Обозначения на рисунке
      *1 Приемная труба в сборе *2 Центральная выпускная труба в сборе
      *3 Прокладка (шаровой шарнир) *4 Пружина сжатия
      *5 Опора выпускной трубы - -
      *a Номинальный момент затяжки *b Детали однократного применения
    2. Проверьте, решена или нет проблема, связанная с возникновением шума.

      Tech Tips

      Регулировка положения выпускной трубы влияет на шум, имеющий характер подвывания.

      Результат
      Результат Следующий шаг
      Проблема, связанная с возникновением шума, решена А
      Проблема, связанная с возникновением шума, не решена B

    B
    А
  7. ПРОВЕРЬТЕ НАЛИЧИЕ ИСТОЧНИКА ШУМА ПОМИМО ТУРБОНАГНЕТАТЕЛЯ (ПРОЦЕДУРА 7)


    1. Проверьте наличие источника шума.


      1. Запустите двигатель

      2. Разгоните двигатель и проверьте, ослабляется ли шум по мере снижения частоты коленчатого вала двигателя.

        Tech Tips


        • Если шум ослабляется одновременно со снижением частоты коленчатого вала двигателя, источником шума являются шестерни.

        • Если шум ослабляется вскоре после снижения частоты коленчатого вала двигателя, источником шума является турбонагнетатель.


    ДАЛЕЕ
  8. ЗАМЕНИТЕ ДЕТАЛИ, КОТОРЫЕ БЫЛИ ОПРЕДЕЛЕНЫ КАК ИСТОЧНИК ШУМА В ПРОЦЕДУРЕ 7


    1. Замените детали, которые были определены как источник шума в процедуре 7.


    ДАЛЕЕ
  9. ПРОВЕРЬТЕ, УСТРАНЕНА ЛИ ДОЛЖНЫМ ОБРАЗОМ НЕИСПРАВНОСТЬ


    1. Проверьте, была ли успешно решена проблема, связанная с возникновением шума.


    ДАЛЕЕ
  10. ОБЪЯСНИТЕ КЛИЕНТУ, ЧТО ОТМЕЧЕННЫЙ ИМ ШУМ ЯВЛЯЕТСЯ НОРМАЛЬНЫМ


    1. Объясните клиенту, что отмеченный им шум является нормальным.

      Tech Tips

      Чтобы помочь клиенту понять это, целесообразно провести вместе с клиентом дорожное испытание другого автомобиля.


    ДАЛЕЕ