CRUISE CONTROL SYSTEM PARTS LOCATION

A01EZJGE01
Text in Illustration (Models with Gasoline Engine:)
*A Models with VSC *B Models with Automatic Transmission
*1 Skid Control ECU *2

Throttle Body Assembly

- Throttle Control Motor

- Throttle Position Sensor

*3 Park/Neutral Position Switch Assembly - -
A01EZLLE02
Text in Illustration (Models with Diesel Engine:)
*A Models with VSC *B Models with Automatic Transmission
*1 Injector Assembly *2 Skid Control ECU
*3 Park/Neutral Position Switch Assembly *4 EDU
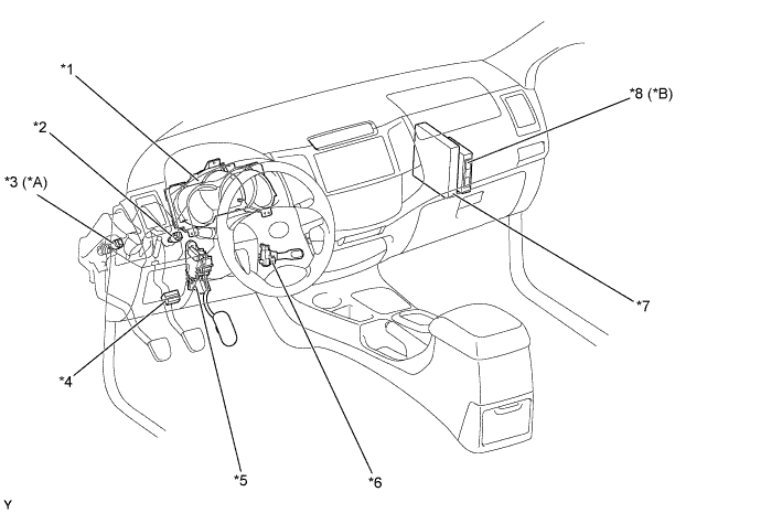
A01EZRSE01
Text in Illustration
*A Models with Manual Transmission *B Models with Diesel Engine and Automatic Transmission
*1 Combination Meter Assembly *2 Stop Light Switch Assembly
*3 Clutch Switch Assembly *4 DLC3
*5 Accelerator Pedal Position Sensor *6 Cruise Control Main Switch
*7 ECM *8 TCM