THEFT DETERRENT SYSTEM, Diagnostic DTC:B2762

DTC Code DTC Name
B2762 Intrusion Sensor Signal Circuit Malfunction

DESCRIPTION

The intrusion sensor (theft warning ultrasonic sensor) conducts self-diagnosis immediately after power is supplied to the sensor (when the theft deterrent system is set).

If a malfunction is detected in the ISIF line, the main body ECU (multiplex network body ECU) stores this DTC.

DTC No.

Detection Item

DTC Detection Condition

Trouble Area

B2762

Intrusion Sensor Signal Circuit Malfunction

  1. After normal/trouble signal is output from intrusion sensor (theft warning ultrasonic sensor) as result of self-diagnosis, following malfunctions are detected:

  2. ISIF line circuit is open

  3. Reception of signals other than normal/trouble signal

  • Map light assembly

  • Intrusion sensor (theft warning ultrasonic sensor)

  • Main body ECU (multiplex network body ECU)

  • Harness or connector

WIRING DIAGRAM

B300521E19

CAUTION / NOTICE / HINT

Note:
  • Inspect the fuses for circuits related to this system before performing the following inspection procedure.

  • When replacing the main body ECU (multiplex network body ECU), make sure to replace it with a new one.

PROCEDURE

  1. CHECK HARNESS AND CONNECTOR (MAP LIGHT ASSEMBLY - AUXILIARY BATTERY AND BODY GROUND)

    1. B432112C02

      *a

      Front view of wire harness connector

      (to Map Light Assembly)

      Disconnect the map light assembly connector.

    2. Measure the voltage according to the value(s) in the table below.

      Standard Voltage

      Tester Connection

      Condition

      Specified Condition

      Q16-13 (+B2) - Body ground

      Always

      11 to 14 V

    3. Measure the resistance according to the value(s) in the table below.

      Standard Resistance

      Tester Connection

      Condition

      Specified Condition

      Q16-20 (GND) - Body ground

      Always

      Below 1 Ω

    Result

    Proceed to

    OK

    NG

    NG

    REPAIR OR REPLACE HARNESS OR CONNECTOR

    OK
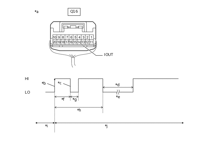
  2. CHECK WAVEFORM (INTRUSION SENSOR [THEFT WARNING ULTRASONIC SENSOR]) (IOUT)

    1. Using an oscilloscope, check the waveform.

      B432111C02

      *a

      Component with harness connected

      (Map Light Assembly)

      *b

      IOUT Initial Signal

      *c

      IOUT Initial Response

      *d

      Approximately 1.0 seconds

      *e

      Initial Diagnosis

      *f

      Approximately 1.0 to 1.6 seconds

      *g

      Approximately 0.05 seconds

      *h

      Approximately 5.5 seconds

      *i

      Disarmed State

      *j

      Arming Preparation State

      *k

      HI

      *l

      LO

      Table 1. Measurement Condition

      Tester Connection

      Content

      Tester Connection

      Q16-14 (IOUT) - Body ground

      Tool Setting

      2 V/DIV., 100 ms./DIV.

      Condition

      Theft deterrent system is set (system changes from disarmed state to arming preparation state)

      Tip:
      • If the intrusion sensor (theft warning ultrasonic sensor) is normal, an initial response is output in response to the HI input from the main body ECU (multiplex network body ECU).

      • If the waveform output remains LO, there may be a problem with the main body ECU (multiplex network body ECU), as there is no input from the main body ECU (multiplex network body ECU).

      OK

      The waveform displays properly (HI is 6.5 V or higher and LO is below 1 V).

    Result

    Result

    Proceed to

    NG (Waveform output remains LO)

    A

    NG (There is no initial response and the waveform output remains HI)

    B

    OK (There is an initial response)

    C

    B

    USE SIMULATION METHOD TO CHECK

    C

    REPLACE MAP LIGHT ASSEMBLYClick here

    A
  3. CHECK HARNESS AND CONNECTOR (MAIN BODY ECU [MULTIPLEX NETWORK BODY ECU] - MAP LIGHT ASSEMBLY)

    1. Disconnect the G79 main body ECU (multiplex network body ECU) connector.

    2. Disconnect the Q16 map light assembly connector.

    3. Measure the resistance according to the value(s) in the table below.

      Standard Resistance

      Tester Connection

      Condition

      Specified Condition

      G79-12 (ISIF) - Q16-14 (IOUT)

      Always

      Below 1 Ω

      G79-12 (ISIF) - Body ground

      Always

      10 kΩ or higher

      Q16-14 (IOUT) - Body ground

      Always

      10 kΩ or higher

    Result

    Proceed to

    OK

    NG

    OK

    REPLACE MAIN BODY ECU (MULTIPLEX NETWORK BODY ECU)

    NG

    REPAIR OR REPLACE HARNESS OR CONNECTOR

  4. REPLACE MAP LIGHT ASSEMBLY

    1. Temporarily replace the map light assembly with a new or normally functioning one.

      Click here

    Result

    Proceed to

    NEXT

    NEXT
  5. CHECK FOR DTC

    1. Clear the DTCs.

      Click here

      Body Electrical > Main Body > Clear DTCs

    2. Turn the power switch on (IG), then off.

    3. Set the theft deterrent system to "ARMED STATE".

    4. Check that the security indicator changes from illuminated to blinking.

    5. Set the theft deterrent system to "DISARMED STATE".

    6. Check for DTCs.

      Click here

      Body Electrical > Main Body > Trouble Codes

    Result

    Proceed to

    DTC B2762 is not output

    DTC B2762 is output

    DTC B2762 is not output

    END (MAP LIGHT ASSEMBLY WAS DEFECTIVE)

    DTC B2762 is output

    REPLACE INTRUSION SENSOR (THEFT WARNING ULTRASONIC SENSOR)