ENTRY AND START SYSTEM


  1. FUNCTION OF MAIN COMPONENTS


    1. The main components of the start function have the following functions:

      Component Function

      Push Start Switch


      • Transponder Key Amplifier


      • Transmits the push start switch signal to the smart key ECU assembly.

      • Receives the ID code and transmits it to the smart key ECU assembly when the key battery is low.

      Key Receives signals from the antennas and returns the ID code to the door control receiver.
      Indoor Electrical Key Oscillator The indoor electrical key oscillator and the No. 2 indoor electrical key oscillator transmits a request signal from the smart key ECU assembly and form an actuation area inside the vehicle interior.
      Door Control Receiver Receives the ID code from the key and transmits it to the smart key ECU assembly.
      Smart Key ECU Assembly
      • Turns the power source off, on (ACC), on (IG), or to START in accordance with the shift lever position and the state of the stop light switch assembly*1, or the state of the clutch start switch assembly*2.

      • Controls the start function in accordance with the signals received from the switches and each ECU.

      • Certifies the ID code received from the door control receiver and transmits the certification results to the immobiliser code ECU*3 and steering lock ECU.

      Stop Light Switch Assembly*1 Outputs the state of the brake pedal to the smart key ECU assembly.
      Clutch Start Switch Assembly*2 Outputs the state of the clutch pedal to the smart key ECU assembly and ECM.
      Immobiliser Code ECU*3 Receives the steering unlock or engine immobiliser unset request signal from the smart key ECU assembly, certifies it, and transmits each unset signal to the steering lock ECU and ECM.
      ECM
      • Receives the engine start request signal from the smart key ECU assembly, turns on the starter relay assembly, and starts the engine.

      • Receives the signal from the smart key ECU assembly or immobiliser code ECU*3 and performs engine ignition and injection.

      Steering Lock Actuator Assembly


      • Steering Lock ECU

      The steering wheel locks and unlocks according to signals from the smart key ECU assembly.
      Park/neutral Position Switch Assembly*1 Outputs the shift lever position signal to the smart key ECU assembly.

      • *1: Models with A/T

      • *2: Models with M/T

      • *3: Models with immobiliser code ECU

    2. The main components of the entry function have the following functions:

      Component Function
      Key
      • When receiving the request signals that are output by the indoor electrical key oscillators, door electrical key oscillators, and electrical key antenna, the key outputs information such as the key ID and vehicle ID.

      • When the driver pushes the lock or unlock button on the key, the key outputs a request signal.

      • When receiving the radio wave that is output by the transponder key amplifier in the push start switch, the key outputs information such as the key ID and vehicle ID.

      • Integrates with the mechanical key in order to unlock the doors when the key battery is low.

      Smart Key ECU Assembly
      • Judges and certifies the key.

      • Controls the indoor electrical key oscillators, door electrical key oscillator, electrical key antenna and touch sensor.

      • Transmits door lock/unlock request signals during the entry function.

      • Transmits steering lock/unlock request signals.

      • Transmits engine immobiliser set/unset request signals.

      • Records the ID codes between the smart key ECU assembly, immobiliser code ECU*1, and steering lock ECU.

      Main Body ECU (Network Gateway ECU)
      • Receives the request signal from the smart key ECU assembly and actuates the door lock motors to unlock or lock all the doors, and the luggage door.

      • Transmits the condition of each door to the smart key ECU assembly.

      Door Handle Assembly Touch Sensor Transmits the door unlock request signal to the smart key ECU assembly.
      Lock Sensor Transmits the door lock request signal to the smart key ECU assembly.
      Door Electrical Key Oscillator Transmits the request signal from the smart key ECU assembly, and forms an actuation area around the driver's and the front passenger's doors.
      Indoor Electrical Key Oscillator Transmits the request signal from the smart key ECU assembly, and forms an actuation area inside the interior of the vehicle and the interior of the luggage compartment.
      Electrical Key Antenna Transmits the request signal from the smart key ECU assembly, and forms an actuation area around the luggage compartment.
      Door Control Receiver Receives the ID code from the key in the actuation area and transmits it to the smart key ECU assembly.
      Back Door Opener Switch Transmits a luggage door open request signal to the smart key ECU assembly.
      Wireless Door Lock Buzzer When the smart key ECU assembly detects human errors, it warns the driver by sounding the wireless door lock buzzer*2, illuminating the master warning light, and sounding the buzzer in the combination meter assembly in accordance with the request signal from the smart key ECU assembly.
      Combination Meter Assembly Buzzer
      Master Warning Light

      • *1: Models with immobiliser code ECU

      • *2: Except models for China

  2. OPERATING CONDITION


    1. The special functions of the entry and start system only work when the key is in the actuation area formed by the 5 oscillators and the antenna.

    2. The indoor electrical key oscillator and No. 2 indoor electrical key oscillator form the actuation area of the start function.

    3. The door electrical key oscillators and the electrical key antenna form the actuation area of the entry function.

      A004GX2E02
      Actuation Area Details
      Interior The interior actuation area of the indoor electrical key oscillators is formed when the door is opened or closed, when the push start switch is pressed, when the brake pedal is depressed*1, when the clutch pedal is depressed*2, when a warning is activated.
      Exterior The exterior actuation area formed by the door electrical key oscillators and electrical key antenna is approx. 0.4 m to 0.8 m (15.7 in. to 31.5 in.) from the outside door handle of the front doors, or the center of the rear bumper.
      Front Door Area The exterior actuation area of the door electrical key oscillators is formed by transmitting a request signal every 0.25 seconds while the push start switch is off and each door is locked. In this way the proximity of a key can be detected. When locking the door using the lock sensor on the outside door handle, the actuation area is formed when the lock sensor is touched.
      Luggage Compartment Door Area The exterior actuation area of the electrical key antenna is formed when the back door opener switch is on.

      • *1: Models with A/T

      • *2: Models with M/T

  3. FUNCTION


    1. Start Function


      1. The start function has different power source modes to suit the brake pedal condition and shift lever position*1 or clutch pedal condition*2.

      2. When a driver who is carrying a key enters the vehicle while the power source mode is off, and presses the push start switch without depressing the brake pedal*1 or the clutch pedal*2, the power source mode turns on (ACC). With each pressing of the push start switch, the power source mode switches as follows: off → on (ACC) → on (IG) → off.

      3. When a driver who is carrying a key enters the vehicle while the power source mode is off, and depresses the clutch pedal*2 or depresses the brake pedal while the shift lever is in P or N*1. Pressing the push start switch will cause the engine to start.

      4. When starting the engine with the vehicle stopped, pressing the push start switch while the shift lever is in P will cause the power source mode to turn off. Pressing the push start switch when the shift lever is in any position other than P will cause the mode to turn on (ACC).*1

      5. When starting the engine with the vehicle stopped, pressing the push start switch will cause the power source mode to turn off.*2


        • *1: Models with A/T

        • *2: Models with M/T

        A004GR4E05
        A004GPCE13
      6. Transition of the power source mode when the key battery is low or the key is not operating normally due to an electromagnetic interference:


        1. The driver uses the mechanical key (which is built into the key) to unlock the door, and enters the vehicle while carrying the key.

        2. If the driver places the Toyota mark on the key in contact with the front of the push start switch while depressing the brake pedal*1 or clutch pedal*2, the buzzer will sound and power source mode (IG) will be engaged.

        3. With each pressing of the push start switch, the power source mode switches as follows: off → on (ACC) → on (IG) → off. After it turns off, it will be necessary to place the Toyota mark on the key in contact with the front of the push start switch again.


        • *1: Models with A/T

        • *2: Models with M/T

      7. Starting the engine when the key battery is low or the key is not operating normally due to an electromagnetic interference:


        1. The driver uses the mechanical key (which is built into the key) to unlock the door, and enters the vehicle while carrying the key.

        2. If the driver places the Toyota mark of the key in contact with the front of the engine switch while depressing the clutch pedal*2 or the brake pedal while the shift lever is in P or N*1, the buzzer will sound and power source mode (IG) will be engaged.

        3. The driver presses the push start switch while depressing the brake pedal*1 or clutch pedal*2.

        4. Pressing the push start switch starts the engine.


        • *1: Models with A/T

        • *2: Models with M/T

        Tech Tips


        • Normally, the operation of the engine switch is disabled while the vehicle is being driven. However, if the engine must be stopped in an emergency while the vehicle is in motion, the driver can press the engine switch three times quickly or press it for approximately three seconds or more to stop the engine.

        • If no signals are transmitted to the smart key ECU assembly due to a malfunction in the stop light switch*1 or the clutch start switch*2, the engine will not start even if the driver presses the push start switch while depressing the brake pedal*1 or the clutch pedal*2. In this case, the driver can start the engine by the following operations: pressing the push start switch to turn the power source mode from off to on (ACC), and pressing the push start switch again and holding it for 15 seconds or more.

        • The above two operations must be applied only in emergency situations. Under normal conditions, the engine must not be stopped by pressing the push start switch during driving or started without depressing the clutch pedal*2 or brake pedal when the shift lever is in any position other than P or N*1.


          • *1: Models with A/T

          • *2: Models with M/T

    2. Entry Function


      1. The entry function consists of the following functions:

        Function Outline
        Wireless Door Lock Control This function is a convenient system for locking and unlocking all the doors and unlocking the luggage door from a distance. The operation of this function in the entry and start system is the same as that of the wireless door lock control system. However, the receiver in the smart key ECU assembly uses a door control receiver to perform the control.
        Entry Illumination When a key enters any actuation area of the door electrical key oscillator, the map light and push start switch illumination light illuminate.
        Entry Unlock

        When a key is located in the exterior actuation area of a door electrical key oscillator, touching any touch sensor will cause doors to unlock.


        • The driver or passenger front door handle assembly outside unlocks the all doors.*1,*2

        • On the driver side, only the driver's door unlocks, while on the passenger side, all doors unlock.*3,*4

        Entry Lock When a key is located in the exterior actuation area of any door electrical key oscillator or electrical key antenna and the push start switch is off, all doors can be locked by simply touching the lock sensor or pressing the lock switch.
        Entry Luggage Door Open When a key is in an exterior actuation area of the electrical key antenna, the luggage door can be opened manually by simply pressing the back door opener switch.
        Prevention of Key Confinement
        • Prevents the confinement of the key if the door is locked from the outside door handle while the key is still inside the vehicle.

        • When all doors are locked, the wireless door lock buzzer will sound if the luggage door is closed and a key has been left inside the luggage compartment.*5

        Key Cancel

        The following key functions can be canceled by following certain procedures:


        • Entry unlock/lock

        • Luggage door

        • Prevention of key confinement

        • Warning

        Battery Saving To prevent the key battery and the vehicle battery from becoming discharged, the battery saving function activates when the vehicle remains unused for a long period of time.
        Warning The entry and start system causes the smart key ECU assembly to sound the buzzer in the combination meter assembly and wireless door lock buzzer*5 in order to alert the driver.
        Key Code Registration Function A total of 7 keys can be registered. Key registration enables the registering (writing and storing) of transmitter recognition codes in the EEPROM that is contained in the smart key ECU assembly.

        • *1: Except models for Korea

        • *2: Models without double locking system

        • *3: Modes for Korea

        • *4: Models with double locking system

        • *5: Except models for China

    3. Wireless Door Lock Control Function


      1. The wireless door lock control function has the following functions:

        Function Outline Customized Body Electronics System*1
        All Doors Lock Pressing the lock button of the key locks all doors. Default Setting is on.
        All Doors Unlock
        • Pressing the unlock button of the key unlocks all doors. The customization function can be used to set this to unlock the driver side door.*3,*4

        • Pressing the unlock button of the key twice within 5 seconds unlocks all doors after it first unlocks the driver's door. The customization function can be used to set this to unlock the all doors.*5,*6

        Default Setting is on.
        Luggage Door Open Pressing the luggage door open button of the key opens the luggage door. Default Setting is on.
        Answer Back
        • The hazard light flashes once when locking and twice when unlocking to inform that the operation has been completed.*3

        • When the door is locked, the hazard light flashes once and the wireless door lock buzzer sounds once. When the door is unlocked, the hazard light flashes twice and the wireless door lock buzzer sounds twice. When the luggage door is unlocked, the wireless door lock buzzer sounds once. This is to inform the driver that the operation has been completed.*5

        Default Setting is on.
        Automatic Lock If none of the doors are opened within 30 seconds*3 (60 seconds)*5 after they have been unlocked by the wireless door lock control, all the doors will be locked again automatically. The starting time of the automatic lock function can be changed to 120, 60, or 30 seconds. Standard*2
        Door Ajar Warning*7 If any door is open or ajar, pressing the lock button of the key will cause the wireless door lock buzzer to sound for about 10 seconds. Default Setting is on.

        Tech Tips

        *1: The wireless door lock control function can be set on or off. For details, refer to the Repair Manual.

        *2: When the wireless door lock control function is on.

        *3: Except models for Korea

        *4: Models without double locking system

        *5: Models for Korea

        *6: Models with double locking system

        *7: Except models for China

    4. Entry Unlock Function


      1. When a key is located in the exterior actuation area of any door electrical key oscillator, touching the touch sensor of an outside door handle will cause doors to unlock.


        • The driver or passenger front door handle assembly outside unlocks the all doors.*1,*2

        • On the driver side, only the driver's door unlocks, while on the passenger side, all doors unlock.*3,*4

      2. After the doors are unlocked, the hazard lights will flash twice as an answer back, and the wireless door lock buzzer*3 will sound twice.


        • *1: Except models for Korea

        • *2: Models without double locking system

        • *3: Models for Korea

        • *4: Models with double locking system

        A004GUVE02
        Text in Illustration
        *1 Touch Sensor - -
    5. Entry Lock Function


      1. When all doors are closed and a key is located in the exterior actuation area of any door electrical key oscillator, all doors can be locked through the following operations: touching the lock sensor of an outside door handle.

      2. After the doors are locked, the hazard lights will flash once as an answer back, and the wireless door lock buzzer* will sound once.


        • *: Models for Korea

        A004GTBE02
        Text in Illustration
        *1 Lock Sensor - -
    6. Entry Luggage Door Unlock Function


      1. When a key is located in the exterior actuation area of the electrical key antenna, pressing the back door opener switch will cause the luggage door to unlock.

    7. Warning Function


      1. When any of the situations below occur, the entry and start system causes the smart key ECU assembly to illuminating the master warning light, sound a buzzer in the combination meter assembly and sound the wireless door lock buzzer*1 in order to alert the driver.

        Situation Condition
        A*2 The shift lever is in any position other than P and the power source mode is anything other than off.
        B The driver door is opened while the steering is unlocked.
        C The shift lever is in P*2 and the power source mode is anything other than off.
        D The occupant leaves with the key.
        E The push start switch is operated while the key is outside the actuation area.
        F The entry lock is operated while the key is inside the vehicle.
        G The entry lock is operated while any of the doors are open.
        H The luggage door is closed while the key is inside the luggage compartment.
        I*3 Because the key is confined inside the vehicle interior, the stop-confinement door unlock function will activate.
        J The key battery is low.
        K The steering lock cannot be released.
        L A steering lock ECU malfunction has been detected.
        M*3 An engine start method is displayed.
        N The key and engine switch ID codes have been authenticated.
        O The vehicle is driven without the key.
        P*4 A clutch start switch assembly malfunction has been detected.

        • *1: Except models for China

        • *2: Models with A/T

        • *3: Models for Europe (RHD)

        • *4: Models with M/T

      2. There are two patterns for situation A (models with A/T)


        • When the engine is left running and the shift lever is in any position other than P, the driver opens the door and attempts to get out of the vehicle. In this situation, the following control is performed:

          Possible Effects without Warning Sudden vehicle start, vehicle theft, vehicle roll-away
          Warning Condition

          The smart key ECU assembly gives a warning when all the following conditions are satisfied:


          • Power source mode is anything other than off.

          • Shift lever is in any position other than P.

          • Driver door is opened.

          • Vehicle speed is 0.

          Warning Method Combination Meter Assembly Buzzer Continuously sounds
          Master Warning Light -
          Wireless Door Lock Buzzer -
          Warning Stop Condition

          The warning is stopped when one of the following conditions is met:


          • Power source mode is off.

          • Shift lever is in P.

          • Driver door is closed.

          • Vehicle speed is above 0.

        • Under the conditions of pattern 1, the driver closes the door and attempts to leave the vehicle holding the key. In this situation, the following control is performed:

          Possible Effects without Warning Sudden vehicle start, vehicle theft, vehicle roll-away
          Warning Condition

          The smart key ECU assembly gives a warning when all the following conditions are satisfied:


          • Power source mode is anything other than off.

          • Shift lever is in any position other than P.

          • The state of the driver door is changed from open to closed.

          • There is no key in the cabin or in the luggage compartment.

          • Vehicle speed is 0.

          Warning Method Combination Meter Assembly Buzzer Continuously sounds
          Master Warning Light Blinks
          Wireless Door Lock Buzzer Continuously sounds*
          Warning Stop Condition

          The warning is stopped when one of the following conditions is met:


          • Power source mode is off.

          • There is a key in the cabin or in the luggage compartment.

          • Vehicle speed is available or shift lever is in P.


            • Buzzer and wireless door lock buzzer* stop sounding.


          • *: Except models for China

      3. In situation B


        • If the driver door is opened while the steering is unlocked, the following control is performed:

          Possible Effects without Warning Vehicle theft
          Warning Condition

          The smart key ECU assembly gives a warning when one of the following conditions is met:


          • The power source mode is on (ACC) and the driver's door is opened.

          • The power source mode is off, steering is unlocked and driver door is opened.

          Warning Method Combination Meter Assembly Buzzer Intermittently sounds
          Master Warning Light -
          Wireless Door Lock Buzzer -
          Warning Stop Condition

          The warning is stopped when one of the following conditions is met:


          • The power source mode is on (IG) or the driver's door is closed.

          • The power source mode is off and steering is locked.

      4. There are two patterns for situation C


        • When the engine is left running and the shift lever is in P*1, the driver closes the driver door and attempts to leave the vehicle while holding the key. In this situation, the following control is performed:

          Possible Effects without Warning Vehicle theft
          Warning Condition

          The smart key ECU assembly gives a warning when all the following conditions are satisfied:


          • Power source mode is anything other than off.

          • Shift lever is in P.*1

          • The state of the driver door is changed from open to closed.

          • There is no key in the cabin or in the luggage compartment.

          • Vehicle speed is 0.

          Warning Method Combination Meter Assembly Buzzer Sounds once
          Master Warning Light Blinks
          Wireless Door Lock Buzzer Sounds 3 times*2
          Warning Stop Condition

          The warning is stopped when one of the following conditions is met:


          • Power source mode is off.

          • There is a key in the cabin or in the luggage compartment.

        • Under the conditions of pattern 1, the driver touches the lock sensor. In this situation, the following control is performed:

          Possible Effects without Warning Vehicle theft
          Warning Condition

          The smart key ECU assembly gives a warning when all the following conditions are satisfied:


          • Power source mode is anything other than off.

          • Shift lever is in P.*1

          • There is no key in the cabin or in the luggage compartment.

          • A key is outside the vehicle.

          • Lock sensor is touched.

          • Vehicle speed is 0.

          Warning Method Combination Meter Assembly Buzzer Sounds once
          Master Warning Light Blinks
          Wireless Door Lock Buzzer Continuously sounds*2
          Warning Stop Condition

          The warning is stopped when one of the following conditions is met:


          • Power source mode is off.

          • There is a key in the cabin or in the luggage compartment.

          • Shift lever is in any position other than P.*1

          • Vehicle speed is above 0.

          • Any door is opened (stops only the wireless door lock buzzer*2).

          • Any door is closed (stops only the wireless door lock buzzer*2).

          • Approx. 10 seconds have elapsed from the time the warning started (stops only the wireless door lock buzzer*2).


          • *1: Models with A/T

          • *2: Except models for China

      5. In situation D


        • If the engine is left running when a passenger gets out of the vehicle while holding the key, the following control is performed:

          Possible Effects without Warning Engine cannot be restarted.
          Warning Condition

          The smart key ECU assembly gives a warning when all the following conditions are satisfied:


          • Push start switch is in the mode other than off.

          • The state of the door other than the driver door changed from open to close.

          • There is no key in the cabin or in the luggage compartment.

          • Vehicle speed is 0.

          Warning Method Combination Meter Assembly Buzzer Sounds once
          Master Warning Light Blinks
          Wireless Door Lock Buzzer Sounds 3 times*
          Warning Stop Condition

          The warning is stopped when one of the following conditions is met:


          • Power source mode is off.

          • There is a key in the cabin or in the luggage compartment.


          • *: Except models for China

      6. In situation E


        • If the key is not within the actuation areas, the following control is performed:

          Possible Effects without Warning Driver confusion
          Warning Condition

          The smart key ECU assembly gives a warning when all the following conditions are satisfied:


          • Engine immobiliser function is on.

          • There is no key in the cabin.

          • Push start switch is pushed.

          Warning Method Combination Meter Assembly Buzzer Sounds once
          Master Warning Light Blinks
          Wireless Door Lock Buzzer -
          Warning Stop Condition

          The warning is stopped when one of the following conditions is met:


          • Approx. 15 seconds have elapsed from the time the warning started.

          • There is a key in the cabin or in the luggage compartment.

      7. In situation F


        • If the key is left in the vehicle interior and the lock sensor is touched, the following control is performed:

          Possible Effects without Warning Vehicle theft
          Warning Condition

          The smart key ECU assembly gives a warning when all the following conditions are satisfied:


          • Power source mode is off.

          • All doors are closed.

          • There is a key in the cabin or in the luggage compartment.

          • Lock sensor is touched.

          • Vehicle speed is 0.

          Warning Method Combination Meter Assembly Buzzer -
          Master Warning Light -
          Wireless Door Lock Buzzer Continuously sounds*
          Warning Stop Condition

          The warning is stopped when one of the following conditions is met:


          • Power source mode is anything other than off.

          • The state of the any door is changed from close to opened.

          • Vehicle speed is above 0.

          • Doors are locked through the manual lock or wireless door lock function operation.

          • Approx. 10 seconds have elapsed from the time the warning started.


          • *: Except models for China

      8. In situation G


        • Any door is ajar, and the locking of the doors is attempted through the entry lock function by touching the lock sensor of an outside door handle. In this situation, the following control is performed:

          Possible Effects without Warning Vehicle theft
          Warning Condition

          The smart key ECU assembly gives a warning when all the following conditions are satisfied:


          • Power source mode is off.

          • Any door (other than the one performing the entry lock operation) is open.

          • Lock sensor is touched.

          • Doors are locked through the wireless door lock control function.

          • The key is outside the vehicle.

          Warning Method Combination Meter Assembly Buzzer -
          Master Warning Light -
          Wireless Door Lock Buzzer Continuously sounds*
          Warning Stop Condition

          The warning is stopped when one of the following conditions is met:


          • Power source mode is anything other than off.

          • All doors are closed.

          • Doors are unlocked through the wireless door lock control function.

          • Approx. 10 seconds have elapsed from the time the warning started.


          • *: Except models for China

      9. In situation H


        • The luggage door is closed with a key inside the luggage compartment. In this situation, the following control is performed:

          Possible Effects without Warning Vehicle theft
          Warning Condition

          The smart key ECU assembly gives a warning when all the following conditions are satisfied:


          • Vehicle speed is 0.

          • All doors are closed.

          • The luggage door is closed.

          • A key is inside the luggage compartment.

          Warning Method Combination Meter Assembly Buzzer -
          Master Warning Light -
          Wireless Door Lock Buzzer Continuously sounds*
          Warning Stop Condition

          The warning is stopped when one of the following conditions is met:


          • Vehicle speed is above 0.

          • Luggage door is open.

          • Approx. 10 seconds have elapsed from the time the warning started.


          • *: Except models for China

      10. In situation I (models for Europe [RHD])


        • A key is confined inside the vehicle interior. In this situation, the following control is performed:

          Possible Effects without Warning Vehicle theft
          Warning Condition

          The smart key ECU assembly gives a warning when all the following conditions are satisfied:


          • There is a key in the cabin or in the luggage compartment.

          • Doors are locked through the wireless door lock control function.

          • Vehicle speed is 0.

          Warning Method Combination Meter Assembly Buzzer Sounds once
          Master Warning Light -
          Wireless Door Lock Buzzer Continuously sounds
          Warning Stop Condition

          The warning is stopped when one of the following conditions is met:


          • Push start switch is in the mode other than off.

          • The state of the any door is changed from close to opened.

          • Doors are locked through the manual lock, wireless door lock function, or key-linked lock operation.

          • Vehicle speed is above 0.

          • Approx. 10 seconds have elapsed from the time the warning started.

      11. In situation J


        • The key battery is low. In this situation, the following control is performed:

          Possible Effects without Warning Entry and start system does not function.
          Warning Condition

          The smart key ECU assembly gives a warning when all the following conditions are satisfied:


          • After the power source mode has been on (IG) continuously for approx. 20 minutes or more, it is changed from on (IG) to off.

          • Key battery is low.

          • There is a key in the cabin or in the luggage compartment.

          • Vehicle speed is 0.

          The smart key ECU assembly gives a warning when all the following conditions are satisfied:


          • The engine goes from being stopped to starting up.

          • Key battery is low.

          • There is a key in the cabin or in the luggage compartment.

          • Vehicle speed is 0.

          • After the power source mode has been on (IG) continuously for approx. 20 minutes or more, it is changed from on (IG) to off.

            After the power source mode has been on (IG) for approx. 20 minutes or more, past performance has a low-battery alarm sounding for the key battery when the power source is turned off.

          Warning Method Combination Meter Assembly Buzzer Sounds once
          Master Warning Light Blinks
          Wireless Door Lock Buzzer -
          Warning Stop Condition

          The warning is stopped when one of the following conditions is met:


          • Vehicle speed is above 0.

          • Approx. 15 seconds have elapsed from the time the warning started.

      12. In situation K


        • The steering lock cannot be released. In this situation, the following control is performed:

          Possible Effects without Warning Entry and start system does not function.
          Warning Condition The steering lock does not release when performing the release operation, preventing the engine from starting.
          Warning Method Combination Meter Assembly Buzzer Sounds once
          Master Warning Light Blinks
          Wireless Door Lock Buzzer -
          Warning Stop Condition

          The warning is stopped when one of the following conditions is met:


          • Steering lock is unlocked.

          • Approx. 15 seconds have elapsed from the time the warning started.

      13. In situation L


        • A malfunction of the steering lock ECU is detected. In this situation, the following control is performed:

          Possible Effects without Warning Malfunction detection
          Warning Condition

          The smart key ECU assembly gives a warning when one of the following conditions is met:


          • Steering lock actuator assembly or smart key ECU assembly malfunction, or steering lock/unlock switch failure.

          • An IG relay output circuit error is generated three or more times in a row.

          • A vehicle speed data error is detected.

          • The driver side door goes from being closed to being open while the power is off, after which the clutch start switch is in the on state continuously for five minutes or longer.*

          Warning Method Combination Meter Assembly Buzzer Sounds once
          Master Warning Light Blinks
          Wireless Door Lock Buzzer -
          Warning Stop Condition

          The warning is stopped when one of the following conditions is met:


          • Failure has been resolved.

          • Approx. 15 seconds have elapsed from the time the warning started.


          • *: Models with M/T

      14. In situation M (models for Europe [RHD])


        • The driver uses a mechanical key to open the door and presses the push start switch, but no key is detected in the vehicle interior. Or, the driver presses the push start switch, but no key is detected 2 consecutive times in the vehicle interior. In these situations, the following control is performed:

          Possible Effects without Warning Usability function
          Prerequisite
          • Engine immobiliser function is on.

          • No key is located inside the vehicle interior.

          • Unlocking with a mechanical key or operating the push start switch has resulted in a certification failure 2 consecutive times.

          Warning Condition Push start switch is pushed.
          Warning Method Combination Meter Assembly Buzzer Sounds once
          Master Warning Light Blinks
          Wireless Door Lock Buzzer -
          Warning Stop Condition

          The warning is stopped when one of the following conditions is met:


          • The key is inside the vehicle interior.

          • Approx. 30 seconds have elapsed from the time the warning started.

      15. In situation N


        • The driver holds a key against the push start switch. In this situation, the following control is performed:

          Possible Effects without Warning Usability function
          Warning Condition ID code certification is completed.
          Warning Method Combination Meter Assembly Buzzer Sounds once
          Master Warning Light -
      16. In situation O


        • The driver started driving without having a key in the vehicle interior. In this situation, the following control is performed:

          Possible Effects without Warning Restarting prevention
          Warning Condition

          The smart key ECU assembly gives a warning when all the following conditions are satisfied:


          • The power source mode is on (IG) .

          • The key removal alarm is on.

          • Vehicle speed is above 0.

          • No key is located inside the vehicle interior.

          Warning Method Combination Meter Assembly Buzzer Intermittently sounds
          Master Warning Light Blinks
          Warning Stop Condition

          The warning is stopped when one of the following conditions is met:


          • Power source mode is off.

          • A key is inside the vehicle interior.

          • Approx. 7 seconds have elapsed from the time the warning started.

      17. In situation P (models with M/T)


        • The clutch start switch assembly has failed. In this situation, the following control is performed:

          Possible Effects without Warning Malfunction detection
          Prerequisite
          • Power source mode is off.

          • Clutch start switch assembly is on for 5 minutes or longer.

          Warning Condition Driver door is changed from closed to open.
          Warning Method Combination Meter Assembly Buzzer Sounds once
          Master Warning Light Blinks
          Wireless Door Lock Buzzer -
          Warning Stop Condition

          The warning is stopped when one of the following conditions is met:


          • Approx. 15 seconds have elapsed from the time the warning started.

          • Clutch start switch assembly failure has been resolved.

    8. Battery Saving Function


      1. Vehicle Battery Saving


        • Control


          • If the engine is not started for 5 days or longer, this function stops the request signals transmitted by the door electrical key oscillator (the lock and touch sensors at the driver and front passenger doors remain active, therefore, these doors can be locked or unlocked by touching the sensors).

          • If the engine is not started for 14 days or longer, this function prohibits the locking or unlocking operation of the doors other than the driver door.

        • Revert Condition 1 (clear the day count)


          • Power source mode is on

        • Revert Condition 2 (return to sixth-day-equivalent day count)


          • Doors are locked or unlocked through the wireless door lock control function.

          • Doors are locked or unlocked by touching the lock or touch sensor on the driver door.

          • Doors are locked or unlocked with a mechanical key.*

          • Any door is opened or closed.

            *: Models for Europe (RHD)

      2. Key Battery Saving


        • Control


          • If a key is located in the exterior actuation area for 10 minutes or longer, this function stops the request signals transmitted by the door electrical key oscillator and the electrical key antenna.

        • Revert Condition


          • Doors are locked or unlocked through the wireless door lock control function.

          • Doors are locked or unlocked by touching the lock or touch sensor of any door.

          • Doors are locked or unlocked with a mechanical key.*

          • Any door is opened.

          • Any door is unlocked.

            *: Models for Europe (RHD)

    9. Key Cancel Function


      1. A key cancel function is provided to make it possible to disable the entry and start system. Key cancel can be operated when certain operations are performed when the vehicle is in the following conditions:


        • Push start switch is off.

        • Driver door is closed.

        • Driver door is unlocked.

          Tech Tips

          The operation procedure is as follows:


          1. Unlock once with the unlock button of the key.

          2. Open the driver door within 5 seconds.

          3. Unlock twice with the unlock button of the key within 5 seconds.

          4. Repeat open → close twice for the driver door within 30 seconds, and open again. (Driver door: open → close → open → close → open)

          5. Unlock twice with the unlock button of the key within 30 seconds.

          6. Repeat open → close once for the driver door within 30 seconds, and open again. (Driver door: open → close → open)

          7. Close the driver door within 5 seconds.

          8. When key cancel is activated, the wireless door lock buzzer sounds once.

          9. To return to the original condition, perform the procedures again. When key cancel is returned, the wireless door lock buzzer sounds twice.

    10. Key Code Registration Function


      1. The table below shows the 4 special ID code registration function modes through which up to 7 different codes can be registered. The codes are electronically registered (written and stored) in the EEPROM. For details of the recognition code registration procedure, refer to the Repair Manual.

        Mode Function
        Rewrite Clears all previously registered codes and registers only the newly received codes. This mode is used whenever a transmitter or an integration relay is replaced.
        Add Adds a newly received code while preserving previously registered codes. This mode is used when adding a new transmitter.
        Confirm Confirms how many codes are currently registered. When adding a new code, this mode is used to check how many codes already exist.
        Prohibit Clears all registered codes. This mode is used when a key is lost.
  4. CONSTRUCTION


    1. Key


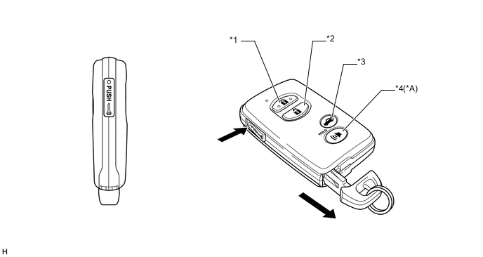
      1. The key consists of a mechanical key, a transmitter for the wireless door lock control and a transceiver for the entry and start system.

      2. The transceiver for the entry and start system receives the signals from the oscillators and returns the ID code to the door control receiver.

      3. The transmitter for the wireless door lock control has a lock button, unlock button, luggage door open button and panic alarm button*.


        • *: Models for Korea

      4. When the key battery is low, the radio wave response received from the push start switch is returned to the push start switch by the key.

      5. This mechanical key works for the driver door, but cannot be used to start the engine.

        A004GQME04
        Text in Illustration
        *A Models for Korea - -
        *1 Lock Button *2 Unlock Button
        *3 Luggage Door Open Button *4 Panic Alarm Button
    2. Push Start Switch


      1. The push start switch consists LEDs and a transponder key amplifier.

      2. The LEDs are used for the illumination light.

    3. Smart Key ECU Assembly


      1. The smart key ECU assembly consists of the IG1 and IG2 relay actuation circuits, a CPU, and a hold circuit.

      2. The hold circuit is installed to prevent the power supply to the relays from being cut off when an abnormality occurs in the IG1 and/or IG2 relay actuation circuits during driving.

        A004GZ0E15

        Tech Tips

        The smart key ECU assembly constantly stores the present power source mode in its memory. Therefore, if the power to the smart key ECU assembly is interrupted due to the removal of the battery, the smart key ECU assembly restores the power source mode after the battery is reconnected. For this reason, if the battery is removed when the push start switch is in any position other than off, the power will be restored to the vehicle at the same time the power is restored to the smart key ECU assembly (by reconnecting the battery). Therefore, before removing or disconnecting the battery, make sure to turn the push start switch off.

  5. DIAGNOSIS


    1. The smart key ECU assembly can detect malfunctions in the start function when the power source mode is on (IG). At the same time, the ECU stores the 5-digit DTC in the memory.

    2. The DTC can be read by connecting a Grobal TechStream (GTS) to the DLC3.

    3. The start function cannot be operated again if a malfunction occurs.

    4. For details, refer to the corresponding Repair Manual for this model.