CLUTCH UNIT(for EA66) INSTALLATION
PROCEDURE
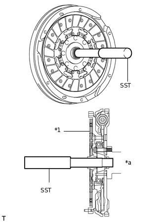
INSTALL CLUTCH DISC ASSEMBLY
-
*1
Clutch Disc Assembly
*a
Flywheel Sub-assembly Side
Insert SST into the clutch disc assembly, and then insert them into the flywheel sub-assembly.
09301-00220
Note:Do not insert the clutch disc assembly in the wrong direction.
-
INSTALL CLUTCH COVER ASSEMBLY
-
*a
Matchmark
Align the matchmark on the clutch cover assembly with the one on the flywheel sub-assembly.
Tighten the 6 bolts uniformly in the order shown in the illustration, starting with the bolt located near the knock pin on the top.
09301-00220
19.1 N*m
195 kgf*cm
14 ft.*lbf
Note:Following the order in the illustration, make sure to uniformly tighten the bolts 180°.
After checking that the clutch disc assembly is centered, gently move SST up and down, right and left to fully tighten the bolts.
-
INSPECT AND ADJUST CLUTCH COVER ASSEMBLY
-
Using a dial indicator with a roller instrument, measure the diaphragm spring tip alignment.
Maximum Non-alignment
1.3 mm (0.0512 in.)
If the alignment is not as specified, using SST, adjust the diaphragm spring tip alignment.
09333-00013
-
INSTALL RELEASE FORK SUPPORT
-
Install the release fork support to the manual transaxle assembly.
47 N*m
479 kgf*cm
35 ft.*lbf
-
INSTALL CLUTCH RELEASE FORK BOOT
-
Install the clutch release fork boot to the manual transaxle assembly.
-
INSTALL CLUTCH RELEASE FORK SUPPORT BOOT
-
Install the clutch release fork support boot and a new snap ring to the clutch release fork sub-assembly.
-
INSTALL CLUTCH RELEASE FORK SUB-ASSEMBLY
-
Apply release hub grease to the clutch release fork sub-assembly where it contacts the clutch release bearing assembly, push rod and release fork support.
Grease
Toyota Genuine Release Hub Grease or equivalent
Install the clutch release fork sub-assembly to the clutch release bearing assembly with the release bearing hub clip.
-
INSTALL CLUTCH RELEASE BEARING ASSEMBLY
-

Clutch spline grease
Apply clutch spline grease to the input shaft spline.
Grease
Toyota Genuine Clutch Spline Grease or Equivalent
-
Apply release hub grease to the inside of the clutch release bearing assembly.
Grease
Toyota Genuine Release Hub Grease or equivalent
Install the clutch release bearing assembly together with the clutch release fork sub-assembly to the manual transaxle assembly.
Note:After the installation, move the fork forward and backward to check that the clutch release bearing assembly slides smoothly.
-
INSTALL MANUAL TRANSAXLE ASSEMBLY