СИСТЕМА СНИЖЕНИЯ ТОКСИЧНОСТИ ОТРАБОТАВШИХ ГАЗОВ ОПИСАНИЕ ЭЛЕКТРОВАКУУМНЫЙ КЛАПАН ПРОДУВКИ

  1. КОНСТРУКЦИЯ

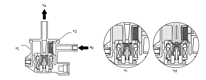
    1. Электровакуумный клапан продувки (электровакуумный клапан № 1 в сборе) регулирует интенсивность продувки исходя из сигналов продолжительности включения от ECM. Интенсивность продувки определяется интервалами включения/выключения сигнала управления от ECM (скважностью).

      W108992C04

      *1

      Электровакуумный клапан продувки (электровакуумный клапан № 1 в сборе)

      *2

      Фильтр

      *a

      В канал продувки

      *b

      от угольного адсорбера

      *c

      Клапан выключен (закрыт)

      *d

      Клапан включен (открыт)