PRE-CRASH SAFETY SYSTEM WARNING BUZZER INSPECTION

PROCEDURE

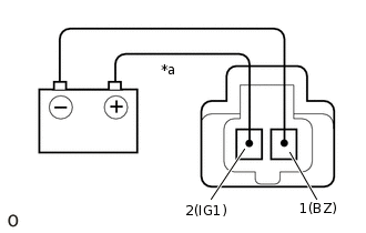
  1. INSPECT SKID CONTROL BUZZER (PRE-CRASH SAFETY SYSTEM WARNING BUZZER)

    1. B376959C02

      *a

      Component without harness connected

      (Skid Control Buzzer (Pre-crash Safety System Warning Buzzer))

      Apply battery voltage and check the operation of the skid control buzzer (pre-crash safety system warning buzzer) according to the table below.

      OK

      Measurement Condition

      Specified Condition

      Battery positive (+) → Terminal 2(IG1)

      Battery negative (-) → Terminal 1(BZ)

      Skid control buzzer (pre-crash safety system warning buzzer) sounds

      If the result is not as specified, replace the skid control buzzer (pre-crash safety system warning buzzer).