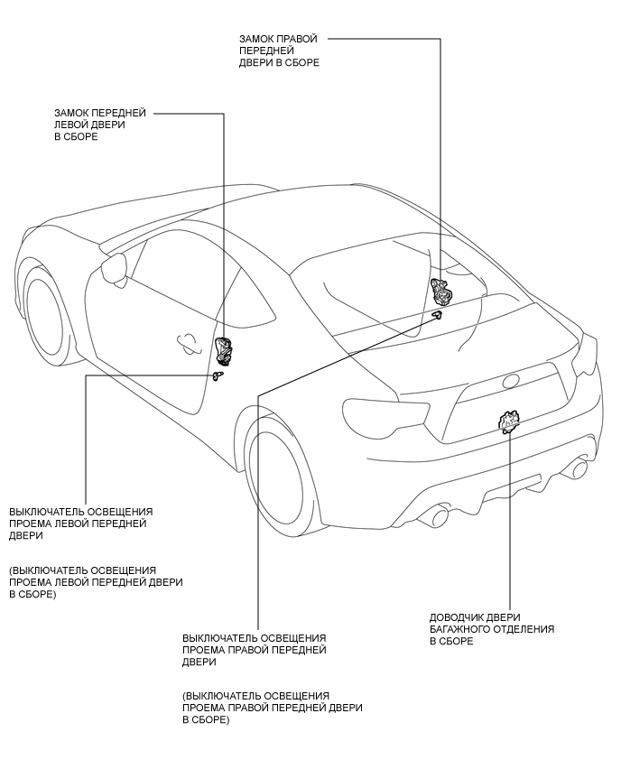
СИСТЕМА ОСВЕЩЕНИЯ РАСПОЛОЖЕНИЕ ДЕТАЛЕЙ

ИЛЛЮСТРАЦИЯ

E248887E01

ИЛЛЮСТРАЦИЯ

E248888E02

ИЛЛЮСТРАЦИЯ

E252479E02

ИЛЛЮСТРАЦИЯ

E248889E01