FUEL PUMP(w/o Canister Pump Module) INSTALLATION

CAUTION / NOTICE / HINT

Tip:

Perform "Inspection After Repairs" after replacing the fuel pump.

PROCEDURE

  1. INSTALL FUEL SUCTION TUBE ASSEMBLY

    1. Install a new gasket onto the fuel suction tube assembly.

    2. A314009C02

      *1

      Fuel Hose

      *a

      Paint Mark

      *b

      Top of Vehicle

      With the paint mark facing the top of the vehicle, connect the fuel hose to the fuel suction tube assembly and secure the hose with the clamp.

    3. Install the fuel suction tube assembly to the fuel tank assembly.

      Note:

      Be careful not to damage the fuel suction tube assembly.

  2. INSTALL FUEL TANK VENT TUBE SET PLATE

    1. Install the fuel tank vent tube set plate using the 8 bolts.

      6.0 N*m

      61 kgf*cm

      53 in.*lbf

  3. CONNECT FUEL TANK MAIN TUBE SUB-ASSEMBLY

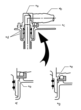
    1. A310881

      Connect the fuel tank main tube sub-assembly to the fuel suction plate sub-assembly, then install the tube joint clip.

      A124131C05

      *a

      Fuel Tube Joint

      *b

      Fuel Tank Main Tube Sub-assembly

      *c

      Tube Joint Clip

      *d

      O-Ring

      *e

      Collar

      *f

      CORRECT

      *g

      INCORRECT

      Note:
      • Check that there are no scratches or foreign objects on the connecting parts.

      • Check that the fuel tube joint is inserted securely.

      • Make sure that the fuel joint clip is above the flange of the fuel tank main tube sub-assembly.

      • After installing the tube joint clip, make sure that the fuel tank main tube sub-assembly cannot be pulled out.

      • Be careful not to damage the tube joint clip. If the tube joint clip is damaged, replace it.

  4. CONNECT FUEL EMISSION HOSE

    1. Connect the No. 1 fuel evaporation tube and charcoal canister outlet tube from the fuel suction plate sub-assembly, then secure the 2 hose clamps.

      A310882C03

      *1

      No. 1 Fuel Evaporation Tube

      *2

      Charcoal Canister Outlet Tube

      *3

      Fuel Evaporation Tube Sub-assembly

      -

      -

      *a

      Top of Vehicle

      *b

      Left Side of the Vehicle

      *c

      Right Side of the Vehicle

      -

      -

      Tip:

      Make sure the direction of the hose clamps are as indicated in the illustration.

    2. Connect the fuel evaporation tube sub-assembly to the fuel suction plate sub-assembly and secure the retainer.

      Note:
      • Before connecting the fuel evaporation tube sub-assembly, check that there is no damage or foreign objects on the hose or connector.

      • Pull the fuel evaporation tube sub-assembly to check that the connector is connected.

  5. INSTALL FUEL TANK ASSEMBLY