HYBRID CONTROL SYSTEM, Diagnostic DTC:P0A09-591

DTC Code DTC Name
P0A09-591 DC / DC Converter Status Circuit Low Input

DESCRIPTION

The DC/DC converter varies output voltage based on voltage change signals (VLO signal line) received from the hybrid vehicle control ECU.

If the vehicle is being driven with an inoperative DC/DC converter, the voltage of the auxiliary battery will drop, which will prevent the continued operation of the vehicle. Therefore, the hybrid vehicle control ECU monitors the operation of the DC/DC converter and alerts the driver if it detects a malfunction.

DTC No.

Detection Item

DTC Detection Condition

Trouble Area

MIL

Warning Indicate

P0A09-591

DC / DC Converter Status Circuit Low Input

Open or short to ground in the signal line of DC/DC converter (VLO)

(1 trip detection logic)

  • Wire harness or connector

  • Inverter with converter assembly

  • Hybrid vehicle control ECU

Does not come on

Master Warning Light:

Comes on

WIRING DIAGRAM

C344144E02

CAUTION / NOTICE / HINT

CAUTION:
  • Before inspecting the high-voltage system or disconnecting the low voltage connector of the inverter with converter assembly, take safety precautions such as wearing insulated gloves and removing the service plug grip to prevent electrical shocks. After removing the service plug grip, put it in your pocket to prevent other technicians from accidentally reconnecting it while you are working on the high-voltage system.

  • After removing the service plug grip, wait for at least 10 minutes before touching any of the high-voltage connectors or terminals. After waiting for 10 minutes, check the voltage at the terminals in the inspection point in the inverter with converter assembly. The voltage should be 0 V before beginning work.

    Click here

    Tip:

    Waiting for at least 10 minutes is required to discharge the high-voltage capacitor inside the inverter with converter assembly.

Note:

After turning the power switch off, waiting time may be required before disconnecting the cable from the negative (-) auxiliary battery terminal. Therefore, make sure to read the disconnecting the cable from the negative (-) auxiliary battery terminal notices before proceeding with work.

Click hereClick hereClick hereClick here

Tip:

After the repair, clear the DTCs and perform the following procedure to check that DTCs are not output.

  1. Turn the power switch on (IG) and wait for 10 seconds or more.

PROCEDURE

  1. CHECK CONNECTOR CONNECTION CONDITION (HYBRID VEHICLE CONTROL ECU CONNECTOR)

    Click here

    Result

    Proceed to

    OK

    NG

    NG

    CONNECT SECURELY

    OK
  2. CHECK CONNECTOR CONNECTION CONDITION (INVERTER WITH CONVERTER ASSEMBLY CONNECTOR)

    Click here

    Result

    Result

    Proceed to

    OK

    A

    NG (The connector is not connected securely.)

    B

    NG (The terminals are not making secure contact or are deformed, or water or foreign matter exists in the connector.)

    C

    B

    CONNECT SECURELY

    C

    REPAIR OR REPLACE HARNESS OR CONNECTOR

    A
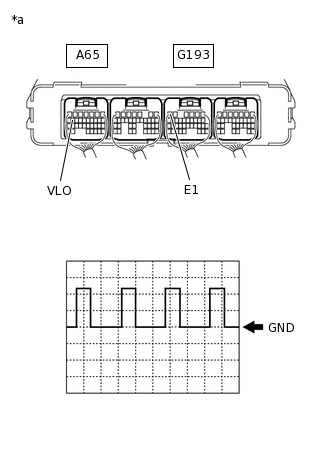
  3. CHECK HYBRID VEHICLE CONTROL ECU (CHECK WAVEFORM)

    1. Connect an oscilloscope between the hybrid vehicle control ECU terminals specified in the table below.

    2. Turn the power switch on (IG).

    3. A217247C44

      *a

      Component with harness connected

      (Hybrid Vehicle Control ECU)

      Measure the waveform.

      Item

      Content

      Terminal

      A65-16 (VLO) - G193-6 (E1)

      Equipment Setting

      5 V/DIV., 50 ms./DIV.

      Condition

      Power switch on (IG)

      OK

      The waveform appears as shown in the illustration.

      Tip:
      • Perform this inspection with the hybrid vehicle control ECU connector connected.

      • The waveform varies depending on the specified DC/DC converter voltage.

    4. Turn the power switch off.

    Result

    Proceed to

    OK

    NG

    NG

    CHECK HARNESS AND CONNECTOR (RESISTANCE VALUE OF VLO INSIDE HYBRID VEHICLE CONTROL ECU)Click here

    OK
  4. CLEAR DTC

    Click here

    Result

    Proceed to

    NEXT

    NEXT
  5. CHECK DTC OUTPUT (HYBRID CONTROL)

    1. Connect the GTS to the DLC3.

    2. Turn the power switch on (READY).

    3. Enter the following menus: Powertrain / Hybrid Control / Trouble Codes.

    4. Check for DTCs.

      Powertrain > Hybrid Control > Trouble Codes

      Result

      Result

      Proceed to

      P0A09-591 is not output.

      A

      P0A09-591 is output again.

      B

    5. Turn the power switch off.

    A

    CHECK FOR INTERMITTENT PROBLEMS

    B

    REPLACE HYBRID VEHICLE CONTROL ECU

  6. CHECK HARNESS AND CONNECTOR (RESISTANCE VALUE OF VLO INSIDE HYBRID VEHICLE CONTROL ECU)

    CAUTION:

    Be sure to wear insulated gloves.

    1. Check that the service plug grip is not installed.

      Note:

      After removing the service plug grip, do not turn the power switch on (READY), unless instructed by the repair manual because this may cause a malfunction.

    2. Disconnect the A112 inverter with converter assembly connector.

    3. A258452C39

      *a

      Front view of wire harness connector

      (to Inverter with Converter Assembly)

      Measure the resistance according to the value(s) in the table below.

      Standard Resistance

      Tester Connection

      Condition

      Specified Condition

      A112-6 (VLO) - Body ground

      Power switch off

      370 to 430 kΩ

    4. Reconnect the A112 inverter with converter assembly connector.

    Result

    Proceed to

    OK

    NG

    OK

    REPLACE INVERTER WITH CONVERTER ASSEMBLY

    NG
  7. CHECK HARNESS AND CONNECTOR (INVERTER WITH CONVERTER ASSEMBLY - HYBRID VEHICLE CONTROL ECU)

    CAUTION:

    Be sure to wear insulated gloves.

    1. Check that the service plug grip is not installed.

      Note:

      After removing the service plug grip, do not turn the power switch on (READY), unless instructed by the repair manual because this may cause a malfunction.

    2. Disconnect the A112 inverter with converter assembly connector.

    3. Disconnect the A65 hybrid vehicle control ECU connector.

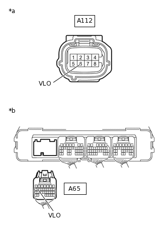
    4. A259909C55

      *a

      Front view of wire harness connector

      (to Inverter with Converter Assembly)

      *b

      Rear view of wire harness connector

      (to Hybrid Vehicle Control ECU)

      Measure the resistance according to the value(s) in the table below.

      Standard Resistance

      Tester Connection

      Condition

      Specified Condition

      A112-6 (VLO) - A65-16 (VLO)

      Power switch off

      Below 1 Ω

      A112-6 (VLO) or A65-16 (VLO) - Body ground and other terminals

      Power switch off

      10 kΩ or higher

    5. Reconnect the A65 hybrid vehicle control ECU connector.

    6. Reconnect the A112 inverter with converter assembly connector.

    Result

    Proceed to

    OK

    NG

    OK

    REPLACE HYBRID VEHICLE CONTROL ECU

    NG

    REPAIR OR REPLACE HARNESS OR CONNECTOR