АУДИОВИЗУАЛЬНАЯ СИСТЕМА (для моделей с радиоприемником) Цепь звукового сигнала между радиоприемником и переходником стереогнезда

ОПИСАНИЕ

Эта цепь используется для передачи звуковых сигналов внешнего устройства от переходника стереогнезда № 1 в сборе в радиоприемник в сборе.

Отправленный звуковой сигнал усиливается радиоприемником, после чего выводится через динамики.

В случае обрыва цепи или короткого замыкания звук из динамиков не слышен даже в том случае, если радиоприемник и динамики полностью исправны.

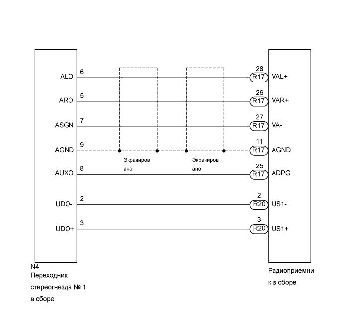
СХЕМА СОЕДИНЕНИЙ

A01E1VNE15

ПОСЛЕДОВАТЕЛЬНОСТЬ ПРОВЕРКИ

ПОРЯДОК ВЫПОЛНЕНИЯ


  1. ПРОВЕРЬТЕ ЖГУТ И РАЗЪЕМ (РАДИОПРИЕМНИК - ПЕРЕХОДНИК СТЕРЕОГНЕЗДА)


    1. Отсоедините разъемы R17 и R20 радиоприемника.

    2. Отсоедините разъем N4 переходника стереогнезда № 1 в сборе.

    3. Измерьте сопротивление в соответствии со значениями, приведенными в таблице ниже.

      Номинальное сопротивление
      Контакты для подключения диагностического прибора Режим Заданные условия
      R17-28 (VAL+) - N4-6 (ALO) Всегда Менее 1 Ом
      R17-26 (VAR+) - N4-5 (ARO)
      R17-27 (VA-) - N4-7 (ASGN)
      R17-11 (AGND) - N4-9 (AGND)
      R17-25 (ADPG) - N4-8 (AUXO)
      R20-2 (US1-) - N4-2 (UDO-)
      R20-3 (US1+) - N4-3 (UDO+)
      R17-28 (VAL+) - масса Всегда 10 кОм или более
      R17-26 (VAR+) - масса
      R17-27 (VA-) - масса
      R17-11 (AGND) - масса
      R17-25 (ADPG) - масса
      R20-2 (US1-) - масса
      R20-3 (US1+) - масса

    NG
    OK