CRUISE CONTROL SYSTEM

A004GWHE02
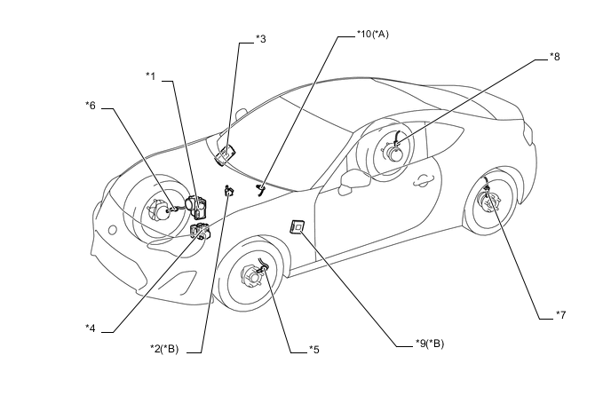
Text in Illustration
*A Models with M/T *B Models with A/T
*1
  • Throttle Body with Motor Assembly


    • Throttle Control Motor

    • Throttle Position Sensor

*2 Park/Neutral Position Switch Assembly
*3 ECM *4
  • Brake Actuator Assembly


    • Skid Control ECU

*5 Front Speed Sensor LH *6 Front Speed Sensor RH
*7 Rear Speed Sensor LH *8 Rear Speed Sensor RH
*9 Transmission Control ECU Assembly *10 Neutral Position Switch Assembly
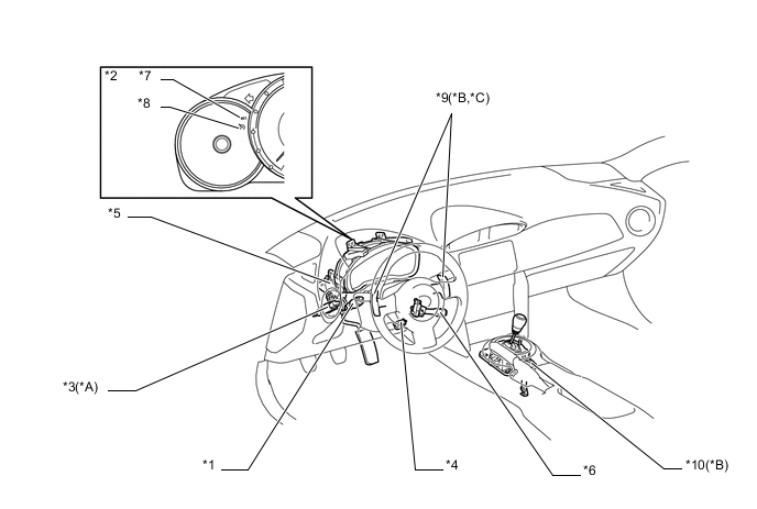
A004GX3E02
Text in Illustration
*A Models with M/T *B Models with A/T
*C Models with shift paddle switch - -
*1 Stop Light Switch Assembly *2 Combination Meter Assembly
*3 Clutch Switch Assembly *4 DLC3
*5 Accelerator Pedal Sensor Assembly *6 Cruise Control Main Switch Assembly
*7 Cruise SET Indicator Light *8 Cruise Main Indicator Light
*9 Transmission Shift Switch Assembly *10

Floor Shift Shift Lever Assembly

-Transmission Control Switch