FRONT SHOCK ABSORBER DISPOSAL
PROCEDURE
DISPOSE OF FRONT SHOCK ABSORBER ASSEMBLY LH
-
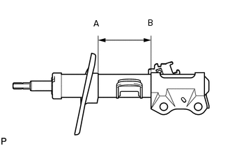
Position the front shock absorber assembly so that it is level with the piston rod fully extended. Using a drill, make a hole in the cylinder between A and B shown in the illustration to discharge the gas inside.
CAUTION:Be careful when drilling as shards of metal may fly about. Always use proper safety equipment.
Note:The gas is colorless, odorless and non-poisonous.
-