СИСТЕМА ПЕРЕДАЧИ ДАННЫХ CAN (для моделей с VSC) Прекращение обмена данными с ЭБУ системы противоскольжения

ОПИСАНИЕ

Неисправность Признак Неисправный участок
Прекращение обмена данными с ЭБУ системы противоскольжения

Выполнение одного из следующих условий:


  • В окне "Bus Check" (проверка шин связи) не отображается ABS/VSC/TRC.

  • Относится к "Режиму прекращения обмена данными с ЭБУ системы противоскольжения" в "Таблице комбинаций кодов DTC".


  • Источник питания или ЭБУ системы противоскольжения

  • Вспомогательная шина или разъем ЭБУ системы противоскольжения

  • Блок управления рабочими цилиндрами тормозов в сборе (ЭБУ системы противоскольжения)

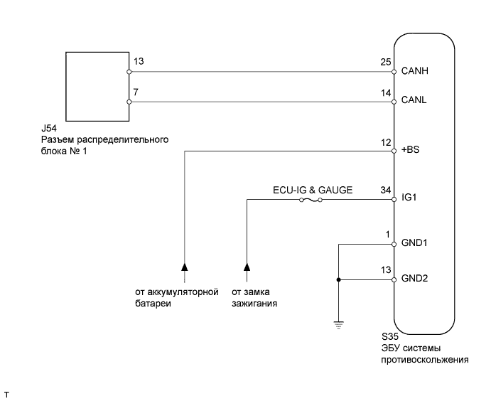
СХЕМА СОЕДИНЕНИЙ

A01DW75E03

ПОСЛЕДОВАТЕЛЬНОСТЬ ПРОВЕРКИ

Tech Tips

Управление замком зажигания, любыми выключателями или связанными с дверными защелками ЭБУ и датчиками, обмен данными с которыми осуществляется посредством сети CAN, приводит к колебанию сопротивления.

ПОРЯДОК ВЫПОЛНЕНИЯ


  1. ОТСОЕДИНИТЕ ПРОВОД ОТ ОТРИЦАТЕЛЬНОГО ВЫВОДА АККУМУЛЯТОРНОЙ БАТАРЕИ


    1. Отсоедините провод от отрицательного (-) вывода аккумуляторной батареи перед измерением сопротивления главной и вспомогательной шин.

      CAUTION:

      После отсоединения провода от отрицательного (-) вывода аккумуляторной батареи подождите не менее 90 с, чтобы предотвратить срабатывание системы SRS.

      Note

      Если отрицательный (-) вывод аккумуляторной батареи отсоединялся, после его подсоединения необходимо инициализировать некоторые системы (см. стр. Click here).


    ДАЛЕЕ
  2. ПРОВЕРЬТЕ ШИНУ CAN НА ОБРЫВ (ВСПОМОГАТЕЛЬНАЯ ШИНА ЭБУ СИСТЕМЫ ПРОТИВОСКОЛЬЖЕНИЯ)


    1. A01E0DQE06

      Отсоедините разъем S35 ЭБУ системы противоскольжения.

    2. Измерьте сопротивление в соответствии со значениями, приведенными в таблице ниже.

      Номинальное сопротивление
      Контакты для подключения диагностического прибора Положение переключателя Заданные условия
      S35-25 (CANH) - S35-14 (CANL) Зажигание выключено 54 - 69 Ом

    NG
    OK
  3. ПРОВЕРЬТЕ ЖГУТ ПРОВОДОВ И РАЗЪЕМ (ЭБУ СИСТЕМЫ ПРОТИВОСКОЛЬЖЕНИЯ - АКУМУЛЯТОРНАЯ БАТАРЕЯ И МАССА)


    1. Вновь подсоедините провод к отрицательному (-) выводу аккумуляторной батареи.

      Note

      Если отрицательный (-) вывод аккумуляторной батареи отсоединялся, после его подсоединения необходимо инициализировать некоторые системы (см. стр. Click here).

    2. A01E0DQE07

      Измерьте сопротивление в соответствии со значениями, приведенными в таблице ниже.

      Номинальное сопротивление
      Контакты для подключения диагностического прибора Условие Заданные условия
      S35-1 (GND1) - масса Всегда Менее 1 Ом
      S35-13 (GND2) - масса
    3. Измерьте напряжение в соответствии со значениями, приведенными в таблице.

      Номинальное напряжение
      Контакты для подключения диагностического прибора Положение переключателя Заданные условия
      S35-12 (+BS) - масса Всегда 11 - 14 В
      S35-34 (IG1) - масса Зажигание включено
      Результат
      Результат Следующий шаг
      OK (для моделей с левосторонним рулевым управлением) А
      OK (для моделей с правосторонним рулевым управлением) B
      NG C

    B
    C
    А