PARKING BRAKE SWITCH INSPECTION

PROCEDURE

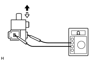
  1. INSPECT PARKING BRAKE SWITCH ASSEMBLY

    1. C284526C01
      V100135

      On

      V100136

      Off

      Measure the resistance according to the value(s) in the table below.

      Table 1. Standard Resistance

      Tester Connection

      Switch Condition

      Specified Condition

      Switch connector terminal - Switch body

      On (Shaft is not pressed)

      Below 1 Ω

      Off (Shaft is pressed)

      10 kΩ or higher

      If the result is not as specified, replace the parking brake switch assembly.