FUEL PUMP(w/o Canister Pump Module) COMPONENTS
ILLUSTRATION
*1 |
FUEL SUCTION TUBE ASSEMBLY |
*2 |
FUEL TANK MAIN TUBE |
*3 |
FUEL TANK VENT TUBE SET PLATE |
*4 |
NO. 1 FUEL EVAPORATION TUBE |
*5 |
CHARCOAL CANISTER OUTLET TUBE |
*6 |
FUEL EVAPORATION TUBE SUB-ASSEMBLY |
*7 |
TUBE JOINT CLIP |
*8 |
FUEL HOSE |
*9 |
GASKET |
- |
- |
![]() |
N*m (kgf*cm, ft.*lbf): Specified torque |
● |
Non-reusable part |
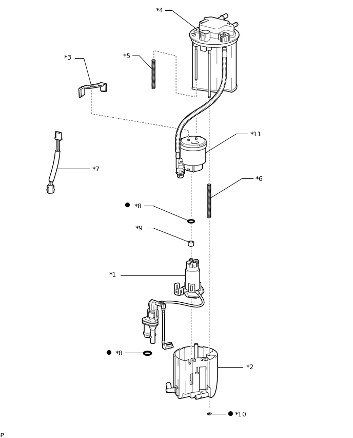
ILLUSTRATION
*1 |
FUEL PUMP ASSEMBLY WITH FILTER |
*2 |
NO. 1 FUEL SUB-TANK |
*3 |
NO. 1 FUEL SUCTION SUPPORT |
*4 |
FUEL SUCTION PLATE SUB-ASSEMBLY |
*5 |
NO. 2 FUEL TANK CUSHION |
*6 |
NO. 3 FUEL TANK CUSHION |
*7 |
FUEL PUMP HARNESS |
*8 |
O-RING |
*9 |
FUEL PUMP SPACER |
*10 |
FUEL TANK PIPE SETTING HOLDER |
*11 |
FUEL FILTER ASSEMBLY |
- |
- |
● |
Non-reusable part |
- |
- |
