ENTRY AND START SYSTEM

A004GUDE02
Text in Illustration (Entry Function Configuration:)
*1 Combination Meter Assembly *2 Indoor Electrical Key Oscillator
*3 Door Control Receiver *4

Front Door Handle Assembly Outside RH

- Touch Sensor

- Lock Sensor

- Door Electrical Key Oscillator

*5 No. 3 Indoor Electrical Key Oscillator *6 Wireless Door Lock Buzzer
*7

Front Door Handle Assembly Outside LH

- Touch Sensor

- Lock Sensor

- Door Electrical Key Oscillator

*8 No. 2 Indoor Electrical Key Oscillator
*9 Electrical Key Antenna *10 Back Door Opener Switch
A004GSXE02
Text in Illustration (Entry Function Configuration:)
*A Refer to the service bulletin for the installation of the part. - -
*1 Smart Key ECU Assembly *2 Main Body ECU (Network Gateway ECU)
*3

Front Door Lock with Motor Assembly RH

- Door Lock Motor

- Door Lock Position Switch

- Double Lock Motor*a

*4 Front Door Courtesy Light Switch Assembly RH
*5

Front Door Lock with Motor Assembly LH

- Door Lock Motor

- Door Lock Position Switch

- Double Lock Motor*a

*6 Front Door Courtesy Light Switch Assembly LH
*7

Luggage Door Closer Assembly

- Door Lock Motor

- Luggage Door Courtesy Light Switch

*8 Turn Signal Flasher Assembly
*a Models with double locking system - -
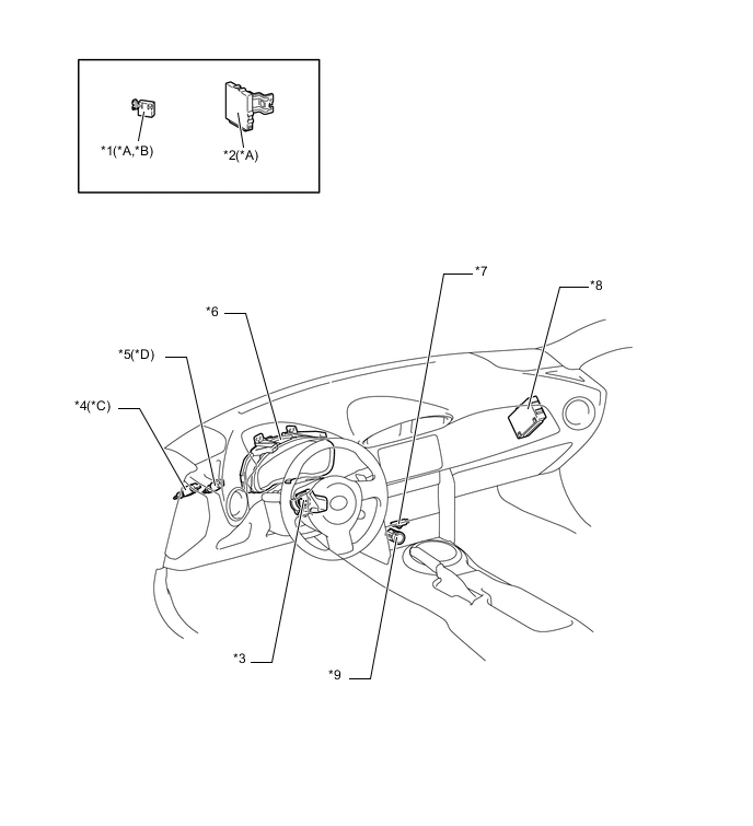
A004GWCE02
Text in Illustration (Start Function Configuration:)
*A Refer to the service bulletin for the installation of the part. *B Models with immobiliser code ECU
*C Models with M/T *D Models with A/T
*1 Immobiliser Code ECU *2 Smart Key ECU Assembly
*3

Steering Lock Actuator Assembly

- Steering Lock ECU

*4 Clutch Start Switch Assembly
*5 Stop Light Switch Assembly *6 Combination Meter Assembly
*7 Indoor Electrical Key Oscillator *8 ECM
*9

Push Start Switch

- Transponder Key Amplifier

- -
A004GKIE02
Text in Illustration (Start Function Configuration:)
*A Models with A/T - -
*1 Park/Neutral Position Switch Assembly *2 No. 2 Indoor Electrical Key Oscillator
*3 Door Control Receiver - -