СИСТЕМА АВТОМАТИЧЕСКОЙ ТРАНСМИССИИ (для моделей с 2KD-FTV) Цепь питания ЭБУ

ОПИСАНИЕ

При включении зажигания на контакт IG2 блока управления трансмиссией поступает напряжение аккумуляторной батареи.

СХЕМА ЭЛЕКТРИЧЕСКИХ СОЕДИНЕНИЙ

A01DYHUE14

ПОСЛЕДОВАТЕЛЬНОСТЬ ПРОВЕРКИ

Note

Перед выполнением следующей процедуры проверки проверьте предохранители цепей, относящихся к данной системе.

ПОРЯДОК ВЫПОЛНЕНИЯ


  1. ПРОВЕРЬТЕ ЗАМОК ЗАЖИГАНИЯ


    1. A01DY3JE01
      Обозначения на рисунке
      *a

      Устройство с неподсоединенным жгутом проводов

      (замок зажигания)

      Отсоедините разъем замка зажигания.

    2. Измерьте сопротивление в соответствии со значениями, приведенными в таблице ниже.

      Номинальное сопротивление
      Подключение диагностического прибора Положение переключателя Заданные условия
      5 (AM2) - 6 (IG2) LOCK 10 кОм или более
      5 (AM2) - 6 (IG2) ON (ВКЛ) Менее 1 Ом

    NG
    OK
  2. ПРОВЕРЬТЕ ЖГУТ ПРОВОДОВ И РАЗЪЕМ (TCM – МАССА)


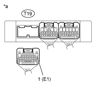
    1. A01E22VE35
      Обозначения на рисунке
      *a

      Вид сзади разъема со стороны жгута проводов

      (к TCM)

      Отсоедините разъем TCM.

    2. Измерьте сопротивление в соответствии со значениями, приведенными в таблице ниже.

      Номинальное сопротивление
      Подключение диагностического прибора Условие Заданные условия
      T19-1 (E1) - масса Всегда Менее 1 Ом

    NG
    OK
  3. ПРОВЕРЬТЕ TCM (TCM – АККУМУЛЯТОРНАЯ БАТАРЕЯ)


    1. Установите замок зажигания в положение ON (ВКЛ).

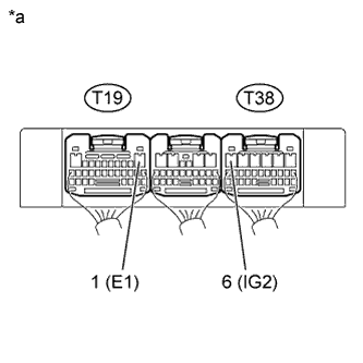
    2. A01E1MSE29
      Обозначения на рисунке
      *a

      Устройство с подсоединенным жгутом проводов

      (TCM)

      Измерьте напряжение в соответствии со значениями, приведенными в таблице.

      Номинальное напряжение
      Подключение диагностического прибора Положение переключателя Заданные условия
      T38-6 (IG2) - T19-1 (E1) Зажигание включено 11–14 В

    NG
    OK