POWER STEERING SYSTEM CALIBRATION

  1. TORQUE SENSOR ZERO POINT CALIBRATION (USING GTS)

    Note:

    Perform torque sensor zero point calibration if any of the following conditions occur:

    • The power steering ECU assembly has been replaced.

    • The steering column assembly has been replaced.

    • There is a difference in steering effort between turning left and right.

    1. Perform inspection before calibration.

      1. Turn the ignition switch off.

      2. Connect the GTS to the DLC3.

      3. Turn the ignition switch to ON.

      4. Turn the GTS on.

      5. Calibrate the power steering ECU assembly. Enter the following menus: Chassis / EMPS / Data List.

      6. Check the values by referring to the table below.

        Chassis > EMPS > Data List

        Tester Display

        Measurement Item

        Range

        Normal Condition

        Diagnostic Note

        IG Power Supply

        IG power source voltage

        Min.: 0.0000 V

        Max.: 20.1531 V

        8 to 16 V

        Ignition switch ON

        Chassis > EMPS > Data List

        Tester Display

        IG Power Supply

        Standard Voltage

        8 to 16 V

        Note:

        If the IG power supply voltage is 8 V or less, calibration cannot be performed. In this case, charge or replace the battery, and then perform calibration.

    2. Perform torque sensor zero point calibration.

      Note:

      If DTC C1516 (Torque Sensor Zero Point Adjustment Incomplete) is stored, the torque sensor zero point cannot be calibrated. Clear the DTCs before starting calibration.

      1. Set the steering wheel to the center point and align the front wheels straight ahead.

      2. Turn the ignition switch off.

      3. Connect the GTS to the DLC3.

      4. Turn the ignition switch to ON.

      5. Turn the GTS on.

      6. Enter the following menus: Chassis / EMPS / Utility / Torque Sensor Adjustment.

        Chassis > EMPS > Utility

        Tester Display

        Torque Sensor Adjustment

        Note:
        • Do not turn the steering wheel sharply.

        • Do not touch the steering wheel during torque sensor zero point calibration (for 3 seconds).

      7. Check for DTCs.

        Click here

        Chassis > EMPS > Trouble Codes

        Note:

        If DTC C1515, C1516, C1534 or C1581 is output, perform troubleshooting for the corresponding DTC.

        Result

        Result

        See Procedure

        DTC C1515 is output.

        Click here

        DTC C1516 is output.

        Click here

        DTC C1534 is output.

        Click here

        DTC C1581 is output.

        Click hereClick here

  2. TORQUE SENSOR ZERO POINT CALIBRATION (USING SST CHECK WIRE)

    Note:

    Perform torque sensor zero point calibration if any of the following conditions occur:

    • The power steering ECU assembly has been replaced.

    • The steering column assembly has been replaced.

    • There is a difference in steering effort between turning left and right.

    1. Check for DTCs.

      1. Check for DTCs.

        Click here

        Note:
        • If DTC 16 (Torque Sensor Zero Point Adjustment Incomplete) is stored, the torque sensor zero point cannot be calibrated. Clear the DTCs before starting calibration.

        • If DTCs other than 16 is output, refer to Diagnostic Trouble Code Chart.

          Click hereClick here

    2. Perform pre-calibration check.

      1. Turn the ignition switch off.

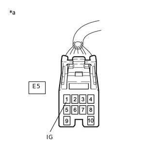
      2. Disconnect the E5 power steering ECU assembly connector.

      3. Turn the ignition switch to ON.

      4. C261922C10

        *a

        Front view of wire harness connector

        (to Power Steering ECU Assembly)

        Measure the voltage according to the value(s) in the table below.

        Standard Voltage

        Tester Connection

        Condition

        Specified Condition

        E5-1 (IG) - Body ground

        Ignition switch ON

        8 to 16 V

        Note:

        If the IG power supply voltage is 8 V or less, calibration cannot be performed. In this case, charge or replace the battery, and then perform calibration.

      5. Turn the ignition switch off.

      6. Reconnect the E5 power steering ECU assembly connector.

    3. Clear sensor calibration value.

      1. Set the steering wheel to the center point and align the front wheels straight ahead.

      2. Turn the ignition switch off.

      3. C248264C01

        *a

        DLC3

        Using SST, connect terminals 12 (TS) and 4 (CG) of the DLC3.

        09843-18040

        Note:

        Connect the terminals to the correct positions to avoid a malfunction.

      4. Turn the ignition switch to ON and then connect and disconnect terminals 13 (TC) and 4 (CG) at least 20 times in 20 seconds.

      5. C213288C04

        *a

        EPS Warning Light

        Check that the EPS warning light blinks and then remains illuminated.

        Tip:

        The EPS warning light illumination indicates that DTC 15 has been stored.

      6. Turn the ignition switch off.

        Note:

        After clearing the sensor calibration value, zero point calibration cannot be performed if the ignition switch is ON.

    4. Perform torque sensor zero point calibration.

      Note:

      As torque sensor zero point calibration cannot be performed if DTC 15 has not been stored, be sure to perform sensor calibration value erasure before performing torque sensor zero point calibration.

      1. Set the steering wheel to the center point and align the front wheels straight ahead.

      2. Turn the ignition switch off.

      3. C248264C02

        *a

        DLC3

        Using SST, connect terminals 12 (TS) and 4 (CG) of the DLC3.

        09843-18040

      4. Turn the ignition switch to ON and then connect terminals 13 (TC) and 4 (CG).

        Note:

        Do not touch the steering wheel during calibration (for 3 seconds).

        Tip:

        The EPS warning light remains illuminated even after calibration has completed.

  3. ASSIST MAP WRITING (USING GTS)

    Note:

    Perform assist map writing if the following condition occurs:

    The power steering ECU assembly has been replaced.

    1. Turn the ignition switch off.

    2. Connect the GTS to the DLC3.

    3. Turn the ignition switch to ON.

    4. Turn the GTS on.

    5. Enter the following menus: Chassis / EMPS / Utility / Signal Check.

      Chassis > EMPS > Utility

      Tester Display

      Signal Check

      Tip:
      • Follow the instructions on the GTS to perform Signal Check.

      • With DTC C1581 output, performing Signal Check will cause the power steering ECU assembly to enter Signal Check and the assist map will be written automatically.

    6. Wait for at least 5 seconds.

    7. Check for DTCs.

      Click here

      Chassis > EMPS > Trouble Codes

      Tip:

      After writing the assist map, if DTC C1581 is output, perform the troubleshooting procedure for DTC C1581.

      Click hereClick here

  4. ASSIST MAP WRITING (USING SST CHECK WIRE)

    Note:

    Perform assist map writing if the following condition occurs:

    The power steering ECU assembly has been replaced.

    Tip:

    If DTC 81 is output after torque sensor zero point calibration, perform assist map writing.

    1. C248264C03

      *a

      DLC3

      Turn the ignition switch off.

    2. Using SST, connect terminals 12 (TS) and 4 (CG) of the DLC3.

      09843-18040

      Note:

      Connect the terminals properly to avoid a malfunction.

    3. Turn the ignition switch to ON.

    4. Wait for 5 seconds or more.

    5. Check for DTCs.

      Click here

      Tip:

      After writing the assist map, if DTC 81 is output, perform the troubleshooting procedure for DTC 81.

      Click hereClick here