AIRBAG SYSTEM(w/o Occupant Classification System), Diagnostic DTC:B161A/8A

DTC Code DTC Name
B161A/8A Lost Communication with Front Satellite Sensor Bus

DESCRIPTION

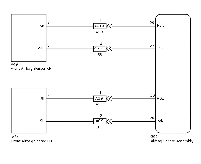
The front collision sensor circuit (front airbag sensor RH circuit and front airbag sensor LH circuit) is composed of the airbag sensor assembly, front airbag sensor RH and front airbag sensor LH.

The front airbag sensor RH or front airbag sensor LH detects impacts to the vehicle and sends signals to the airbag sensor assembly to determine if the airbag should be deployed.

DTC B161A/8A is stored when a malfunction is detected in the front collision sensor circuit (front airbag sensor RH circuit and front airbag sensor LH circuit).

DTC No.

Detection Item

DTC Detection Condition

Trouble Area

B161A/8A

Lost Communication with Front Satellite Sensor Bus

One of the following conditions is met:

  • The airbag sensor assembly detects a line short circuit signal, open circuit signal, short circuit to ground signal or short circuit to B+ signal in the front collision sensor circuit (front airbag sensor RH circuit and front airbag sensor LH circuit).

  • A front airbag sensor RH malfunction.

  • A front airbag sensor LH malfunction.

  • A airbag sensor assembly malfunction.

  • Instrument panel wire

  • Engine room main wire

  • Front airbag sensor RH

  • Front airbag sensor LH

  • Airbag sensor assembly

WIRING DIAGRAM

C279109E01

CAUTION / NOTICE / HINT

Note:
  • After turning the power switch off, waiting time may be required before disconnecting the cable from the negative (-) auxiliary battery terminal. Therefore, make sure to read the disconnecting the cable from the negative (-) auxiliary battery terminal notices before proceeding with work.

    Click hereClick hereClick hereClick here

  • When disconnecting the cable from the negative (-) auxiliary battery terminal while performing repairs, some systems need to be initialized after the cable is reconnected.

    Click hereClick hereClick here

  • After replacing the airbag sensor assembly, refer to initialization.

    Click hereClick hereClick here

PROCEDURE

  1. CHECK DTC

    1. Turn the power switch to on (IG), and wait for at least 60 seconds.

    2. Turn the power switch off.

      Tip:

      If a communication error occurs, DTCs for both the LH and RH sides will be stored simultaneously. To identify the malfunctioning area, turn the power switch off and then to on (IG) again.

    3. Turn the power switch to on (IG), and wait for at least 60 seconds.

    4. Check for DTCs.

      Click here

      Body Electrical > SRS Airbag > Trouble Codes

      Result

      Proceed to

      DTC B1613/83 is output

      DTC B1618/84 is output

      DTCs B1613/83 and B1618/84 are not output

      Tip:
      • DTCs indicating communication errors will be changed to DTCs indicating errors in initialization by turning the power switch off and then to on (IG) again.

      • Codes other than DTCs B1613/83 and B1618/84 may be output at this time, but they are not related to this check.

    DTC B1613/83 is output

    GO TO DTC B1613/83

    DTC B1618/84 is output

    GO TO DTC B1618/84

    DTCs B1613/83 and B1618/84 are not output
  2. CHECK AIR BAG SENSOR ASSEMBLY

    1. Turn the power switch to on (IG), and wait for at least 60 seconds.

    2. Clear the DTCs stored in memory.

      Click here

      Body Electrical > SRS Airbag > Clear DTCs

    3. Turn the power switch off.

    4. Turn the power switch to on (IG), and wait for at least 60 seconds.

    5. Check for DTCs.

      Click here

      Body Electrical > SRS Airbag > Trouble Codes

      Result

      Proceed to

      DTC B161A/8A is not output

      DTC B161A/8A is output

      Tip:

      Codes other than DTC B161A/8A may be output at this time, but they are not related to this check.

    DTC B161A/8A is not output

    USE SIMULATION METHOD TO CHECK

    DTC B161A/8A is output

    REPLACE AIR BAG SENSOR ASSEMBLY