AIRBAG SYSTEM(w/o Occupant Classification System), Diagnostic DTC:B1651/33

DTC Code DTC Name
B1651/33 Manual Cut off Switch Trouble

DESCRIPTION

Tip:

"Manual cut off switch" refers to the airbag cutoff switch cylinder.

The airbag cutoff switch cylinder sub-assembly consists of the airbag sensor assembly and airbag cutoff switch cylinder sub-assembly.

The instrument panel passenger airbag assembly can be optionally deactivated via this circuit by turning the airbag cutoff switch cylinder sub-assembly to the "OFF" position.

If the instrument panel passenger airbag assembly is deactivated, the airbag cutoff switch cylinder sub-assembly comes on to inform the passengers.

DTC B1651/33 is stored when a malfunction is detected in the airbag cutoff switch cylinder sub-assembly circuit.

DTC No.

Detection Item

DTC Detection Condition

Trouble Area

B1651/33

Manual Cut off Switch Trouble

One of the following conditions is met:

  • The airbag sensor assembly detects a line short circuit signal, open circuit signal, short circuit to ground signal or short circuit to B+ signal in the airbag cutoff switch cylinder circuit for 2 seconds.

  • An airbag cutoff switch cylinder malfunction.

  • A airbag sensor assembly malfunction.

  • Instrument panel wire

  • Airbag cutoff switch cylinder sub-assembly

  • Airbag sensor assembly

WIRING DIAGRAM

C262371E01

CAUTION / NOTICE / HINT

Note:
  • After turning the power switch off, waiting time may be required before disconnecting the cable from the negative (-) auxiliary battery terminal. Therefore, make sure to read the disconnecting the cable from the negative (-) auxiliary battery terminal notices before proceeding with work.

    Click hereClick hereClick hereClick here

  • When disconnecting the cable from the negative (-) auxiliary battery terminal while performing repairs, some systems need to be initialized after the cable is reconnected.

    Click hereClick hereClick here

  • After replacing the airbag sensor assembly, refer to initialization.

    Click hereClick hereClick here

Tip:

The 11 (MSW+) and 12 (MSW-) terminals in this circuit have an activation prevention mechanism. This mechanism can be used to check for an open circuit in the wire harness. In case of other checks (check for short, short to ground or short to B+), it is necessary to release this mechanism.

PROCEDURE

  1. CHECK INSTRUMENT PANEL WIRE

    1. C279115C01

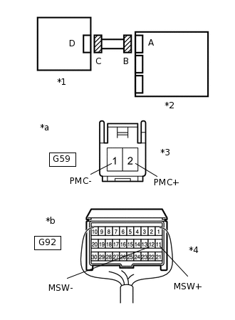
      *1

      Airbag Cutoff Switch Cylinder Sub-assembly

      *2

      Airbag Sensor Assembly

      *3

      Connector C

      *4

      Connector B

      *a

      Front view of wire harness connector

      (to Airbag Cutoff Switch Cylinder Sub-assembly)

      *b

      Rear view of wire harness connector

      (to Airbag Sensor Assembly)

      Turn the power switch off.

    2. Disconnect the cable from the negative (-) auxiliary battery terminal, and wait for at least 90 seconds.

    3. Disconnect the connectors from the airbag sensor assembly and airbag cut off switch cylinder.

    4. Connect the cable to the negative (-) auxiliary battery terminal, and wait for at least 2 seconds.

    5. Turn the power switch to on (IG).

    6. Measure the voltage according to the value(s) in the table below.

      Standard Voltage

      Tester Connection

      Switch Condition

      Specified Condition

      G59-2 (PMC+) - Body ground

      Power switch on (IG)

      Below 1 V

      G59-1 (PMC-) - Body ground

      Power switch on (IG)

      Below 1 V

    7. Turn the power switch off.

    8. Disconnect the cable from the negative (-) auxiliary battery terminal, and wait for at least 90 seconds.

    9. Measure the resistance according to the value(s) in the table below.

      Standard Resistance

      Tester Connection

      Condition

      Specified Condition

      G59-2 (PMC+) - G59-1 (PMC-)

      Always

      Below 1 Ω

    10. Release the activation prevention mechanism built into connector B.

      Click here

    11. Measure the resistance according to the value(s) in the table below.

      Standard Resistance

      Tester Connection

      Condition

      Specified Condition

      G59-2 (PMC+) - G59-1 (PMC-)

      Always

      1 MΩ or higher

      G59-2 (PMC+) - Body ground

      Always

      1 MΩ or higher

      G59-1 (PMC-) - Body ground

      Always

      1 MΩ or higher

    12. Restore the released activation prevention mechanism of connector B to its original condition.

    Result

    Proceed to

    OK

    NG

    NG

    REPLACE INSTRUMENT PANEL WIRE

    OK
  2. INSPECT AIRBAG CUTOFF SWITCH CYLINDER SUB-ASSEMBLY

    1. Remove the airbag cutoff switch cylinder sub-assembly.

      Click here

    2. Inspect the airbag cutoff switch cylinder sub-assembly.

      Click here

    Result

    Proceed to

    OK

    NG

    NG

    REPLACE AIRBAG CUTOFF SWITCH CYLINDER SUB-ASSEMBLY

    OK
  3. CHECK AIR BAG SENSOR ASSEMBLY

    1. C146229C15

      *1

      Airbag Cutoff Switch Cylinder Sub-assembly

      *2

      Airbag Sensor Assembly

      Connect the connectors to the airbag sensor assembly and airbag cutoff switch cylinder.

    2. Connect the cable to the negative (-) auxiliary battery terminal, and wait for at least 2 seconds.

    3. Turn the power switch to on (IG), and wait for at least 60 seconds.

    4. Clear the DTCs stored in memory.

      Click here

      Body Electrical > SRS Airbag > Clear DTCs

    5. Turn the power switch off.

    6. Turn the power switch to on (IG), and wait for at least 60 seconds.

    7. Check for DTCs.

      Click here

      Body Electrical > SRS Airbag > Trouble Codes

      Result

      Proceed to

      DTC B1651/33 is not output

      DTC B1651/33 is output

      Tip:

      Codes other than DTC B1651/33 may be output at this time, but they are not related to this check.

    DTC B1651/33 is not output

    USE SIMULATION METHOD TO CHECK

    DTC B1651/33 is output

    REPLACE AIR BAG SENSOR ASSEMBLY