Tech Tips
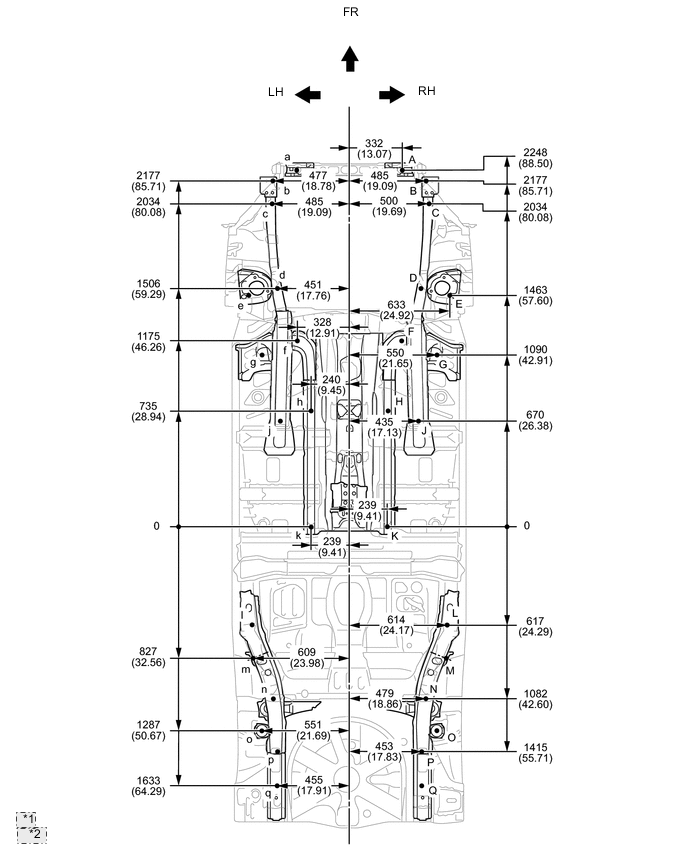
Length measurements are indicated at the points where the arrows extending from the zero point intersect the lines that extend towards the outside of the illustration from each point.
Point B, b and C, c on the vehicle are asymmetrical.
In cases in which only one dimension is given, left and right are symmetrical.
For symbols, capital letters indicate right side of vehicle, small letters indicate left side of vehicle (seen from rear).
| Symbol | Name | Hole Diameter mm (in.) |
|---|---|---|
| A, a | Radiator Lower Support Standard Hole | φ10 (0.39) |
| B, b | Front Crossmember Installation Nut | M12 (0.47) |
| C, c | Front Side Inner Member Standard Hole | φ18 (0.71) |
| D, d | Front Suspension Member Installation Nut | M14 (0.55) |
| E, e | Front Spring Support Installation Hole | φ12.5 (0.49) |
| F, f | Front Suspension Member Installation Nut | M14 (0.55) |
| G, g | Torque Box Front Standard Hole | φ25 (0.98) |
| H, h | Front Side Member Reinforcement Standard Hole | φ22 (0.87) |
| J, j | Front Side Member Standard Hole | φ18 (0.71) |
| K, k | Front Floor Center Panel Standard Hole | φ18 (0.71) |
| L, l | Rear Floor Side Front Member Standard Hole | φ25 (0.98) |
| M, m | Trailing Arm Installation Hole | φ16 (0.63) |
| N, n | Rear Spring Plate Standard Hole | φ10 (0.39) |
| O, o | Rear Shock Absorber Installation Hole | φ26 (1.02) |
| P, p | Rear Floor Side Rear Member Standard Hole | φ16 (0.63) |
| Q, q | Rear Floor Side Rear Member Standard Hole | φ18 (0.71) |
| Wheel Base | 2780 mm (109.45 in.) |
| *1 | mm |
| *2 | (in.) |
| *1 | Imaginary Datum Line |
| *2 | Height from Imaginary Datum Line |
| *3 | mm |
| *4 | (in.) |