LUBRICATION SYSTEM


  1. CONSTRUCTION


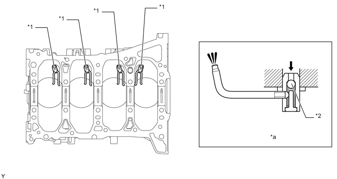
    1. Oil nozzle sub-assemblies are provided on the left side of the cylinder block sub-assembly for cooling and lubricating the pistons.

    2. These No. 2 oil nozzle sub-assemblies contain a check ball to prevent oil from being fed when the oil pressure is low. This prevents the overall oil pressure in the engine from dropping.

      A01O7FXC03
      *1 No. 2 Oil Nozzle Sub-assembly *2 Check Ball
      *a Oil Nozzle Sub-assembly Cross Section - -
      B008JPG Oil - -