COOLING SYSTEM


  1. CONSTRUCTION


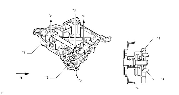
    1. Water Pump Assembly


      1. Oil pan sub-assembly has been installed in the engine water pump assembly to drive the fan and generator V belt.

      2. The system has been made more compact by the adoption of small-diameter bearings.

        A004H03E03
        Text in Illustration
        *1 Water Pump Assembly *2 Oil Pan Sub-assembly
        *3 Volute Chamber *4 Rotor
        *a Cross Section *b from Radiator Assembly
        *c to Cylinder Block Sub-assembly RH *d from Bottom Bypass Line
        *e to Cylinder Block LH *f Water Flow
    2. Radiator Assembly


      1. A cross flow type radiator is used.

      2. A lightweight, high-performance aluminum-core radiator has been adopted to improve cooling performance and reduce weight.

      3. A lower vehicle height has been achieved by tilting the radiator at an angle of 17 degrees.

        A004GRTE03
        Text in Illustration
        *1 Radiator Assembly *2 Cooler Condenser Assembly
        A004GVA Engine Front - -