СИСТЕМА ПОДУШЕК БЕЗОПАСНОСТИ SRS, диагностические DTC: B1612 и B1613

Код DTC Наименование DTC
B1612 Нарушение связи с правым передним датчиком системы SRS
B1613 Ошибка инициализации переднего датчика системы SRS (правого)

ОПИСАНИЕ

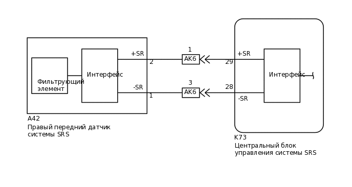
Цепь правого переднего датчика системы SRS включает в себя центральный блок управления системы SRS и правый передний датчик системы SRS.

Правый передний датчик системы SRS обнаруживает удар автомобиля при столкновении и посылает сигналы в блок управления системы SRS, который определяет необходимость активации подушек безопасности и преднатяжителей.

Эти коды DTC регистрируются при обнаружении неисправности в цепи правого переднего датчика системы SRS.

№ DTC

Неисправность

Условие обнаружения DTC

Неисправный участок

Индикация предупреждения

Режим диагностики / режим проверки

B1612

Нарушение связи с правым передним датчиком системы SRS

  • Датчик системы SRS обнаруживает сигнал короткого замыкания в линии, короткого замыкания на массу или B+, или обрыва в цепи правого переднего датчика системы SRS.

  • Неисправность правого переднего датчика системы SRS

  • Неисправность блока управления системы SRS

  • Жгут проводов панели приборов

  • Основной жгут проводов моторного отсека

  • Правый передний датчик системы SRS

  • Центральный блок управления системы SRS

Загорается

Не относится к режиму диагностики/проверки

B1613

Ошибка инициализации переднего датчика системы SRS (правого)

  • Датчик системы SRS обнаруживает сигнал короткого замыкания в линии, короткого замыкания на массу или B+, или обрыва в цепи правого переднего датчика системы SRS.

  • Неисправность правого переднего датчика системы SRS

  • Неисправность блока управления системы SRS

  • Жгут проводов панели приборов

  • Основной жгут проводов моторного отсека

  • Правый передний датчик системы SRS

  • Центральный блок управления системы SRS

Загорается

Не относится к режиму диагностики/проверки

СХЕМА ЭЛЕКТРИЧЕСКИХ СОЕДИНЕНИЙ

B473428E07

ПРЕДОСТЕРЕЖЕНИЕ / ПРИМЕЧАНИЕ / УКАЗАНИЕ

Note:

После выключения двигателя следует подождать некоторое время, прежде чем отсоединять провод от отрицательного (–) вывода аккумуляторной батареи. Поэтому, прежде чем приступать к этой работе, обязательно ознакомьтесь с примечанием относительно отсоединения провода от отрицательного (-) вывода аккумуляторной батареи.

Нажмите здесьЩелкните по следующей ссылкеЩелкните по следующей ссылке

ПОРЯДОК ВЫПОЛНЕНИЯ

  1. ПРОВЕРЬТЕ ПОДСОЕДИНЕНИЕ РАЗЪЕМОВ

    1. Выключите зажигание.

    2. Отсоедините провод от отрицательного (-) вывода аккумуляторной батареи.

      CAUTION:

      После отсоединения провода от отрицательного (-) вывода аккумуляторной батареи подождите не менее 90 с, чтобы предотвратить срабатывание системы SRS.

    3. Проверьте правильность подключения разъемов к центральному блоку управления системы SRS и правому переднему датчику системы SRS. Также убедитесь в надежности подключения разъемов, соединяющих главный кабель моторного отсека и жгут проводов панели приборов.

      OK

      Разъемы подсоединены должным образом.

    Результат

    Перейти к

    OK

    НЕ СООТВ.

    НЕ СООТВ.

    ПОДСОЕДИНИТЕ РАЗЪЕМЫ ДОЛЖНЫМ ОБРАЗОМ

    СООТВ
  2. ПРОВЕРЬТЕ РАЗЪЕМЫ

    1. Отсоедините разъемы от центрального блока управления системы SRS и правого переднего датчика системы SRS. Также разъедините разъемы, соединяющие главный кабель моторного отсека и жгут проводов панели приборов.

    2. Убедитесь, что контакты разъемов не деформированы и не повреждены.

      OK

      Контакты не деформированы и не повреждены.

    Результат

    Перейти к

    OK

    НЕ СООТВ.

    НЕ СООТВ.

    ЗАМЕНИТЕ ЖГУТ ПРОВОДОВ ПАНЕЛИ ПРИБОРОВ ИЛИ ГЛАВНЫЙ КАБЕЛЬ МОТОРНОГО ОТСЕКА

    СООТВ
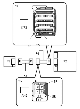
  3. ПРОВЕРЬТЕ ЦЕПЬ ПРАВОГО ПЕРЕДНЕГО ДАТЧИКА СИСТЕМЫ SRS

    1. B473429C01

      *1

      Правый передний датчик системы SRS

      *2

      Центральный блок управления системы SRS

      *3

      Главный жгут проводов моторного отсека

      *4

      Жгут проводов панели приборов

      *5

      Технологический провод

      *a

      Вид спереди разъема со стороны жгута проводов:

      (блок управления системы SRS)

      *b

      Вид спереди разъема со стороны жгута проводов:

      (к правому переднему датчику системы SRS)

      Соедините разъемы, соединяющие главный кабель моторного отсека и жгут проводов панели приборов.

    2. Подсоедините провод к отрицательному (-) выводу аккумуляторной батареи.

    3. Установите замок зажигания в положение ON (ВКЛ).

    4. Измерьте напряжение в соответствии со значениями, приведенными в таблице.

      Номинальное напряжение

      Подключение диагностического прибора

      Условие

      Заданные условия

      A42-2 (+SR) - масса

      Зажигание включено

      Менее 1 В

      A42-1 (-SR) - масса

      Зажигание включено

      Менее 1 В

    5. Выключите зажигание.

    6. Отсоедините провод от отрицательного (-) вывода аккумуляторной батареи.

      CAUTION:

      После отсоединения провода от отрицательного (-) вывода аккумуляторной батареи подождите не менее 90 с, чтобы предотвратить срабатывание системы SRS.

    7. С помощью технологического провода соедините контакты 29 (+SR) и 28 (-SR) разъема "В".

      Note:

      Технологический провод следует вставлять в контакты разъема без усилия.

    8. Измерьте сопротивление в соответствии со значениями, приведенными в таблице ниже.

      Номинальное сопротивление

      Подключение диагностического прибора

      Условие

      Заданные условия

      A42-2 (+SR) - A42-1 (-SR)

      Всегда

      Менее 1 Ом

    9. Отсоедините технологический провод от разъема В.

    10. Измерьте сопротивление в соответствии со значениями, приведенными в таблице ниже.

      Номинальное сопротивление

      Подключение диагностического прибора

      Условие

      Заданные условия

      A42-2 (+SR) - A42-1 (-SR)

      Всегда

      1 МОм или более

      A42-2 (+SR) - масса

      Всегда

      1 МОм или более

      A42-1 (-SR) - масса

      Всегда

      1 МОм или более

    Результат

    Перейти к

    OK

    НЕ СООТВ.

    НЕ СООТВ.

    ПРОВЕРЬТЕ ЖГУТ ПРОВОДОВ ПАНЕЛИ ПРИБОРОВЩелкните по следующей ссылке

    СООТВ
  4. ПРОВЕРЬТЕ ПРАВЫЙ ПЕРЕДНИЙ ДАТЧИК СИСТЕМЫ SRS

    1. C238386C02

      *1

      Левый передний датчик системы SRS

      *2

      Блок управления системы SRS

      Подсоедините разъем к блоку управления системы SRS.

    2. Поменяйте местами правый и левый передние датчики системы SRS в сборе и подсоедините к ним разъемы.

    3. Подсоедините провод к отрицательному (-) выводу аккумуляторной батареи.

    4. Установите замок зажигания в положение ON (ВКЛ) и подождите не менее 60 секунд.

    5. Удалите коды DTC, сохраненные в памяти.

      Body Electrical > SRS Airbag > Clear DTCs

    6. Выключите зажигание.

    7. Установите замок зажигания в положение ON (ВКЛ) и подождите не менее 60 секунд.

    8. Проверьте наличие кодов DTC.

      Body Electrical > SRS Airbag > Trouble Codes

      Tip:

      На этом этапе могут выводиться коды, отличные от кодов DTC B1612, B1613, B1617 и B1618, однако они не связаны с данной проверкой.

    9. Выключите зажигание.

    10. Отсоедините провод от отрицательного (-) вывода аккумуляторной батареи.

      CAUTION:

      После отсоединения провода от отрицательного (-) вывода аккумуляторной батареи подождите не менее 90 с, чтобы предотвратить срабатывание системы SRS.

    11. Установите на место правый и левый передние датчики системы SRS и подсоедините к ним разъемы.

    Результат

    Result

    Перейдите к

    Коды DTC B1612, B1613, B1617 и B1618 не выводятся.

    A

    Выводится код DTC B1617 или B1618.

    B

    Выводится код DTC B1612 или B1613.

    C

    A

    ВЫПОЛНИТЕ ПРОВЕРКУ С ИМИТАЦИЕЙ УСЛОВИЙ ВОЗНИКНОВЕНИЯ НЕИСПРАВНОСТИ

    B

    ЗАМЕНИТЕ ПРАВЫЙ ПЕРЕДНИЙ ДАТЧИК СИСТЕМЫ SRS

    C

    ЗАМЕНИТЕ ЦЕНТРАЛЬНЫЙ БЛОК УПРАВЛЕНИЯ СИСТЕМЫ SRS

  5. ПРОВЕРЬТЕ ЖГУТ ПРОВОДОВ ПАНЕЛИ ПРИБОРОВ

    1. B473430C01

      *1

      Правый передний датчик системы SRS

      *2

      Центральный блок управления системы SRS

      *3

      Главный жгут проводов моторного отсека

      *4

      Жгут проводов панели приборов

      *5

      Технологический провод

      *a

      Вид спереди разъема со стороны жгута проводов:

      (блок управления системы SRS)

      *b

      Вид спереди разъема со стороны жгута проводов:

      (к главному кабелю моторного отсека)

      Отсоедините разъем основного жгута проводов моторного отсека от жгута проводов панели приборов.

    2. Подсоедините провод к отрицательному (-) выводу аккумуляторной батареи.

    3. Установите замок зажигания в положение ON (ВКЛ).

    4. Измерьте напряжение в соответствии со значениями, приведенными в таблице.

      Номинальное напряжение

      Подключение диагностического прибора

      Условие

      Заданные условия

      AK6-1 (+SR) - масса

      Зажигание включено

      Менее 1 В

      AK6-3 (-SR) - масса

      Зажигание включено

      Менее 1 В

    5. Выключите зажигание.

    6. Отсоедините провод от отрицательного (-) вывода аккумуляторной батареи.

      CAUTION:

      После отсоединения провода от отрицательного (-) вывода аккумуляторной батареи подождите не менее 90 с, чтобы предотвратить срабатывание системы SRS.

    7. С помощью технологического провода соедините контакты 29 (+SR) и 28 (-SR) разъема "В".

      Note:

      Технологический провод следует вставлять в контакты разъема без усилия.

    8. Измерьте сопротивление в соответствии со значениями, приведенными в таблице ниже.

      Номинальное сопротивление

      Подключение диагностического прибора

      Условие

      Заданные условия

      AK6-1 (+SR) - AK6-3 (-SR)

      Всегда

      Менее 1 Ом

    9. Отсоедините технологический провод от разъема В.

    10. Измерьте сопротивление в соответствии со значениями, приведенными в таблице ниже.

      Номинальное сопротивление

      Подключение диагностического прибора

      Условие

      Заданные условия

      AK6-1 (+SR) - AK6-3 (-SR)

      Всегда

      1 МОм или более

      AK6-1 (+SR) - масса

      Всегда

      1 МОм или более

      AK6-3 (-SR) - масса

      Всегда

      1 МОм или более

    Результат

    Перейти к

    OK

    НЕ СООТВ.

    OK

    ЗАМЕНИТЕ ГЛАВНЫЙ КАБЕЛЬ МОТОРНОГО ОТСЕКА

    NG

    ЗАМЕНИТЕ ЖГУТ ПРОВОДОВ ПАНЕЛИ ПРИБОРОВ