BODY LOWER BACK PANEL REINFORCEMENT ASSEMBLY REPLACEMENT

A0050GP

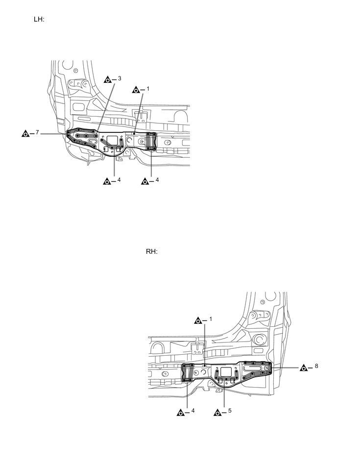
  1. REMOVAL

    Symbol meaning
    A0050K6 Remove Weld Points
    A0050EFE02
  2. INSTALLATION

    Symbol meaning
    A0050CS Plug Weld

      INSTALLATION POINT

    1. After welding, apply body sealer to the corresponding parts. (See the painting / coating)

    2. After applying the top coat, apply anti-rust agent to the internal panel portion of the closed section structural weld points.

    A0050H5E01
    *1 LOWER BACK GUSSET UPPER
    *2 BODY LOWER BACK REINFORCEMENT NO.2