FRONT STABILIZER BAR INSTALLATION

PROCEDURE


  1. INSTALL FRONT NO. 1 STABILIZER BRACKET LH


    1. B004EQVN02

      Press the front No. 1 stabilizer bracket LH against the frame toward the outside of the vehicle and temporarily tighten the bolt (A).

    2. Install the bolt (B), fully tighten the bolt (A), and then install the 2 bolts (C).

      Torque:
      49 N*m  { 500 kgf*cm, 36 ft.*lbf }
    3. for LHD:


      1. Install the wire harness clamp to the front No. 1 stabilizer bracket LH.

    4. for RHD:


      1. Install the 2 wire harness clamps to the front No. 1 stabilizer bracket LH.

  2. INSTALL FRONT NO. 1 STABILIZER BRACKET RH


    1. B004EKQN02

      Press the front No. 1 stabilizer bracket RH against the frame toward the outside of the vehicle and temporarily tighten the bolt (A).

    2. Install the bolt (B), fully tighten the bolt (A), and then install the 2 bolts (C).

      Torque:
      49 N*m  { 500 kgf*cm, 36 ft.*lbf }
    3. for LHD:


      1. Install the 2 wire harness clamps to the front No. 1 stabilizer bracket RH.

    4. for RHD:


      1. Install the wire harness clamp to the front No. 1 stabilizer bracket RH.

  3. INSTALL FRONT STABILIZER BAR BUSHING


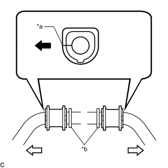
    1. B004FYCC02
      *a Cutout
      *b Bushing Stopper
      B008GAS Front of the Vehicle
      B008GGT Outside of the Vehicle

      Install the 2 front stabilizer bar bushings to the front stabilizer bar as shown in the illustration.

      Note

      When installing the front stabilizer bar bushing, make sure that the cutout faces the front of the vehicle.

  4. INSTALL FRONT STABILIZER BAR


    1. B004F5AC02
      *a Identification Mark
      B008GAS Front of the Vehicle
      B008GGT RH Side

      Install the front stabilizer bar to the vehicle so that the identification mark is positioned on the right side of the vehicle.

  5. INSTALL FRONT NO. 2 STABILIZER BRACKET LH


    1. Install the front No. 2 stabilizer bracket LH to the front No. 1 stabilizer bracket LH with the 2 bolts.

      Torque:
      49 N*m  { 500 kgf*cm, 36 ft.*lbf }
  6. INSTALL FRONT NO. 2 STABILIZER BRACKET RH

    Tech Tips

    Perform the same procedure as for the LH side.

  7. INSTALL REAR ENGINE UNDER COVER LH

    Click here

  8. INSTALL REAR ENGINE UNDER COVER RH

    Tech Tips

    Perform the same procedure as for the LH side.

  9. INSTALL FRONT STABILIZER LINK ASSEMBLY LH


    1. Install the front stabilizer link assembly LH to the front stabilizer bar and front lower suspension arm assembly LH with the 2 nuts.

      Torque:
      84 N*m  { 857 kgf*cm, 62 ft.*lbf }

      Tech Tips

      If the ball joint turns together with the nut, use a 6 mm hexagon socket wrench to hold the stud bolt.

  10. INSTALL FRONT STABILIZER LINK ASSEMBLY RH

    Tech Tips

    Perform the same procedure as for the LH side.

  11. INSTALL FRONT UPPER NO. 2 SUSPENSION MEMBER

    Click here

  12. INSTALL NO. 1 ENGINE UNDER COVER ASSEMBLY

    Click here

  13. INSTALL FRONT WHEELS

    Click here

  14. INSPECT AND ADJUST FRONT WHEEL ALIGNMENT

    Click here