СИСТЕМА МЕХАНИЧЕСКОЙ ТРАНСМИССИИ


  1. КОНСТРУКЦИЯ


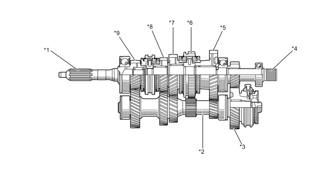
    1. Расположение шестерен: прямая муфта 4-й передачи и 5-я повышающая передача. Все передачи прямого хода имеют постоянное зацепление, обеспечивая отличный показатель бесшумности.

    2. Задняя передача и скользящая муфта объединены в один узел, чтобы уменьшить вес.

      B002N27C01
      *1 Первичный вал *2 Промежуточная шестерня
      *3 5-я передача *4 Выходной вал
      *5 1-я передача *6 Передача заднего хода
      *7 2-я передача *8 3-я передача
      *9 4-я передача - -
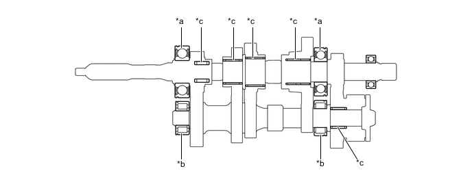
    3. На опорной части первичного и вторичного валов предусматривается уплотненный шарикоподшипник для повышения срока службы.

    4. Цилиндрический роликовый подшипник используется на опорной части промежуточной шестерни, на которую приходится большая нагрузка, чтобы обеспечить достаточную жесткость и прочность опоры.

    5. Игольчатый роликовый подшипник используется в каждой шестерне для уменьшения потерь крутящего момента из-за сопротивления скольжению.

      B002N5VC01
      *a Уплотненный шарикоподшипник *b Цилиндрический роликовый подшипник
      *c Игольчатый роликовый подшипник - -
  2. ПРИНЦИП РАБОТЫ


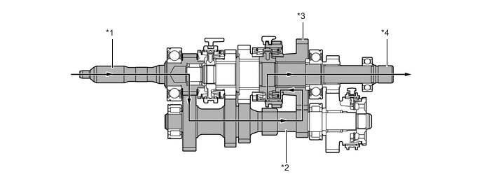
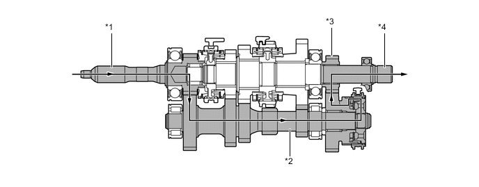
    1. Работа зубчатого механизма (1-я передача)

      B002NCKC01
      *1 Первичный вал *2 Промежуточная шестерня
      *3 1-я передача *4 Выходной вал
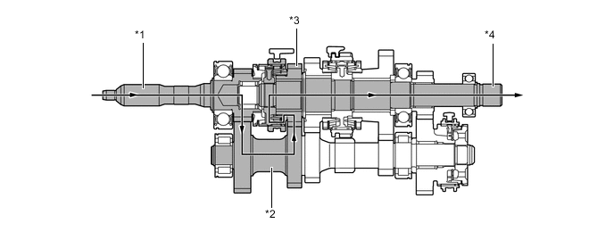
    2. Работа зубчатого механизма (2-я передача)

      B002N70C01
      *1 Первичный вал *2 Промежуточная шестерня
      *3 2-я передача *4 Выходной вал
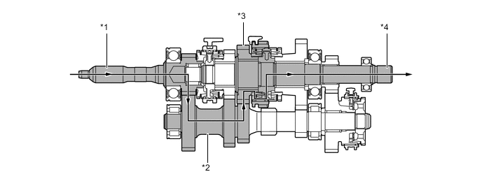
    3. Работа зубчатого механизма (3-я передача)

      B002N84C01
      *1 Первичный вал *2 Промежуточная шестерня
      *3 3-я передача *4 Выходной вал
    4. Работа зубчатого механизма (4-я передача)

      B002NIGC01
      *1 Первичный вал *2 Выходной вал
    5. Работа зубчатого механизма (5-я передача)

      B002NIJC01
      *1 Первичный вал *2 Промежуточная шестерня
      *3 5-я передача *4 Выходной вал
    6. Работа зубчатого механизма (передача заднего хода)

      B002N9SC01
      *1 Первичный вал *2 Промежуточная шестерня
      *3 Шестерня заднего хода *4 Выходной вал
      *5 Промежуточная шестерная заднего хода - -