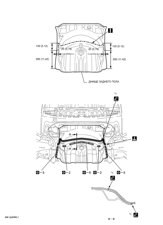
ДНИЩЕ ЗАДНЕГО ПОЛА ОТРЕЗАЕМЫЕ И СТЫКУЕМЫЕ СМЕННЫЕ ЧАСТИ
-
Со снятой задней панелью днища кузова.
СНЯТИЕ
Значения символов

Точки сварки при снятии

Точки сварки при снятии

Точки сварки при снятии

Обрежьте, например, с помощью шлифовальной машины

Место разрезания
УСТАНОВКА
Значения символов

Сварка электрозаклепкой

Сварка электрозаклепкой

Сварка электрозаклепкой

Место разрезания

Угловой сварной шов

Герметик для кузова
ТОЧКА СНЯТИЯ
После снятия боковой панели заднего пола и кронштейна заднего бампера снимите днище заднего пола.
ТОЧКА УСТАНОВКИ
Отрежьте новую деталь так, чтобы он накладывалась на место предыдущего разреза.
Приваривая деталь *2, проделайте отверстие в новой детали для электрозаклепки и приварите панель, расположив ее полностью позади.
*1: Выполните сварку электрозаклепками в месте перекрытия панелей. Нанесите герметик для кузова на обе стороны каждой панели.
Tip:Убедитесь, что панели надежно сварены друг с другом.
Наносите герметик для кузова в виде равномерного по толщине непрерывного валика.
После приваривания днища заднего пола к кузову установите боковую панель заднего пола и кронштейн заднего бампера.
После сварки нанесите герметик для кузова и грунтовочное покрытие на соответствующие детали (См. раздел "Лакокрасочное покрытие".)
После нанесения верхнего слоя покрытия нанесите антикоррозийное средство на сварные точки несущих рабочую нагрузку швов замкнутого профиля с внутренней стороны панели.