REFRIGERANT LINE REMOVAL

PROCEDURE

  1. RECOVER REFRIGERANT FROM REFRIGERATION SYSTEM (for HFC-134a(R134a))

  2. RECOVER REFRIGERANT FROM REFRIGERATION SYSTEM (for HFO-1234yf(R1234yf))

  3. REMOVE PIPING CLAMP (for Sedan)

    1. w/o Sub-cool Accelerator:

      1. While pressing the end of the suction hose sub-assembly into the end of the suction pipe sub-assembly, use pliers to squeeze together both sides of the piping clamp until it breaks apart.

        E260923C01

        *1

        Suction Pipe Sub-assembly

        *2

        Suction Hose Sub-assembly

        *3

        Piping Clamp

        -

        -

        *a

        Press In

        -

        -

        Note:
        • If any foreign matter is adhered to the connecting parts, brush it off or use compressed air to remove it.

        • Make sure that fragments of the piping clamp do not enter the piping.

      2. Separate the suction hose sub-assembly.

        Note:

        Clean off any foreign matter on and near the ends of the suction hose sub-assembly and suction pipe sub-assembly.

      3. Remove the 2 O-rings from the suction hose sub-assembly.

        Note:

        Wrap the open ends of the separated suction pipe sub-assembly and suction hose sub-assembly with vinyl tape to prevent entry of moisture and foreign matter.

      4. Remove the piping clamp.

    2. w/ Sub-cool Accelerator:

      1. While pressing the end of the suction hose sub-assembly into the end of the air conditioner tube and accessory assembly, use pliers to squeeze together both sides of the piping clamp until it breaks apart.

        E260923C01

        *1

        Air Conditioner Tube and Accessory Assembly

        *2

        Suction Hose Sub-assembly

        *3

        Piping Clamp

        -

        -

        *a

        Press In

        -

        -

        Note:
        • If any foreign matter is adhered to the connecting parts, brush it off or use compressed air to remove it.

        • Make sure that fragments of the piping clamp do not enter the piping.

      2. Separate the suction hose sub-assembly.

        Note:

        Clean off any foreign matter on and near the ends of the suction hose sub-assembly and air conditioner tube and accessory assembly.

      3. Remove the 2 O-rings from the suction hose sub-assembly.

        Note:

        Wrap the open ends of the separated air conditioner tube and accessory assembly and suction hose sub-assembly with vinyl tape to prevent entry of moisture and foreign matter.

      4. Remove the piping clamp.

  4. REMOVE PIPING CLAMP (w/ Sub-cool Accelerator)

    1. E337536C01

      *1

      Air Conditioner Tube Assembly

      *2

      Air Conditioner Tube and Accessory Assembly

      Install SST to the piping clamp as shown in the illustration.

      09870-00025

    2. E273284C02

      *a

      Push in

      Hold the air conditioner tube assembly and air conditioner tube and accessory assembly with each hand and push in SST with both thumbs.

      Note:

      Do not apply excessive force to the air conditioner tube assembly or air conditioner tube and accessory assembly as they may bend.

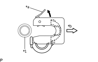
    3. E273285C02

      *1

      Air Conditioner Tube and Accessory Assembly

      *a

      Stopper

      *b

      Pull off

      Raise the stopper of SST and remove SST and the piping clamp together from the air conditioner tube and accessory assembly.

    4. Remove the piping clamp from SST.

    5. Disconnect the air conditioner tube assembly from the air conditioner tube and accessory assembly.

    6. Remove the 2 O-rings from the air conditioner tube assembly.

      Note:

      Seal the openings of the disconnected parts using vinyl tape to prevent entry of moisture and foreign matter.