WIPER AND WASHER SYSTEM SYSTEM DESCRIPTION


  1. WINDSHIELD WIPER SWITCH ASSEMBLY


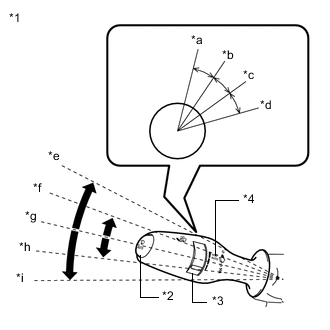
    1. A01WXREC03
      *1 Windshield Wiper Switch Assembly (for Front Wiper Switch RH Side Type)
      *2 AUTO Wiper ON/OFF Switch (for turning AUTO mode ON/OFF and switching wiper between AUTO/INT)
      *3 Auto Sensitivity Adjustment Switch
      *4 Auto Wiper Indicator
      *a Wiper Speed Switch Position P4
      *b Wiper Speed Switch Position P3
      *c Wiper Speed Switch Position P2
      *d Wiper Speed Switch Position P1
      *e OFF
      *f UP
      *g Neutral Position (NEUTRAL)
      *h DOWN
      *i HI
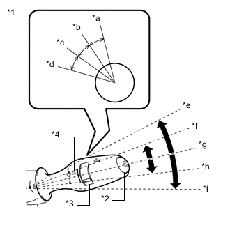
      A01WXMAC03
      *1 Windshield Wiper Switch Assembly (for Front Wiper Switch LH Side Type)
      *2 AUTO Wiper ON/OFF Switch (for turning AUTO mode ON/OFF and switching wiper between AUTO/INT)
      *3 Auto Sensitivity Adjustment Switch
      *4 Auto Wiper Indicator
      *a Wiper Speed Switch Position P4
      *b Wiper Speed Switch Position P3
      *c Wiper Speed Switch Position P2
      *d Wiper Speed Switch Position P1
      *e OFF
      *f UP
      *g Neutral Position (NEUTRAL)
      *h DOWN
      *i HI

      The windshield wiper switch assembly is a momentary type switch. The switch returns to the neutral position (NEUTRAL) automatically.

      Switch Operation Wiper Operation
      OFF Turns the wipers off. (MIST operates when the wipers are stopped.)
      UP

      Switches the wiper operation as follows: HI→LO→OFF


      • MIST operates when the wipers are stopped.


      • MIST operates when INT is selected.


      • The wiper operation will not be changed when AUTO is selected.

      DOWN

      Switches the wiper operation as follows: OFF→LO→HI


      • The wiper operation is switched to LO when AUTO is selected.

      • The wiper operation is not changed during HI operation.

      HI Switches to HI operation.
      AUTO wiper switch pressed for a short time. Switches to AUTO mode. (Using the auto sensitivity adjustment switch, sensitivity can be adjusted to 4 different levels.)
      AUTO wiper switch pressed for 5 seconds or more. Switches to INT mode (Using the auto sensitivity adjustment switch, sensitivity can be adjusted to 4 different levels.)*

      Tech Tips

      *: When all of the following conditions are met, the wiper operation can be changed to INT mode


      • The vehicle is stopped

      • The windshield wiper switch assembly is in the neutral position (NEUTRAL)

      • The wipers are not operating

  2. AUTO WIPER SYSTEM


    1. AUTO wiper switch

      Pressing the AUTO wiper switch on the end of the windshield wiper switch assembly turns the rain sensing AUTO wiper function on and illuminates the AUTO wiper indicator on the windshield wiper switch assembly. The rain sensing AUTO wiper function operates the wipers automatically when raindrops are detected on the windshield. The brightness of the AUTO wiper indicator is adjusted by a signal from the main body ECU (multiplex network body ECU).

    2. Rain sensor sensitivity level adjustment function

      When the rain sensing AUTO function is on, the wiper timing can be changed by operating the automatic control adjuster on the windshield wiper switch assembly and adjusting the rain sensor sensitivity level.

    3. Vehicle speed sensing function

      When the rain sensing AUTO wiper function is on and in INT mode, the wiper speed changes according to the vehicle speed. The wiper speed in INT mode can be adjusted by operating the auto sensitivity adjustment switch on the windshield wiper switch assembly.

  3. HEADLIGHT CLEANER SYSTEM


    1. Headlight cleaner operation (Normal)

      The headlight cleaner motor and pump assembly operate and washer fluid sprays from the headlight washer actuator sub-assembly for approximately 1 second every fifth time the washer switch is operated with the headlights turned on after the power switch is turned on (IG).*

      *: The number of operations is cleared when either the power switch or headlights are turned off and will start from 0 when the power switch is turned on (IG) or headlights are turned on.

    2. Headlight cleaner operation (linked to first washer operation after the power switch is turned on (IG))

      The headlight cleaner motor and pump assembly operate and washer fluid sprays from the headlight washer actuator sub-assembly for approximately 1 second on the first operation of the washer switch with the headlights turned on after the power switch is turned on (IG).

  4. WASHER FLUID LEVEL WARNING


    1. When the washer fluid level is low, "Washer Fluid Low" is displayed on the multi-information display in the combination meter assembly according to a signal from the level warning switch assembly installed to the washer tank.