СИСТЕМА КОНТРОЛЯ СЛЕПЫХ ЗОН, диагностический DTC:C1AB4

Код DTC Наименование DTC
C1AB4 Обрыв в цепи индикатора наружного зеркала (ведущее устройство)

ОПИСАНИЕ

Этот код DTC регистрируется, когда левый датчик системы контроля слепых зон обнаруживает обрыв в цепи индикатора левого наружного зеркала заднего вида.

№ DTC

Неисправность

Условие обнаружения DTC

Неисправный участок

C1AB4

Обрыв в цепи индикатора наружного зеркала (ведущее устройство)

  • При выполнении обоих следующих условий:

  • Система контроля слепых зон включена

  • Когда на индикатор подается рабочее напряжение, ток в цепи индикатора ниже определенной величины.

  • Левое наружное зеркало

  • Левое наружное зеркало заднего вида в сборе

  • Жгут проводов или разъем

  • Левый датчик системы контроля слепых зон

  • ЭБУ электропривода левого наружного зеркала в сборе

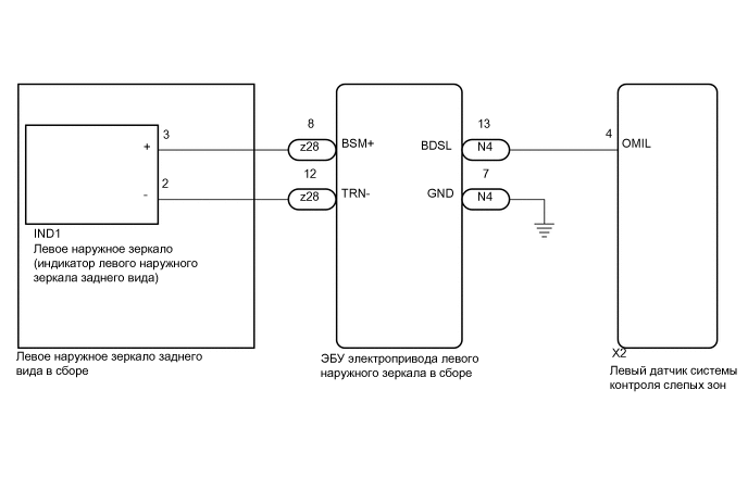
СХЕМА СОЕДИНЕНИЙ

E329056E12

ПРЕДОСТЕРЕЖЕНИЕ / ПРИМЕЧАНИЕ / УКАЗАНИЕ

Note:

При проверке кодов DTC убедитесь, что система монитора слепых зон включена.

ПОРЯДОК ВЫПОЛНЕНИЯ

  1. ПРОВЕРЬТЕ DTC

    1. Выключите питание.

    2. Включите питание (IG).

    3. Повторно проверьте DTC и убедитесь, что зарегистрированный DTC больше не выводится.

      Body Electrical > Blind Spot Monitor Master > Trouble Codes

      OK

      Коды DTC не выводятся.

    Результат

    Перейти к

    OK

    НЕ СООТВ.

    OK

    ВЫПОЛНИТЕ ПРОВЕРКУ С ИМИТАЦИЕЙ УСЛОВИЙ ВОЗНИКНОВЕНИЯ НЕИСПРАВНОСТИ

    Нажмите здесьClick hereClick hereClick here

    NG
  2. ПРОВЕРЬТЕ ЖГУТ ПРОВОДОВ И РАЗЪЕМ (ЭБУ ЭЛЕКТРОПРИВОДА ЛЕВОГО НАРУЖНОГО ЗЕРКАЛА В СБОРЕ – ЛЕВЫЙ ДАТЧИК СИСТЕМЫ КОНТРОЛЯ СЛЕПЫХ ЗОН И МАССА)

    1. Отсоедините разъем X2 левого датчика системы контроля слепых зон.

    2. Отсоедините разъем N4 ЭБУ электропривода левого наружного зеркала.

    3. Измерьте сопротивление в соответствии со значениями, приведенными в таблице ниже.

      Номинальное сопротивление

      Подключение диагностического прибора

      Условие

      Заданные условия

      X2-4 (OMIL) - N4-13 (BDSL)

      Всегда

      Менее 1 Ом

      N4-7 (GND) - масса

      Всегда

      Менее 1 Ом

    Результат

    Перейти к

    OK

    НЕ СООТВ.

    НЕ СООТВ.

    ОТРЕМОНТИРУЙТЕ ИЛИ ЗАМЕНИТЕ ЖГУТ ПРОВОДОВ ИЛИ РАЗЪЕМ

    СООТВ
  3. ПРОВЕРЬТЕ ЭБУ ЭЛЕКТРОПРИВОДА ЛЕВОГО НАРУЖНОГО ЗЕРКАЛА В СБОРЕ

    1. Отсоедините разъем z28 левого наружного зеркала заднего вида в сборе.

    2. E233744C88

      *a

      Устройство с неподсоединенным жгутом проводов

      (ЭБУ электропривода левого наружного зеркала в сборе)

      Измерьте сопротивление в соответствии со значениями, приведенными в таблице ниже.

      Номинальное сопротивление

      Подключение диагностического прибора

      Условие

      Заданные условия

      N4-13 (BDSL) - z28-8 (BSM+)

      Всегда

      Менее 1 Ом

      N4-7 (GND) - z28-12 (TRN-)

      Всегда

      Менее 1 Ом

    Результат

    Перейти к

    OK

    НЕ СООТВ.

    НЕ СООТВ.

    ЗАМЕНИТЕ ЭБУ ЭЛЕКТРОПРИВОДА НАРУЖНОГО ЛЕВОГО ЗЕРКАЛА

    Нажмите здесьClick here

    СООТВ
  4. ПРОВЕРЬТЕ ЛЕВОЕ НАРУЖНОЕ ЗЕРКАЛО ЗАДНЕГО ВИДА В СБОРЕ

    1. Отсоедините разъем IND1 левого наружного зеркала.

    2. Измерьте сопротивление в соответствии со значениями, приведенными в таблице ниже.

      Номинальное сопротивление

      Подключение диагностического прибора

      Условие

      Заданные условия

      z28-8 (BSM+) - IND1-3 (+)

      Всегда

      Менее 1 Ом

      z28-12 (TRN-) - IND1-2 (-)

      Всегда

      Менее 1 Ом

    Результат

    Перейти к

    OK

    НЕ СООТВ.

    НЕ СООТВ.

    ЗАМЕНИТЕ ЛЕВОЕ НАРУЖНОЕ ЗЕРКАЛО ЗАДНЕГО ВИДА В СБОРЕ

    Нажмите здесьClick here

    СООТВ
  5. ПРОВЕРЬТЕ ЛЕВОЕ НАРУЖНОЕ ЗЕРКАЛО

    1. Снимите левое наружное зеркало.

      Нажмите здесьClick here

    2. Проверьте индикатор левого наружного зеркала заднего вида на левом наружном зеркале.

      Нажмите здесьClick here

    Результат

    Перейти к

    OK

    НЕ СООТВ.

    OK

    ЗАМЕНИТЕ ЛЕВЫЙ ДАТЧИК СИСТЕМЫ КОНТРОЛЯ СЛЕПЫХ ЗОН

    Нажмите здесьClick hereClick hereClick here

    NG

    ЗАМЕНИТЕ ЛЕВОЕ НАРУЖНОЕ ЗЕРКАЛО

    Нажмите здесьClick here