ВАКУУМНЫЙ НАСОС (для моделей с 3ZR-FAE) ПРОВЕРКА

ПОРЯДОК ВЫПОЛНЕНИЯ

  1. ПРОВЕРЬТЕ ТУРБИНУ ВАКУУМНОГО НАСОСА

    1. C169339C03

      *1

      Крышка турбины вакуумного насоса

      *2

      Турбина вакуумного насоса

      Убедитесь, что турбина и крышки турбины вакуумного насоса не повреждены и не подверглись значительному износу.

      Tip:

      Если турбина или крышки турбины вакуумного насоса повреждены либо сильно изношены, замените поврежденные детали новыми.

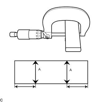
    2. C169340E01

      С помощью микрометра измерьте длину А турбины вакуумного насоса при снятых крышках турбины.

      Минимально допустимая длина А

      23,8 мм (0,937 дюйма)

      Tip:

      Если длина не соответствует указанной, замените турбину и крышки турбины вакуумного насоса на новые.

      Note:

      Измерьте длину 10 мм (0,394 дюйма) от каждого из торцов турбины вакуумного насоса.

    3. C169342C05

      *1

      Турбина вакуумного насоса

      *2

      Крышка турбины вакуумного насоса

      *a

      5 мм (0,197 дюйма)

      С помощью штангенциркуля измерьте длину В турбины вакуумного насоса при установленных крышках турбины.

      Минимальная длина B

      76,0 мм (3,00 дюйма)

      Tip:

      Если длина не соответствует указанной, замените турбину и крышки турбины вакуумного насоса на новые.

      Note:

      Измерьте длину 5 мм (0,197 дюйма) от каждого из торцов крышек турбины вакуумного насоса.

  2. ПРОВЕРЬТЕ КОРПУС ВАКУУМНОГО НАСОСА

    1. C169338

      Убедитесь, что вал, муфта, корпус и торцевая крышка вакуумного насоса не повреждены и не подверглись значительному износу.

      Tip:

      Если вал, муфта, корпус и торцевая крышка вакуумного насоса повреждены либо сильно изношены, замените вакуумный насос в сборе.