QUARTER WHEEL HOUSING OUTER PANEL ASSEMBLY REPLACEMENT



  1. REMOVAL

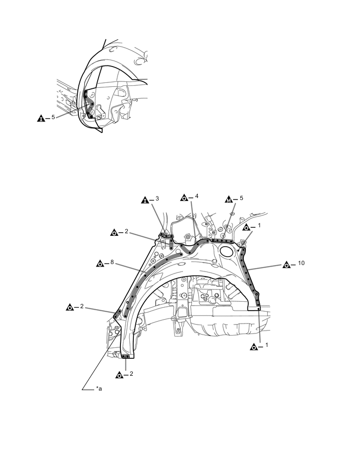
    Symbol meaning
    A0050K6 Remove Weld Points
    A0050HS Remove Weld Points
    A0050JA Remove Weld Points
    A0050FX Cut and Join Location

      REMOVAL POINT

    1. *1 is reused.

    2. After removing the *1 and roof side panel outer remove the quarter wheel house panel outer.

    A0050KOE02
    A0050MGE02
    *a QUARTER WHEEL HOUSE PANEL OUTER
    A0050GJE02
    A0050IZE03
    *a QUARTER WHEEL HOUSE PANEL OUTER
  2. INSTALLATION

    Symbol meaning
    A0050GV Spot Weld
    A0050CS Plug Weld
    A0050L9 Plug Weld
    A0050HG Plug Weld
    A0050IX Butt Weld
    A0050KI Body Sealer
    A0050GY Assembly Mark

      INSTALLATION POINT

    1. For positioning of the new parts, align the installation standard holes of the outer panel and the inner panel.

    2. When welding *1, make a hole on a new part for plug welding and weld the panel with the panel behind completely.

    3. Before installing a new part, apply body sealer.

      Tech Tips

      Apply body sealer in an even, continuous bead.

    4. After welding the quarter wheel house panel outer to the vehicle side, install the roof side panel outer and *2.

    5. After welding, apply body sealer and undercoating to the corresponding parts. (See the painting / coating)

    6. After applying the top coat, apply anti-rust agent to the internal panel portion of the closed section structural weld points.

    A0050DRE01
    A0050LJE01
    A0050I9E01
    *1 QUARTER WHEEL HOUSE PANEL OUTER
    A0050MUE01