AIRBAG SYSTEM(w/o Occupant Classification System), Diagnostic DTC:B1900/73,B1901/73,B1902/73 and B1903/73

DTC Code DTC Name
B1900/73 Short in Front Pretensioner Squib RH Circuit
B1901/73 Open in Front Pretensioner Squib RH Circuit
B1902/73 Short to GND in Front Pretensioner Squib RH Circuit
B1903/73 Short to B+ in Front Pretensioner Squib RH Circuit

DESCRIPTION

The front pretensioner squib RH circuit consists of the airbag sensor assembly and front seat outer belt assembly RH.

This circuit instructs the SRS to deploy when deployment conditions are met.

These DTCs are stored when a malfunction is detected in the front pretensioner squib RH circuit.

DTC No.

Detection Item

DTC Detection Condition

Trouble Area

B1900/73

Short in Front Pretensioner Squib RH Circuit

One of the following conditions is met:

  • The airbag sensor assembly detects a line short circuit signal 5 times in the front pretensioner squib RH circuit during the primary check.

  • A front pretensioner squib RH malfunction.

  • A airbag sensor assembly malfunction.

  • Floor wire

  • Front seat outer belt assembly RH (Front pretensioner squib RH)

  • Airbag sensor assembly

B1901/73

Open in Front Pretensioner Squib RH Circuit

One of the following conditions is met:

  • The airbag sensor assembly detects an open circuit signal in the front pretensioner squib RH circuit for 2 seconds.

  • A front pretensioner squib RH malfunction.

  • A airbag sensor assembly malfunction.

  • Floor wire

  • Front seat outer belt assembly RH (Front pretensioner squib RH)

  • Airbag sensor assembly

B1902/73

Short to GND in Front Pretensioner Squib RH Circuit

One of the following conditions is met:

  • The airbag sensor assembly detects a short circuit to ground signal in the front pretensioner squib RH circuit for 0.5 seconds.

  • A front pretensioner squib RH malfunction.

  • A airbag sensor assembly malfunction.

  • Floor wire

  • Front seat outer belt assembly RH (Front pretensioner squib RH)

  • Airbag sensor assembly

B1903/73

Short to B+ in Front Pretensioner Squib RH Circuit

One of the following conditions is met:

  • The airbag sensor assembly detects a short circuit to B+ signal in the front pretensioner squib RH circuit for 0.5 seconds.

  • A front pretensioner squib RH malfunction.

  • A airbag sensor assembly malfunction.

  • Floor wire

  • Front seat outer belt assembly RH (Front pretensioner squib RH)

  • Airbag sensor assembly

WIRING DIAGRAM

C253326E48

CAUTION / NOTICE / HINT

Note:
  • After turning the power switch off, waiting time may be required before disconnecting the cable from the negative (-) auxiliary battery terminal. Therefore, make sure to read the disconnecting the cable from the negative (-) auxiliary battery terminal notices before proceeding with work.

    Click hereClick hereClick hereClick here

  • When disconnecting the cable from the negative (-) auxiliary battery terminal while performing repairs, some systems need to be initialized after the cable is reconnected.

    Click hereClick hereClick here

  • After replacing the airbag sensor assembly, refer to initialization.

    Click hereClick hereClick here

Tip:

To perform the simulation method, enter check mode (signal check) with the GTS (Click here), and then wiggle each connector of the airbag system or drive the vehicle on various types of road (Click here).

PROCEDURE

  1. CHECK FRONT SEAT OUTER BELT ASSEMBLY RH (FRONT PRETENSIONER SQUIB RH)

    1. C279124C01

      *1

      Front Pretensioner Squib RH

      *2

      Airbag Sensor Assembly

      *3

      Connector C

      *a

      Front view of wire harness connector

      (to Front Pretensioner Squib RH)

      Turn the power switch off.

    2. Disconnect the cable from the negative (-) auxiliary battery terminal, and wait for at least 90 seconds.

    3. Disconnect the connectors from the front seat outer belt assembly RH.

    4. Connect the white wire side of SST (resistance: 2.1 Ω) to connector C.

      CAUTION:

      Never connect the tester to the front seat outer belt assembly RH (front pretensioner squib RH) for measurement, as this may lead to a serious injury due to airbag deployment.

      Note:
      • Do not forcibly insert SST into the terminals of the connector when connecting SST.

      • Insert SST straight into the terminals of the connector.

    5. Connect the cable to the negative (-) auxiliary battery terminal, and wait for at least 2 seconds.

    6. Turn the power switch to on (IG), and wait for at least 60 seconds.

    7. Clear the DTCs.

      Click here

      Body Electrical > SRS Airbag > Clear DTCs

    8. Turn the power switch off.

    9. Turn the power switch to on (IG), and wait for at least 60 seconds.

    10. Check for DTCs.

      Click here

      Body Electrical > SRS Airbag > Trouble Codes

      Result

      Proceed to

      DTC B1900/73, B1901/73, B1902/73 or B1903/73 is not output

      DTC B1900/73, B1901/73, B1902/73 or B1903/73 is output

      Tip:

      Codes other than DTC B1900/73, B1901/73, B1902/73 and B1903/73 may be output at this time, but they are not related to this check.

    11. Turn the power switch off.

    12. Disconnect the cable from the negative (-) auxiliary battery terminal, and wait for at least 90 seconds.

    13. Disconnect SST from connector C.

    09843-18061

    DTC B1900/73, B1901/73, B1902/73 or B1903/73 is not output

    REPLACE FRONT SEAT OUTER BELT ASSEMBLY RH

    DTC B1900/73, B1901/73, B1902/73 or B1903/73 is output
  2. CHECK CONNECTOR

    1. Disconnect the connectors from the airbag sensor assembly.

    2. C208251C04

      *1

      Front Pretensioner Squib RH

      *2

      Floor Wire

      *3

      Airbag Sensor Assembly

      Check that the connectors (on the airbag sensor assembly side and front seat outer belt assembly RH side) are not damaged.

      OK

      The lock button is not disengaged, and the claw of the lock is not deformed or damaged.

    Result

    Proceed to

    OK

    NG

    NG

    REPLACE FLOOR WIRE

    OK
  3. CHECK FRONT PRETENSIONER SQUIB RH CIRCUIT

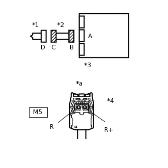
    1. C279125C01

      *1

      Front Pretensioner Squib RH

      *2

      Floor Wire

      *3

      Airbag Sensor Assembly

      *4

      Connector C

      *a

      Front view of wire harness connector

      (to Front Pretensioner Squib RH)

      Connect the cable to the negative (-) auxiliary battery terminal, and wait for at least 2 seconds.

    2. Turn the power switch to on (IG).

    3. Measure the voltage according to the value(s) in the table below.

      Standard Voltage

      Tester Connection

      Switch Condition

      Specified Condition

      M5-1 (R-) - Body ground

      Power switch on (IG)

      Below 1 V

      M5-2 (R+) - Body ground

      Power switch on (IG)

      Below 1 V

    4. Turn the power switch off.

    5. Disconnect the cable from the negative (-) auxiliary battery terminal, and wait for at least 90 seconds.

    6. Measure the resistance according to the value(s) in the table below.

      Standard Resistance

      Tester Connection

      Condition

      Specified Condition

      M5-1 (R-) - M5-2 (R+)

      Always

      Below 1 Ω

    7. Release the activation prevention mechanism built into connector B.

      Click here

    8. Measure the resistance according to the value(s) in the table below.

      Standard Resistance

      Tester Connection

      Condition

      Specified Condition

      M5-1 (R-) - M5-2 (R+)

      Always

      1 MΩ or higher

    9. Restore the released activation prevention mechanism of connector B to its original condition.

    10. Measure the resistance according to the value(s) in the table below.

      Standard Resistance

      Tester Connection

      Condition

      Specified Condition

      M5-1 (R-) - Body ground

      Always

      1 MΩ or higher

      M5-2 (R+) - Body ground

      Always

      1 MΩ or higher

    Result

    Proceed to

    OK

    NG

    NG

    REPLACE FLOOR WIRE

    OK
  4. CHECK AIR BAG SENSOR ASSEMBLY

    1. C207519C01

      *1

      Front Pretensioner Squib RH

      *2

      Airbag Sensor Assembly

      Connect the connectors to the front seat outer belt assembly RH and airbag sensor assembly.

    2. Connect the cable to the negative (-) auxiliary battery terminal, and wait for at least 2 seconds.

    3. Turn the power switch to on (IG), and wait for at least 60 seconds.

    4. Clear the DTCs stored in memory.

      Click here

      Body Electrical > SRS Airbag > Clear DTCs

    5. Turn the power switch off.

    6. Turn the power switch to on (IG), and wait for at least 60 seconds.

    7. Check for DTCs.

      Click here

      Body Electrical > SRS Airbag > Trouble Codes

      Result

      Proceed to

      DTC B1900/73, B1901/73, B1902/73 or B1903/73 is not output

      DTC B1900/73, B1901/73, B1902/73 or B1903/73 is output

      Tip:

      Codes other than DTC B1900/73, B1901/73, B1902/73 and B1903/73 may be output at this time, but they are not related to this check.

    DTC B1900/73, B1901/73, B1902/73 or B1903/73 is not output

    USE SIMULATION METHOD TO CHECK

    DTC B1900/73, B1901/73, B1902/73 or B1903/73 is output

    REPLACE AIR BAG SENSOR ASSEMBLY