FRONT DRIVE SHAFT ASSEMBLY(for 8AR-FTS) REASSEMBLY

CAUTION / NOTICE / HINT

Note


  • When using a vise, place aluminum plates between the part and vise.

  • When using a vise, do not overtighten it.

PROCEDURE


  1. INSTALL FRONT DRIVE SHAFT BEARING (for RH Side)


    1. A01XPKKN01

      Using SST and a press, press in the front drive inboard joint assembly RH until the new front drive shaft bearing contacts the edge of the front drive inboard joint assembly RH.

      for 2WD:

      SST
      09527-10011
      09710-30012   ( 09710-04081 )

      for AWD:

      SST
      09527-10011
      09710-18050   ( 09711-01090 )

      Note


      • Make sure the front drive shaft bearing contacts the edge of the front drive inboard joint assembly RH, but do not press it in more than necessary.

      • Do not apply weight to the dust cover and outer race of the front drive shaft bearing.

    2. A01XP3H

      Using a snap ring expander, install a new snap ring.

      Note

      The snap ring should be installed completely.

  2. INSTALL FRONT DRIVE SHAFT DUST COVER LH


    1. A01XOQNN01

      Using SST and a press, press in the front drive inboard joint assembly LH until the new front drive shaft dust cover LH contacts the edge of the front drive inboard joint assembly LH.

      SST
      09527-10011

      Note


      • Do not damage the front drive shaft dust cover LH.

      • The front drive shaft dust cover LH should be installed completely.

      • Make sure to install the front drive shaft dust cover LH in the correct direction.

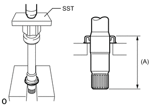
  3. INSTALL FRONT DRIVE SHAFT DUST COVER RH


    1. A01XNTZC01

      for 2WD:

      Using SST and a press, install a new front drive shaft dust cover RH to the front drive inboard joint assembly RH until the distance from the tip of the front drive inboard joint assembly RH to the front drive shaft dust cover RH reaches the specification as shown in the illustration.

      SST
      09527-10011
      Standard distance (A)
      115.5 to 116.5 mm (4.548 to 4.586 in.)

      Note


      • Do not damage the front drive shaft dust cover RH.

      • The Front drive shaft dust cover RH should be installed completely.

      • Make sure to install the front drive shaft dust cover RH in the correct direction.

    2. A01XOBVN01

      for AWD:

      Using SST and a press, install a new front drive shaft dust cover RH to the front drive inboard joint assembly RH as shown in the illustration.

      SST
      09527-10011
      Standard distance (A)
      87.3 to 88.3 mm (3.437 to 3.476 in.)

      Note


      • Do not damage the front drive shaft dust cover RH.

      • The Front drive shaft dust cover RH should be installed completely.

      • Make sure to install the front drive shaft dust cover RH in the correct direction.

  4. INSTALL FRONT AXLE OUTBOARD JOINT BOOT (for LH Side)


    1. A01XO5NC05
      *a Protective Tape

      Before installing the front axle outboard joint boot, wrap the splines of the front drive outboard joint shaft assembly LH with protective tape to prevent the front axle outboard joint boot from being damaged.

    2. A01XNN1C01
      *1 Front No. 2 Axle Outboard Joint Boot Clamp LH
      *2 Front Axle Outboard Joint Boot
      *3 Front Axle Outboard Joint Boot Clamp LH
      *4 Front Drive Outboard Joint Shaft Assembly LH
      B008IUL Outboard Joint Side
      B008H52 Inboard Joint Side

      Install new parts to the front drive outboard joint shaft assembly LH in the following order.


      1. Front No. 2 axle outboard joint boot clamp LH

      2. Front axle outboard joint boot

      3. Front axle outboard joint boot clamp LH

    3. Install the front axle outboard joint boot so that it is between the front No. 2 axle outboard joint boot clamp LH and front drive outboard joint shaft assembly LH.

    4. Temporarily install the front axle outboard joint boot clamp LH to the front axle outboard joint boot.

    5. Pack the front drive outboard joint shaft assembly LH and front axle outboard joint boot with grease from the boot kit.

      Standard Grease Capacity
      164.0 to 184.0 g (5.79 to 6.48 oz)
    6. Install the front axle outboard joint boot to the groove of the front drive outboard joint shaft assembly LH.

      Note


      • Do not apply grease to the part of the front axle outboard joint boot that contacts the groove.

      • Do not allow foreign matter to enter the front axle outboard joint boot.

  5. INSTALL FRONT NO. 2 AXLE OUTBOARD JOINT BOOT CLAMP LH


    1. Install SST to the front No. 2 axle outboard joint boot clamp LH, and then while pressing the front axle outboard joint boot, slightly tighten the SST bolt.

      SST
      09521-24010

      Note


      • Correctly set the front No. 2 axle outboard joint boot clamp LH to the guide groove.

      • Do not damage the front axle outboard joint boot.

    2. A01XOPPC02
      *a Turn
      *b Hold

      Tighten SST so that the front No. 2 axle outboard joint boot clamp LH is pinched.

      Standard Clearance
      0.5 to 1.5 mm (0.0197 to 0.0590 in.)

      Note


      • When tightening SST, make sure the clearance of the front No. 2 axle outboard joint boot clamp LH is within the standard clearance.

      • Do not damage the front axle outboard joint boot.

    3. Remove SST from the front No. 2 axle outboard joint boot clamp LH.

    4. A01XPKIN07

      Using SST, measure the clearance of the front No. 2 axle outboard joint boot clamp LH.

      SST
      09240-00020
      Standard Clearance
      0.5 to 1.5 mm (0.0197 to 0.0590 in.)

      Note


      • If the measured value exceeds the specified value, retighten the front No. 2 axle outboard joint boot clamp LH.

      • If the result is lower than the specified range, install a new front No. 2 axle outboard joint boot clamp LH.

  6. INSTALL FRONT AXLE OUTBOARD JOINT BOOT CLAMP LH

    Tech Tips

    Use the same procedure described for the front No. 2 axle outboard joint boot clamp LH.

  7. INSTALL FRONT DRIVE SHAFT DAMPER LH


    1. A01XO4BC01
      *1 Front Drive Shaft Damper Clamp LH
      *2 Front Drive Shaft Damper LH

      Install 2 new front drive shaft damper clamp LH and the front drive shaft damper LH onto the front drive outboard joint shaft assembly LH.

    2. Adjust the position of the drive shaft damper LH so that the distance shown in the illustration is within the specified range.

      Standard Distance (A)
      214.0 to 220.0 mm (8.426 to 8.661 in.)
  8. INSTALL FRONT DRIVE SHAFT DAMPER RH

    Tech Tips

    Use the same procedure described for the LH side.

  9. INSTALL FRONT DRIVE SHAFT DAMPER CLAMP LH

    Tech Tips

    Use the same procedure for each front drive shaft damper clamp LH.


    1. Install SST to the front drive shaft damper clamp LH, and then while pressing the front drive shaft damper LH, slightly tighten the SST bolt.

      SST
      09521-24010

      Note

      Correctly set the front drive shaft damper clamp LH to the guide groove.

    2. A01XP1YC05
      *a Turn
      *b Hold

      Tighten SST so that the front drive shaft damper clamp LH is pinched.

      Standard Clearance
      0.5 to 1.5 mm (0.0197 to 0.0590 in.)

      Note

      When tightening SST, make sure the clearance of the front drive shaft damper clamp LH is within the standard clearance.

    3. Remove SST from the front drive shaft damper clamp LH.

    4. A01XOSKN01

      Using SST, measure the clearance of the front drive shaft damper clamp LH.

      SST
      09240-00020
      Standard Clearance
      0.5 to 1.5 mm (0.0197 to 0.0590 in.)

      Note


      • If the measured value exceeds the specified value, retighten the front drive shaft damper clamp LH.

      • If the result is lower than the specified range, install a new front drive shaft damper clamp LH.

  10. INSTALL FRONT DRIVE SHAFT DAMPER CLAMP RH

    Tech Tips

    Use the same procedure described for the LH side.

  11. INSTALL FRONT DRIVE INBOARD JOINT ASSEMBLY LH


    1. A01XNM2C01
      *1 Front Axle Inboard Joint Boot Clamp LH
      *2 Front Axle Inboard Joint Boot
      *3 Front No. 2 Axle Inboard Joint Boot Clamp LH
      *a Protective Tape
      B008IUL Outboard Joint Side
      B008H52 Inboard Joint Side

      Install new parts to the front drive outboard joint shaft assembly LH in the following order.


      1. Front axle inboard joint boot clamp LH

      2. Front axle inboard joint boot

      3. Front No. 2 axle inboard joint boot clamp LH

    2. Remove the protective tape from the front drive outboard joint shaft assembly LH.

    3. A01XPJKC01
      *a Matchmark
      B008IUL Inboard Joint Side

      Align the matchmarks and place the beveled side of the tripod joint axial spline toward the front drive outboard joint shaft assembly LH.

      Note

      Face the cut edge of the spline toward the inboard joint side and insert the spline onto the front drive outboard joint shaft assembly LH.

    4. A01XOK4

      Using a brass bar and hammer, tap the tripod joint onto the front drive outboard joint shaft assembly LH.

      Note


      • Do not tap the rollers.

      • Be sure to install the tripod in the correct direction.

    5. A01XOUD

      Using a snap ring expander, install a new shaft snap ring.

      Note

      The shaft snap ring should be installed completely.

    6. Pack the front drive inboard joint assembly LH and front axle inboard joint boot with grease from the boot kit.

      Standard Grease Capacity
      140.0 to 160.0 g (4.94 to 5.64 oz)
    7. A01XOAVC05
      *a Matchmark

      Align the matchmarks and install the front drive inboard joint assembly LH to the front drive outboard joint shaft assembly LH.

  12. INSTALL FRONT DRIVE INBOARD JOINT ASSEMBLY RH

    Tech Tips

    Use the same procedure described for the LH side.

  13. INSTALL FRONT AXLE INBOARD JOINT BOOT

    Tech Tips

    Use the same procedure for the RH and LH sides.


    1. Install the front axle inboard joint boot to the front drive inboard joint assembly.

      Note


      • Do not apply grease to the part of the front axle inboard joint boot that contacts the groove.

      • Do not allow foreign matter to enter the front axle inboard joint boot.

    2. A01XP69C05
      *A for LH Side
      *B for RH Side

      Check that the front axle inboard joint boot and front axle outboard joint boot are not stretched or contracted when the front drive shaft assembly is at the standard length.

      Length (A)
      Item Length
      LH Side 575.2 mm (1.89 ft.)
      RH Side for 2WD 922.5 mm (3.03 ft.)
      for AWD 921.0 mm (3.02 ft.)

      Note

      Keep the front drive shaft assembly level during inspection.

      If the front axle inboard joint boot and front axle outboard joint boot are stretched or contracted, correct them.

  14. INSTALL FRONT AXLE INBOARD JOINT BOOT CLAMP LH


    1. Install SST to the front axle inboard joint boot clamp LH, and then while pressing the front axle inboard joint boot, slightly tighten the SST bolt.

      SST
      09521-24010

      Note


      • Correctly set the front axle inboard joint boot clamp LH to the guide groove.

      • Do not damage the front axle inboard joint boot.

    2. A01XOQVC03
      *a Turn
      *b Hold

      Tighten SST so that the front axle inboard joint boot clamp LH is pinched.

      Standard Clearance
      0.5 to 1.5 mm (0.0197 to 0.0590 in.)

      Note


      • When tightening SST, make sure the clearance of the front axle inboard joint boot clamp LH is within the standard clearance.

      • Do not damage the front axle inboard joint boot.

    3. Remove SST from the front axle inboard joint boot clamp LH.

    4. A01XO1XN04

      Using SST, measure the clearance of the front axle inboard joint boot clamp LH.

      SST
      09240-00020
      Standard Clearance
      0.5 to 1.5 mm (0.0197 to 0.0590 in.)

      Note


      • If the measured value exceeds the specified value, retighten the front axle inboard joint boot clamp LH.

      • If the result is lower than the specified range, install a new front axle inboard joint boot clamp LH.

  15. INSTALL FRONT AXLE INBOARD JOINT BOOT CLAMP RH

    Tech Tips

    Use the same procedure described for the LH side.

  16. INSTALL FRONT NO. 2 AXLE INBOARD JOINT BOOT CLAMP LH


    1. A01XNNXC01
      *a Claw Engagement

      Install the front No. 2 axle inboard joint boot clamp LH to the front axle inboard joint boot.

      Note

      Correctly set the front No. 2 axle inboard joint boot clamp LH to the guide groove.

    2. Using needle-nose pliers, hold the front No. 2 axle inboard joint boot clamp LH at the claw engagement.

      Note


      • Do not damage the front axle inboard joint boot.

      • Do not deform the claw engagement of the front No. 2 axle inboard joint boot clamp LH.

  17. INSTALL FRONT NO. 2 AXLE INBOARD JOINT BOOT CLAMP RH

    Tech Tips

    Use the same procedure described for the LH side.

  18. INSPECT FRONT DRIVE SHAFT

    Click here