СИСТЕМА ПЕРЕДАЧИ ДАННЫХ CAN ОБЩАЯ СХЕМА СИСТЕМЫ

Figure 1. Шина 2 (для моделей с правосторонним рулевым управлением)
Y219078E04
Y219079E03
Figure 2. Шина 2 (для моделей с левосторонним рулевым управлением)
Y222226E01
Y222227E01
Figure 3. Шина 3
Y219086E03
Figure 4. Шина 5
Y219077E02
Figure 5. Вспомогательная шина 1 (для моделей с правосторонним рулевым управлением)
Y219080E04
Figure 6. Вспомогательная шина 1 (для моделей с левосторонним рулевым управлением)
Y222228E02
Figure 7. Шина V
Y219087E02
Figure 8. Локальная шина
Y219088E04
Figure 9. Локальная шина (для моделей с трехлучевыми фарами без системы AHS)
Y222239E01
Figure 10. Локальная шина (для моделей с системой панорамного обзора)
Y219091E03
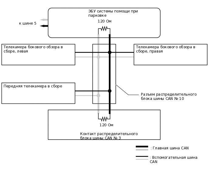
Figure 11. Локальная шина (для моделей с системой контроля слепых зон)
Y166227E08
Figure 12. Локальная шина
Y219092E04