АНТЕННЫЙ ПРОВОД НА ОКОННОМ СТЕКЛЕ РЕМОНТ

ПОРЯДОК ВЫПОЛНЕНИЯ

  1. ОТРЕМОНТИРУЙТЕ АНТЕННЫЙ ПРОВОД НА ОКОННОМ СТЕКЛЕ

    B063722C28

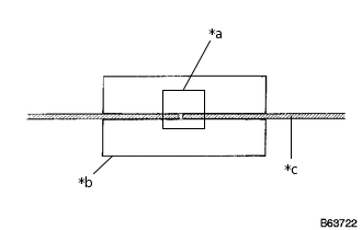
    *a

    Место ремонта

    *b

    Изоляционная лента

    *c

    Нить с обрывом

    1. Обработайте концы оборванной нити средством для удаления смазочных, полировочных и силиконовых материалов.

    2. Наклейте полоску изоленты по обеим сторонам нити для ремонта.

    3. Тщательно замешайте восстановительную смесь (паста DuPont № 4817 или аналогичная).

    4. B063723C23

      *a

      Тонкая кисточка

      *b

      Место ремонта

      При помощи тонкой кисточки нанесите небольшое количество восстановительной пасты на нить.

    5. Через несколько минут снимите изоляционную ленту.