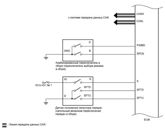
СИСТЕМА АВТОМАТИЧЕСКОЙ ТРАНСМИССИИ СХЕМА СИСТЕМЫ

C341604E01
C341536E03
C335037E03