БОКОВАЯ ПАНЕЛЬ ЗАДНЕГО ПОЛА ЗАМЕНА УЗЛОВ
-
Со снятой задней панелью днища кузова.
СНЯТИЕ
Значения символов

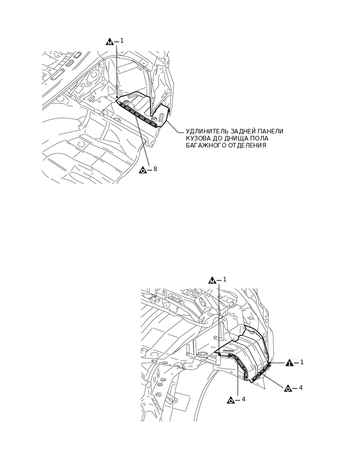
Точки сварки при снятии

Точки сварки при снятии

Точки сварки при снятии

Обрежьте, например, с помощью шлифовальной машины
УСТАНОВКА
Значения символов

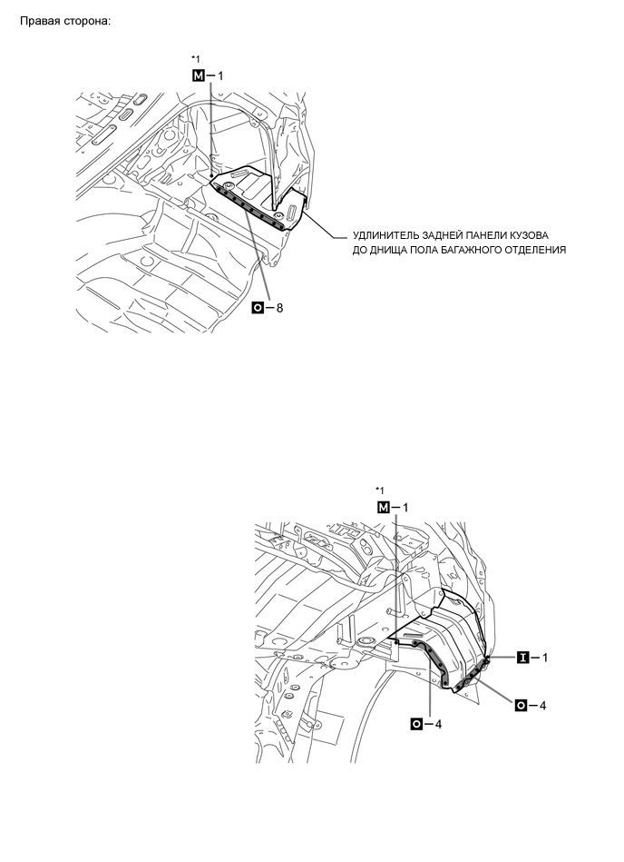
Сварка электрозаклепкой

Сварка электрозаклепкой

Сварка электрозаклепкой
ТОЧКА СНЯТИЯ
После снятия боковой панели заднего пола и кронштейна заднего бампера снимите удлинитель между днищем заднего пола и наружной задней боковой панелью.
ТОЧКА УСТАНОВКИ
При сварке детали *1 проделайте отверстие в новой детали для сварки электрозаклепкой и полностью приварите панель к панели сзади.
После приваривания удлинителя между днищем заднего пола и наружной задней боковой панелью к кузову установите боковую панель заднего пола и кронштейн заднего бампера.
После сварки нанесите герметик для кузова на соответствующие детали (См. раздел "Лакокрасочное покрытие".)
После нанесения верхнего слоя покрытия нанесите антикоррозийное средство на сварные точки несущих рабочую нагрузку швов замкнутого профиля с внутренней стороны панели.