СИСТЕМА КОНТРОЛЯ СЛЕПЫХ ЗОН, диагностический DTC:C1AB3

Код DTC Наименование DTC
C1AB3 Короткое замыкание на GND в цепи индикатора наружного зеркала (подчиненное устройство)

ОПИСАНИЕ

Этот код DTC регистрируется, когда правый датчик системы контроля слепых зон обнаруживает короткое замыкание на массу в цепи индикатора правого наружного зеркала заднего вида.

№ DTC

Неисправность

Условие обнаружения DTC

Неисправный участок

C1AB3

Короткое замыкание на GND в цепи индикатора наружного зеркала (подчиненное устройство)

  • При выполнении обоих следующих условий:

  • Система контроля слепых зон включена

  • Ток, подаваемый с датчика системы контроля слепых зон на индикатор, превышает определенный уровень в течение определенного времени.

  • Правое наружное зеркало

  • Правое наружное зеркало заднего вида в сборе

  • Жгут проводов или разъем

  • Правый датчик системы контроля слепых зон

  • ЭБУ электропривода правого наружного зеркала в сборе

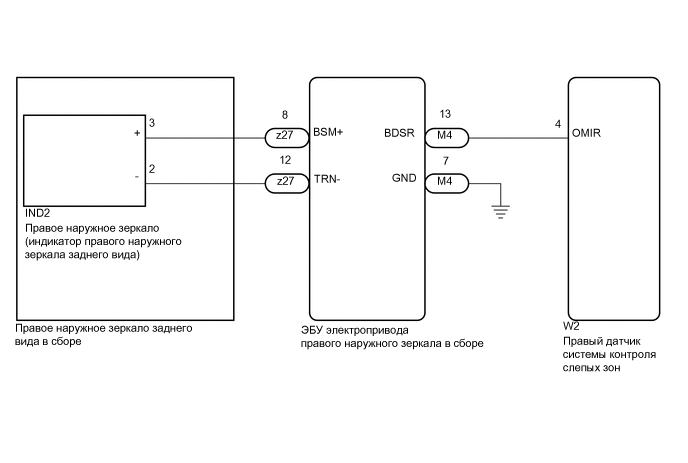
СХЕМА СОЕДИНЕНИЙ

E329056E11

ПРЕДОСТЕРЕЖЕНИЕ / ПРИМЕЧАНИЕ / УКАЗАНИЕ

Note:

При проверке кодов DTC убедитесь, что система монитора слепых зон включена.

ПОРЯДОК ВЫПОЛНЕНИЯ

  1. ПРОВЕРЬТЕ DTC

    1. Выключите питание.

    2. Включите питание (IG).

    3. Повторно проверьте DTC и убедитесь, что зарегистрированный DTC больше не выводится.

      Body Electrical > Blind Spot Monitor Slave > Trouble Codes

      OK

      Коды DTC не выводятся.

    Результат

    Перейти к

    OK

    НЕ СООТВ.

    OK

    ВЫПОЛНИТЕ ПРОВЕРКУ С ИМИТАЦИЕЙ УСЛОВИЙ ВОЗНИКНОВЕНИЯ НЕИСПРАВНОСТИ

    Нажмите здесьClick hereClick hereClick here

    NG
  2. ПРОВЕРЬТЕ ЖГУТ ПРОВОДОВ И РАЗЪЕМ (ПРАВЫЙ ДАТЧИК СИСТЕМЫ КОНТРОЛЯ СЛЕПЫХ ЗОН - ЭБУ ЭЛЕКТРОПРИВОДА ПРАВОГО НАРУЖНОГО ЗЕРКАЛА)

    1. Отсоедините разъем W2 правого датчика системы контроля слепых зон.

    2. Отсоедините разъем M4 ЭБУ электропривода правого наружного зеркала.

    3. Измерьте сопротивление в соответствии со значениями, приведенными в таблице ниже.

      Номинальное сопротивление

      Подключение диагностического прибора

      Условие

      Заданные условия

      W2-4 (OMIR) - масса

      Всегда

      10 кОм или более

    Результат

    Перейти к

    OK

    НЕ СООТВ.

    НЕ СООТВ.

    ОТРЕМОНТИРУЙТЕ ИЛИ ЗАМЕНИТЕ ЖГУТ ПРОВОДОВ ИЛИ РАЗЪЕМ

    СООТВ
  3. ПРОВЕРЬТЕ ПРАВОЕ НАРУЖНОЕ ЗЕРКАЛО ЗАДНЕГО ВИДА В СБОРЕ

    1. Отсоедините разъем z27 правого наружного зеркала заднего вида в сборе.

    2. Отсоедините разъем IND2 правого наружного зеркала.

    3. Измерьте сопротивление в соответствии со значениями, приведенными в таблице.

      Номинальное сопротивление

      Подключение диагностического прибора

      Условие

      Заданные условия

      z27-8 (BSM+) - масса

      Всегда

      10 кОм или более

    Результат

    Перейти к

    OK

    НЕ СООТВ.

    НЕ СООТВ.

    ЗАМЕНИТЕ ПРАВОЕ НАРУЖНОЕ ЗЕРКАЛО ЗАДНЕГО ВИДА В СБОРЕ

    Нажмите здесьClick here

    СООТВ
  4. ПРОВЕРЬТЕ ЭБУ ЭЛЕКТРОПРИВОДА ПРАВОГО НАРУЖНОГО ЗЕРКАЛА В СБОРЕ

    1. E233744C83

      *a

      Устройство с неподсоединенным жгутом проводов

      (ЭБУ электропривода правого наружного зеркала в сборе)

      Измерьте сопротивление в соответствии со значениями, приведенными в таблице.

      Номинальное сопротивление

      Подключение диагностического прибора

      Условие

      Заданные условия

      M4-13 (BDSR) - M4-7 (GND)

      Всегда

      10 кОм или более

    Результат

    Перейти к

    OK

    НЕ СООТВ.

    НЕ СООТВ.

    ЗАМЕНИТЕ ЭБУ ЭЛЕКТРОПРИВОДА НАРУЖНОГО ПРАВОГО ЗЕРКАЛА

    Нажмите здесьClick here

    СООТВ
  5. ПРОВЕРЬТЕ ПРАВОЕ НАРУЖНОЕ ЗЕРКАЛО

    1. Снимите правое наружное зеркало.

      Нажмите здесьClick here

    2. Проверьте индикатор правого наружного зеркала заднего вида на правом наружном зеркале.

      Нажмите здесьClick here

    Результат

    Перейти к

    OK

    НЕ СООТВ.

    OK

    ЗАМЕНИТЕ ПРАВЫЙ ДАТЧИК СИСТЕМЫ КОНТРОЛЯ СЛЕПЫХ ЗОН

    Нажмите здесьClick hereClick hereClick here

    NG

    ЗАМЕНИТЕ ПРАВОЕ НАРУЖНОЕ ЗЕРКАЛО

    Нажмите здесьClick here