TIRE PRESSURE WARNING VALVE INSTALLATION
CAUTION / NOTICE / HINT
Always use a new grommet and valve core when installing the tire pressure warning valve and transmitter.
Check that the washer and nut are not damaged, and replace them if necessary.
Make sure not to damage the urethane covered backside of the tire pressure warning valve and transmitter (the surface opposite to the side with the ID code) with anything sharp.
If installing a new tire pressure warning valve and transmitter, write down the ID number before installation.
Check that there is no oil, water or lubricant around the rim hole, tire pressure warning valve and transmitter, washer and nut. Failing to do so may result in improper installation.
Use only a specified cap. If an unspecified cap is used, it may seize to the tire pressure warning valve and transmitter.
PROCEDURE
INSTALL TIRE PRESSURE WARNING VALVE AND TRANSMITTER
Install a new grommet to the tire pressure warning valve and transmitter.
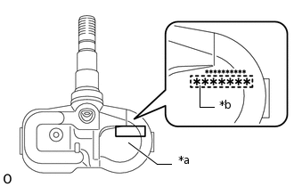
-
*a
Printed Surface
*b
7-digit Number Transmitter ID
Insert the tire pressure warning valve and transmitter into the valve installation hole from the inside of the rim so that the printed surface can be seen.
Note:Check that there is no visible deformation, damage, or other abnormalities on the tire pressure warning valve and transmitter.
Check that there is no foreign matter on the grommet and around the rim hole.
If the tire pressure warning valve and transmitter is installed upside down, it may be damaged or fail to transmit signals when driving at high speeds.
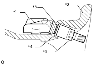
-
*1
Tire Pressure Warning Valve and Transmitter
*2
Rim
*3
Grommet
*4
Washer
*5
Nut
From the outside of the rim, install the washer to the tire pressure warning valve and transmitter, and install the nut.
4.0 N*m
41 kgf*cm
35 in.*lbf
Note:No further tightening is required once the nut is tightened to the specified torque.
Check that there is no foreign matter on the washer and nut.
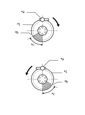
-
*1
Rim
*a
Mount Tool of Mounting Machine
*b
Area for Tire Pressure Warning Valve and Transmitter
*c
60°

Rim Rotation Direction
Set the wheel onto a mounting machine and install the lower bead. Position the main body of the tire pressure warning valve and transmitter in the shaded area shown in the illustration.
Note:If the tire pressure warning valve and transmitter is positioned outside this area, it will interfere with the tire bead and may be damaged.
If the use of lubricant is required when installing the bead, do not apply lubricant directly to the tire pressure warning valve and transmitter.
Install the upper bead.
Note:Make sure that the tire bead and tool do not interfere with the main body of the tire pressure warning valve and transmitter and that it is not clamped by the bead.
Install a new valve core.
After the tire is inflated, the nut may be loose. Retighten the nut to the specified torque.
4.0 N*m
41 kgf*cm
35 in.*lbf
Note:No further tightening is required once the nut is tightened to the specified torque.
Check for air leaks with soapy water.
If there is air leakage, push the valve core 2 or 3 times to remove any dirt attached to the valve core. If air continues to leak, replace the grommet, washer and nut.
Install the cap.
INSTALL FRONT WHEEL
INSTALL REAR WHEEL
INSTALL SPARE TIRE
INSPECT TIRES
REGISTER TRANSMITTER ID
INSPECT TIRE PRESSURE WARNING SYSTEM
PERFORM INITIALIZATION