FRONT SIDE FIX WINDOW GLASS REMOVAL

CAUTION / NOTICE / HINT

Tip:
  • Use the same procedure for the LH side and RH side.

  • The procedure listed below is for the RH side.

PROCEDURE

  1. REMOVE FRONT DOOR SCUFF PLATE LH

  2. REMOVE COWL SIDE TRIM BOARD LH

  3. REMOVE FRONT DOOR OPENING TRIM WEATHERSTRIP LH

  4. REMOVE FRONT PILLAR GARNISH LH

  5. REMOVE FRONT SIDE FIX WINDOW ASSEMBLY LH

    B225170E01
    Note:

    When removing the front side fix window from the vehicle, be careful not to damage the vehicle's paint or interior/exterior ornaments.

    Table 1. Text in Illustration

    *1

    Protective Tape

    1. Apply protective tape to the outer surface of the vehicle body to prevent scratches.

    2. Using a knife, cut off the moulding as shown in the illustration.

      B225173E02
      Table 2. Text in Illustration

      *1

      Moulding

      *2

      Cut

      Note:

      Be careful not to damage the vehicle body with the knife.

    3. Remove the remaining moulding.

      Tip:

      Make a partial cut in the moulding. Then pull and remove it by hand.

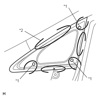
    4. B225172E02

      From the interior, insert a piano wire between the vehicle body and window as shown in the illustration.

      Table 3. Text in Illustration

      *1

      Clip

      *2

      Piano Wire

    5. Tie objects that can serve as handles (for example, wooden blocks) to both wire ends.

    6. Cut through the adhesive by pulling the piano wire around the window.

      Note:

      Leave as much adhesive on the vehicle body as possible when cutting through the adhesive.

    7. Detach the 3 clips and remove the window.

  6. CLEAN VEHICLE BODY

    B073084E24
    1. Clean and shape the contact surface of the vehicle body.

      1. On the contact surface of the vehicle body, use a knife to cut away excess adhesive as shown in the illustration.

        Tip:

        Leave as much adhesive on the vehicle body as possible.

        Note:

        Be careful not to damage the vehicle body.

        Table 4. Text in Illustration

        *1

        Adhesive

        *2

        Vehicle Body

    2. Clean the contact surface of the vehicle body with cleaner.

      Tip:

      Even if all the adhesive has been removed, clean the vehicle body.