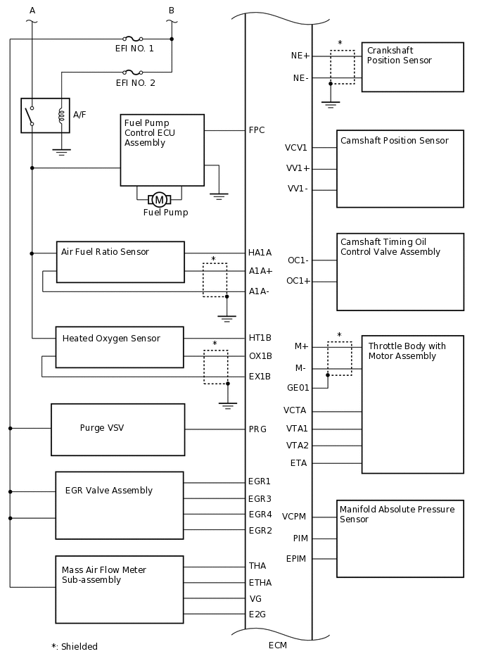
SFI SYSTEM(w/ EGR System) SYSTEM DIAGRAM

A371201E02
A375540E01
A375541E01